·Îº¿ ±â¼ú
·Îº¿°øÇÐ : James G. Keramas Àú¼, À̸¸Çü. °í°æÃ¶. ³ëÅÂÁ¤. ¹ÚÈñÀç. ºÎ±¤¼®. ¾Èº´ÇÏ. À̹Îö. Á¤¿øÁö. Á¦¿ì¼º °ø¿ª, »çÀÌÅØ¹Ìµð¾î, 2000 (¿ø¼ : Robot Technology Fundamentals, Thomson Learning, 1999) , Page 23~48
Á¦¾î±â : ºñ¼º¸ ¼º¸ ¼º¸-Á¦¾î
·Îº¿ ±â¼úÀº °øÀÛ±â°è¿Í ÄÄÇ»ÅÍ ÀÀ¿ë ±â¼úÀÇ °áÇÕÀ¸·Î¼ °£ÁֵǴ ÀÀ¿ë°úÇÐÀÌ´Ù. ·Îº¿ ±â¼úÀº ±â°è¼³°è, Á¦¾îÀÌ·Ð, ¸¶ÀÌÅ©·ÎÀüÀÚ, ÄÄÇ»ÅÍ ÇÁ·Î±×·¡¹Ö, ÀΰøÁö´É, Àΰ£¿ä¼Ò¿Í »ý»êÀ̷аú °°Àº ³ÐÀº ºÐ¾ß¸¦ Æ÷ÇÔÇÑ´Ù. ·Îº¿ÀÇ ÀÛ¾÷°ú ÇൿÀ» °³¼±Çϱâ À§Çؼ´Â ÀÌ·¯ÇÑ ¸ðµç ºÐ¾ß¿¡ °üÇÑ ¿¬±¸¿Í °³¹ßÀÌ ÁøÇàµÇ¾î¾ß Çϸç, ÇöÀç ÁøÇàµÇ°í ÀÖ´Ù.
·Îº¿ ±â¼úÀ» ¼³¸íÇϱâ À§Çؼ´Â ·Îº¿À» ±¸¼ºÇϰí ÀÛ¾÷ÇÏ´Â ¹æ¹ý¿¡ ´ëÇÑ °¢Á¾ ±â¼úÀûÀÎ »çÇ×µéÀ» Á¤ÀÇÇÏ´Â °ÍÀÌ ÇÊ¿äÇÏ´Ù. À̸¦ À§ÇÏ¿© ´ÙÀ½°ú °°Àº ÅäÇȵéÀ» ³íÀÇÇÑ´Ù.
ÀÌ·¯ÇÑ ÅäÇȵéÀÌ ºñ·Ï ÀÌ Ã¥ÀÇ µÞºÎºÐ¿¡¼ ÀÚ¼¼ÇÏ°Ô ³íÀǵǰÚÁö¸¸, ´ÙÀ½ÀÇ °£°áÇÑ ¼³¸íÀº µ¶ÀÚµéÀÌ ÀÌ·¯ÇÑ ÁÖÁ¦ÀÇ ½ÇÁúÀûÀΠƯ¼º°ú Ä£¹ÐÇϵµ·Ï ÇÏ´Â µ¥ µµ¿òÀÌ µÈ´Ù.
»ê¾÷¿ë ·Îº¿ÀÇ °³¹ßÀº ÀÚµ¿È ÀåÄ¡ÀÇ ³í¸®Àû ÁøÈ¸¦ ÀǹÌÇϸç, °íÁ¤µÈ ÀÚµ¿È¿Í Àΰ£ ³ëµ¿ÀÇ Æ¯¼ºµéÀ» Àß °áÇÕÇÏ´Â ÀÛ¾÷ÀÌ´Ù. ·Îº¿Àº °íÁ¤µÈ ÀÚµ¿È¿Í ±¸º°µÇ´Â À¯¿¬¼ºÀÇ Á¤µµ¿¡ µû¶ó Àü¹®ÈµÈ °øÀÛ±â°è·Îµµ »ý°¢ÇÒ ¼ö ÀÖ´Ù. ¼¾¼ÀåÄ¡¸¦ Ãß°¡ÇÔÀ¸·Î½á ·Îº¿Àº ÀÛ¾÷ȯ°æ¿¡ ÀûÀÀÇÏ´Â ´É·Â°ú, ÀÛ¾÷Á¶°ÇÀÇ º¯È¿¡ µû¶ó¼ µ¿ÀÛÀ» º¯°æÇÏ´Â ´É·ÂÀ» °¡Áú ¼ö ÀÖ´Ù. »ê¾÷¿ë ·Îº¿Àº Á¡Á¡ ´õ °í¼º´É (smarter) ±â°è ÀÛ¾÷ÀÚ°¡ µÇ°í ÀÖÀ¸¸ç, °¡Ä¡°¡ ÀÖ´Â »ý»ê-°³¼± °ø±¸·Î¼ ÇöÀç Æø³Ð°Ô ¹Þ¾Æµé¿©Áö°í ÀÖ´Ù.
»ê¾÷¿ë ·Îº¿À» ±â°è ¶Ç´Â ±â°èÀû ÆÈ·Î¼ »ý°¢ÇÏ´Â °ÍÀº Ÿ´çÇÏÁö¸¸, ±â°èÀûÀÎ ÇüÅÂÀÇ Àΰ£À¸·Î »ý°¢ÇÏ´Â °ÍÀº ºÎÀûÀýÇÏ´Ù. ·Îº¿Àº ¸¶·ç, ±â°è, õÀå, º®¿¡ ü°áµÇ°Å³ª, ±â°èÀû ¼Õ ÀÚü¿¡ ºÎÂøµÇ¸ç, ¹Ýº¹ÀûÀÎ ÀÛ¾÷À» Çϵµ·Ï ÈÆ·ÃµÈ ±â°èÀûÀÎ ÆÈÀÌ´Ù. ·Îº¿Àº °íÁ¤µÈ ÀÚµ¿È¿Í Àΰ£ ³ëµ¿ÀÇ Àü¹®¼º ¹× À¯¿¬¼º°ú ¿¬°üµÈ ´É·Â »çÀÌÀÇ °£°ÝÀ» ä¿î´Ù.
·Îº¿Àº ±â°èÀ̱⠶§¹®¿¡ ´Ü¼øÈ÷ ¸¹Àº ÀÌÀÍÀ» ÁØ´Ù. ·Îº¿Àº ½Ã²ô·´°Å³ª ´þ°Å³ª ¶Ç´Â À§ÇèÇÑ È¯°æ¿¡¼ Àΰ£ ÀÛ¾÷ÀÚ¿¡°Ô ¾Ç¿µÇâÀ» ÁÖ´Â ÇǷΰ¨, ºÒÆíÇÔ, Áö·çÇÔ ¶Ç´Â ºñ½ÁÇÑ ÀÎÀÚ µî¿¡ ¹Î°¨ÇÏÁö ¾Ê´Ù. ·Îº¿Àº À§ÇèÇÏ°í ´õ·´°í ¹Ýº¹ÀûÀÎ ÀÛ¾÷ÀÌ ÇÊ¿äÇÑ °æ¿ì¿¡µµ ÀÛ¾÷À» Àß ¼öÇàÇÒ ¼ö ÀÖ´Ù.
·Îº¿Àº ÀÛ¾÷À» ¼öÇàÇϱâ À§ÇÏ¿© ±â°èÀû ÆÈ (arm) À» ¿òÁ÷ÀÌ´Â ´É·ÂÀ» °®°í ÀÖ´Ù. ·Îº¿ÀÇ ¼ÕÀ̳ª ÀÛ¾÷ °ø±¸°¡ ¸ðµç ¹æÇâÀ¸·Î ´êÀ» ¼ö ÀÖ´Â ÃÖ´ëÀÇ Á¡µéÀ» ÀÛ¾÷¿µ¿ª (work envelope) À̶ó°í ÇÑ´Ù. ·Îº¿ÀÇ ¿îµ¿ Ư¼ºÀº ±â°èÀû ¼³°è¿¡ ÀÇÁ¸ÇÏ¿© º¯ÇÑ´Ù. ·Îº¿¿¡´Â 5 °¡ÁöÀÇ ¶Ñ·ÇÇÑ µðÀÚÀÎ Çü»óÀÌ ÀÖÀ¸¸ç, À̰ÍÀº µÚ¿¡ ·Îº¿ ÇØºÎÇп¡¼ ³íÀÇµÉ °ÍÀÌ´Ù.
ÀÏ´Ü ·Îº¿ÀÇ ¼Õ, Áï ¸»´ÜÀåÄ¡ (end effector) °¡ ·Îº¿ÀÇ °ø±¸ ÀåÂøÆÇ (tool-mounting plate) ¿¡ ºÎÂøµÇ¸é ·Îº¿Àº ÀÛ¾÷°ø°£°ú ÀÎÅÍÆäÀ̽ºµÈ´Ù. ¸»´ÜÀåÄ¡, Áï EOAT (end-of-arm-tooling) ¶õ ±×¸®ÆÛ (gripper) , °ø±¸, Ưº°ÀåÄ¡ µî°ú °°ÀÌ ½ÇÁ¦·Î ÀÛ¾÷À» ¼öÇàÇÏ´Â ·Îº¿ ÆÈ¿¡ ºÎÂøµÈ °íÁ¤±¸ (fixture) ¸¦ ÀǹÌÇÑ´Ù. ÁÖ¾îÁø ¼Óµµ·Î ÃÖ´ë Áß·®À» ¿òÁ÷ÀÌ´Â ´É·ÂÀ» ·Îº¿ÀÇ ÀûÀçÇÏÁß (payload) À̶ó°í Á¤ÀÇÇϸç, 1b ¶Ç´Â kg À¸·Î Ç¥½ÃÇÑ´Ù. ´Ù¸¥ ¸»·Î´Â, ÀûÀçÇÏÁßÀº ·Îº¿ÀÌ ¶È°°Àº Á¤¹Ðµµ·Î½á ¹Ýº¹ÀûÀ¸·Î À§Ä¡¿¡ µµ´ÞÇÒ ¼ö ÀÖ°Ô ¼³°èµÈ ÃÖ´ëÇÏÁßÀ» ÀǹÌÇÑ´Ù.
·Îº¿ÀÇ ÆÈÀ» ¿ÏÀüÈ÷ »¸Àº »óÅ¿¡¼ ÆÈ ³¡ÀÌ ¿òÁ÷ÀÏ ¼ö ÀÖ´Â ÃÖ´ë ¼Óµµ°¡ ¼Óµµ (velocity) À̸ç, in./sec ¶Ç´Â mm/sec ·Î¼ Ç¥½ÃÇÑ´Ù. ¼Óµµ´Â 2 °¡Áö ÇüŰ¡ Àִµ¥, ±×°ÍÀº °¡°¨¼ÓÀ² (acceleration/deceleration) °ú, ºñƲ¸² ȸÀüÀ² (slew rate) ÀÌ´Ù. °¡°¨¼ÓÀ²Àº Á¤Áö»óÅ·κÎÅÍ ¿øÇÏ´Â ÃÖ´ë ¼Óµµ±îÁö µµ´ÞÇÏ´Â µ¥ °É¸®´Â ½Ã°£°ú, ÃÖ´ë ¼Óµµ¿¡¼ Á¤ÁöÇϱâ±îÁö °É¸®´Â ½Ã°£À» ÀǹÌÇÑ´Ù. ºñƲ¸² ȸÀüÀ²Àº ·Îº¿ÀÌ ÃÖ´ë ¼Óµµ¿¡ µµ´ÞÇßÀ» ¶§ÀÇ ¼ÓµµÀÌ´Ù.
»çÀÌŬ ŸÀÓ (cycle time) Àº ·Îº¿ÀÌ ÁÖ¾îÁø ¹°Ã¼¸¦ ÁÖ¾îÁø ³ôÀÌ¿¡ µé¾î¿Ã¸®°í ÁÖ¾îÁø °Å¸®±îÁö À̵¿½ÃÄÑ ³»·Á¼ ³õ°í Ãâ¹ßÁ¡¿¡ ´Ù½Ã µ¹¾Æ¿À´Â 1 »çÀÌŬÀ» ¿Ï·áÇÏ´Â µ¥ °É¸®´Â ½Ã°£ÀÌ´Ù.
Á¤È®µµ (accuracy) ´Â ·Îº¿ÀÌ Á¦¾î¸í·ÉÀ» ¹ÞÀÚ¸¶ÀÚ ¸»´ÜÀåÄ¡¸¦ °ø°£»óÀÇ Æ¯Á¤À§Ä¡¿¡ µµ´Þ½Ãų ¼ö ÀÖ´Â Á¤È®¼ºÀÇ Á¤µµ¸¦ ÀǹÌÇÑ´Ù. ¹Ýº¹ Á¤¹Ðµµ (repeatability) ´Â ÀÌÀü¿¡ Á¤ÀÇµÈ À§Ä¡±îÁö ¹Ýº¹ÇÏ¿© ¶È°°ÀÌ °¥ ¼ö ÀÖ´Â ·Îº¿ÀÇ ´É·ÂÀ̶ó°í °£ÁÖÇÑ´Ù. ·Îº¿ÀÇ ºÐÇØ´É (resolution) Àº ·Îº¿ÀÌ ¿òÁ÷ÀÏ ¼ö Àְųª Á¦¾î ½Ã½ºÅÛÀÌ ÃøÁ¤ÇÒ ¼ö ÀÖ´Â ÃÖ¼ÒÇÑÀÇ À§Ä¡ÀÇ ÁõºÐ º¯ÈÀÌ´Ù.
Å©±â (size) ´Â ·Îº¿ÀÇ ±âÇÏÇÐÀû Å©±âÀ̸ç, ±×°ÍÀº ¿ë·®°ú ´É·Â¿¡ ¿µÇâÀ» ÁØ´Ù. °ÕÆ®¸® Å©·¹ÀÎ (gantry crane) ó·³ Å« ·Îº¿ºÎÅÍ ¼Ò±Ý ÀÔÀÚó·³ ÀÛÀº ·Îº¿ÀÌ ÀÖÀ¸¸ç, ÈÄÀÚ´Â ÁýÀûȸ·Î¿Í ÄÄÇ»ÅÍ Ä¨À» ¸¸µå´Â µ¥ »ç¿ëµÈ °Í°ú µ¿ÀÏÇÑ °øÁ¤ÀÎ ¹Ì¼¼°¡°ø±â¼ú (micromachining) ¿¡ ÀÇÇØ ¸¸µé¾îÁø´Ù. °¡º¿î Á¶¸³ ÀÛ¾÷¿ëÀÇ ·Îº¿µéÀº Àΰ£ ´ë½Å¿¡ ´ëüµÈ ·Îº¿À¸·Î »ê¾÷¿ë ·Îº¿ÀÇ Å©±â, Çü»ó°ú ´É·Â¿¡ ÀÖ¾î¼ Æø³Ð°Ô º¯ÇÑ´Ù. ¸ðµç ·Îº¿Àº 4°³ÀÇ ±âº»ÀûÀÎ ±¸¼ººÎǰÀ¸·Î ±¸¼ºµÈ´Ù.
°¡Àå º¹ÀâÇÑ ·Îº¿ÀÌ¶óµµ ¸î °¡Áö ±âº»ÀûÀÎ ºÎǰµé·Î ³ª´ ¼ö ÀÖ´Ù. ÀÌ ÀýÀº »ê¾÷¿ë ·Îº¿À» ±¸¼ºÇÏ´Â ºÎǰµéÀÇ °³¿ä¸¦ ¼³¸íÇÑ´Ù. ¶ÇÇÑ ÀÌ·¯ÇÑ ºÎǰ°ú °ü·ÃÇÑ ¿ë¾î¸¦ µµÀÔÇÏ°í ±×µéÀÇ Ãâó¸¦ ¼³¸íÇÑ´Ù. ±×¸² 1 ¿¡¼ º¸´Â ¹Ù¿Í °°ÀÌ »ê¾÷¿ë ·Îº¿ÀÇ ±âº» ±¸¼ººÎǰÀº ¸Ó´Ïǽ·¹ÀÌÅÍ (manipulator) , ¸»´ÜÀåÄ¡ (end effectors) , µ¿·Â °ø±ÞÀåÄ¡ (power supply) °ú Á¦¾î±â (controller) ÀÌ´Ù. ±×¸² 2 ´Â ÀüÇüÀûÀÎ »ê¾÷¿ë ·Îº¿¿¡¼ ÀÌ·¯ÇÑ 4°¡Áö ±¸¼ººÎǰµéÀÇ °ü°è¸¦ È®½ÇÇÏ°Ô ³ªÅ¸³½´Ù.
±×¸² 1 »ê¾÷¿ë ·Îº¿ÀÇ ±âº» ±¸¼ººÎǰ
±×¸² 2 ÅëÇÕ°ú ºñÅëÇÕ ±¸¼ººÎǰÀ» °¡Áø »ê¾÷¿ë ·Îº¿
·Îº¿ÀÇ ÆÈÀÎ ¸Ó´Ïǽ·¹ÀÌÅÍ´Â ·Îº¿ÀÌ ÀÛ¾÷À» ÇÒ ¼ö ÀÖµµ·Ï ¿©·¯ °¡Áö ¹æÇâÀ¸·Î µ¿ÀÛÀÌ °¡´ÉÇÑ Ãà°ú ÀÌ¿¡ ¿¬°áµÈ °üÀýµé·Î ÀÌ·ç¾îÁ® ÀÖ´Ù. ¸»´ÜÀåÄ¡´Â ±×¸®ÆÛ (gripper) , °ø±¸, Ưº°ÇÑ ÀåÄ¡ µî°ú °°ÀÌ ·Îº¿ÀÇ ÆÈ¿¡ ºÎÂøµÈ °íÁ¤¹°À̸ç, ½ÇÁúÀûÀÎ ÀÛ¾÷À» ¼öÇàÇÑ´Ù. µ¿·Â °ø±ÞÀåÄ¡´Â ·Îº¿ ¾×Ãß¿¡ÀÌÅÍ¿¡ ÀÇÇÏ¿© ¿îµ¿À¸·Î º¯È¯µÇ´Â µ¥ ÇÊ¿äÇÑ ¿¡³ÊÁö¸¦ °ø±ÞÇϰí Á¶ÀýÇϸç, µ¿·Â¿øÀ¸·Î´Â Àü±â, °ø¾Ð ¶Ç´Â À¯¾ÐÀÌ »ç¿ëµÈ´Ù. Á¦¾î±â´Â ·Îº¿ÀÇ ¿îµ¿°ú ½ÃÄö½ºµéÀ» Á¦¾îÇϸç, °¨µ¶ÇÏ´Â ¿ªÇÒÀ» ÇÑ´Ù. ¶ÇÇÑ Á¦¾î±â´Â ¿ª½Ã ·Îº¿¿¡¼ ÇÊ¿äÇÑ ÀÔ·ÂÀ» ¹Þ¾Æ ¿ÜºÎ ÀÎÅÍÆäÀ̽º·Î Ãâ·ÂÀ» º¸³»´Â ¿ªÇÒµµ ÇÑ´Ù.
¸Ó´Ïǽ·¹ÀÌÅÍ´Â Àΰ£ÀÇ ÆÈ°ú À¯»çÇÑ µ¿ÀÛÀ» Á¦°øÇÏ´Â ±â°èÀûÀÎ ÀåÄ¡ÀÌ´Ù. ±×°ÍÀÇ ÁÖ¿ä ±â´ÉÀº ÆÈ ³¡¿¡¼ °ø±¸°¡ ¿øÇÏ´Â ÀÛ¾÷À» ÇÒ ¼ö ÀÖµµ·Ï Ưº°ÇÑ ·Îº¿ÀÇ µ¿ÀÛÀ» Á¦°øÇÏ´Â °ÍÀÌ´Ù. ·Îº¿ÀÇ ¿òÁ÷ÀÓÀº ÀϹÝÀûÀ¸·Î ÆÈ°ú ¸öü (¾î±ú¿Í ÆÈ²ÞÄ¡) ¿îµ¿, ¼Õ¸ñ°üÀý ¿îµ¿ÀÇ 2 °¡Áö Á¾·ù·Î ³ª´ ¼ö ÀÖ´Ù. ÀÌ·¯ÇÑ 2 °¡Áö µ¿ÀÛ°ú ¿¬°üµÈ °¢°¢ÀÇ °üÀý (joint) ¿îµ¿µµ ÀÚÀ¯µµ (degrees of freedom) ·Î¼ ¾ð±ÞµÉ ¼ö ÀÖ´Ù. °¢ ÃàÀº 1 °³ÀÇ ÀÚÀ¯µµ¿Í °°´Ù. ÀüÇüÀûÀ¸·Î »ê¾÷¿ë ·Îº¿Àº 4 ~ 6 ÀÚÀ¯µµ¸¦ °®´Â´Ù. ¼Õ¸ñ °üÀýÀº 3 °¡Áö ¿îµ¿, Áï ÇÇÄ¡ (pitch) , ¿ä (yaw) , ·Ñ (roll) ¿îµ¿¿¡ ÀÇÇØ ƯÁ¤ÇÑ ¹æÀ§¸¦ °®°í¼ °ø°£¿¡ À§Ä¡ÇÒ ¼ö ÀÖ´Ù. ÇÇÄ¡, ¿ä¿Í ·ÑÀÇ °üÀýµéÀº ¹æÀ§ ÁÂÇ¥Ãà (orientation axis) À̶ó°í ºÒ·ÁÁø´Ù. ±×¸² 3 Àº ·Îº¿ÀÇ ¼Õ¸ñ°ú °ü·ÃÇÑ °ÍÀ¸·Î¼ ÀÌ·¯ÇÑ 3 °¡Áö µ¿ÀÛÀ» º¸¿©ÁØ´Ù.
±×¸² 3 ·Îº¿ÀÇ ¼Õ¸ñ°ú °ü·ÃÇÑ 3 ÀÚÀ¯µµ
µû¶ó¼ ¸Ó´Ïǽ·¹ÀÌÅÍ´Â ¹°¸®ÀûÀ¸·Î ÀÛ¾÷À» ¼öÇàÇÏ´Â ·Îº¿ÀÇ ÀϺκÐÀÌ´Ù. ¸Ó´Ïǽ·¹ÀÌÅͰ¡ ±¸ºÎ¸®°í ¹Ì²ô·¯Áö°í ȸÀüÇÏ´Â Á¡µéÀº °üÀý ¶Ç´Â À§Ä¡ ÁÂÇ¥Ãà (position axis) À¸·Î ºÒ¸®¾îÁø´Ù. ¸Ó´Ïǽ·¹ÀÌÅÍ´Â ¸µÅ©, ±â¾î, ¾×Ãß¿¡ÀÌÅÍ¿Í Çǵå¹é ±â±¸¿Í °°Àº ±â°èÀû ÀåÄ¡¸¦ »ç¿ëÇÔÀ¸·Î½á ½ÇÇàµÈ´Ù. ±âÁØ ÁÂÇ¥°è (world coordinate system) ´Â Àý´ëÀûÀÎ ±âÁØ ÁÂÇ¥°è·Î¼ ¸Ó´Ïǽ·¹ÀÌÅÍ ³»¿¡ °íÁ¤µÈ À§Ä¡·Î¼ ÀνĵȴÙ. ±×¸² 4 ´Â ±âÁØ ÁÂÇ¥°èÀÇ À§Ä¡¸¦ ³ªÅ¸³½´Ù. ÁÖÇàÀÇ x ÃàÀÇ ¸Ó´Ïǽ·¹ÀÌÅͰ¡ ¾ÈÂÊ ¹Ù±ùÂÊÀ¸·Î À̵¿Çϰí, y Ãà ¿îµ¿Àº ¸Ó´Ïǽ·¹ÀÌÅͰ¡ ¿· ¹æÇâÀ¸·Î À̵¿Çϸç, ¶ÇÇÑ z Ãà ¿îµ¿Àº ¸Ó´Ïǽ·¹ÀÌÅͰ¡ ¾Æ·¡À§·Î À̵¿ÇÑ´Ù.
±×¸² 4 °üÀýÇü ¸Ó´Ïǽ·¹ÀÌÅÍÀÇ ±âÁØ ÁÂÇ¥°è
·Îº¿ ¸Ó´Ïǽ·¹ÀÌÅÍÀÇ ±â°èÀû ¼³°è´Â ±×°ÍÀÇ ÀÛ¾÷ ¿µ¿ª°ú ¿îµ¿ Ư¼º¿¡ Á÷Á¢ÀûÀ¸·Î °ü°è°¡ ÀÖ´Ù. ±×¸² 5 ´Â ¸Ó´Ïǽ·¹ÀÌÅÍÀÇ ºÎǰ ³ªÅ¸³½´Ù.

±×¸² 5 ¸Ó´Ïǽ·¹ÀÌÅÍÀÇ ºÎǰ
°ø±¸ (tool) ¶Ç´Â ÀåÄ¡°¡ ·Îº¿ÀÇ ±â°èÀû ÆÈ¿¡ ºÎÂøµÇ¸é ·Îº¿Àº »ý»ê±â°è°¡ µÉ ¼ö ÀÖ´Ù. ·Îº¿ÀÇ °ø±¸´Â ¸î °³ÀÇ À̸§µé·Î ºÒ¸®¾îÁø´Ù. °¡Àå ÀÚÁÖ »ç¿ëµÇ´Â ¿ë¾î°¡ ¸»´ÜÀåÄ¡ (end effector) À̳ª, EOAT (end-of-arm-tooling) À̶ó´Â ¸»µµ »ê¾÷°ú Ã¥¿¡ ÀϹÝÀûÀ¸·Î »ç¿ëµÈ´Ù. ¸¸¾à ¸»´ÜÀåÄ¡°¡ ±×¸² 6 ¿¡¼ÀÇ ·Îº¿¿¡¼¿Í °°ÀÌ ±â°èÀûÀ¸·Î ¿¸®°í ´ÝÈ÷´Â ÀåÄ¡¶ó¸é, ±×°ÍÀº ±×¸®ÆÛ (gripper) ¶ó ºÒ¸®¾îÁø´Ù. ¸¸¾à ¸»´ÜÀåÄ¡°¡ ±×¸² 7 ¿¡¼ÀÇ ·Îº¿°ú À¯»çÇÏ°Ô °ø±¸ ¶Ç´Â Ưº°ÇÑ ºÎÂø¹°À̶ó¸é ±×°ÍÀº °øÁ¤ °ø±¸ (process tooling) ¶ó°í ºÒ¸®¾îÁø´Ù.

±×¸² 6 Àü±âÀûÀ¸·Î Á¦¾îµÇ´Â »ê¾÷¿ë ·Îº¿ Motoman-SK16 ÀÇ 6 ÀÚÀ¯µµ¿Í ±×¸®ÆÛ¸¦ ³ªÅ¸³½´Ù. ÀÌ ·Îº¿Àº ¿ëÁ¢, Á¶¸³ ¹× Àç·á °¡°ø¿ëÀ¸·Î ¼³°èµÈ °üÀýÇü ·Îº¿ÀÌ´Ù. (Motoman, Inc. ÀÇ ½ÂÀÎÇÏ¿¡ °ÔÀç)

±×¸² 7 »ê¾÷¿ë ·Îº¿ Cincinnati Milacron T3 776 Àº ¼Õ¸ñ°ú °ø±¸¸¦ º¸¿©ÁØ´Ù. ÀÌ ·Îº¿Àº Áß·®¹° °øÁ¤ÀÇ ÀÀ¿ë¿¡ »ç¿ëµÇµµ·Ï ¼³°èµÇ¾ú´Ù.
ÀÛµ¿ÀÇ ÇüÅ¿¡ µû¶ó¼ Á¾·¡ÀÇ ¸»´ÜÀåÄ¡´Â ´ÙÀ½°ú °°Àº ´Ù¾çÇÑ ÀåÄ¡¿Í °ø±¸°¡ ºÎÂøµÈ´Ù.
±×¸² 8 Àº ´Ù¾çÇÑ ÀÛ¾÷À» ¼öÇàÇϱâ À§ÇÏ¿© ¸»´ÜÀåÄ¡¿¡ ºÎÂøµÈ ´Ù¾çÇÑ ÀåÄ¡¿Í °ø±¸¸¦ º¸¿©ÁÖ°í ÀÖ´Ù.

±×¸² 8 ´Ù¾çÇÑ ÀÛ¾÷À» ¼öÇàÇϱâ À§ÇÏ¿© ¸»´ÜÀåÄ¡¿¡ ºÎÂøµÈ ´Ù¾çÇÑ ÀåÄ¡¿Í °ø±¸ (Mack Corp. ÀÇ ½ÂÀÎÇÏ¿¡ °ÔÀç)
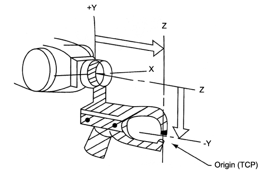
°ø±¸ Áß½ÉÁ¡ (TCP: tool center point) Àº ÁÂÇ¥°èÀÇ ¿øÁ¡À̰ųª ·Îº¿ ÆÈ¿¡ ºÎÂøµÈ °ø±¸ÀÇ µ¿ÀÛÁ¡ÀÌ´Ù. ÁÂÇ¥°èÀÇ ¿øÁ¡Àº ¸Ó´Ïǽ·¹ÀÌÅÍÀÇ °ø±¸ ÀåÂøÆÇ À§¿¡ À§Ä¡ÇÑ´Ù´Â °ÍÀ» ±×¸² 9 ¿¡¼ º¼ ¼ö ÀÖ´Ù. ÀÌ·¯ÇÑ À§Ä¡·ÎºÎÅÍ x, y, z ÃàÀÇ ¹æÇâÀ» ¾Ë ¼ö ÀÖ´Ù. ¸Ó´Ïǽ·¹ÀÌÅÍÀÇ ¸ðµç À̵¿Àº °ø°£»óÀÇ ÀÌ À§Ä¡·ÎºÎÅÍ ±âÁØÀÌ µÈ´Ù. ±×¸² 10 ¿¡¼´Â °ø±¸°¡ °ø±¸ ÀåÂøÆÇ¿¡ ¼³Ä¡µÇ¾ú´Ù. µû¶ó¼ ÁÂÇ¥°èÀÇ ¿øÁ¡Àº TCP ÀÎ »õ·Î¿î À§Ä¡·Î À̵¿ÇÑ´Ù.

±×¸² 9 ÁÂÇ¥°èÀÇ ¿øÁ¡Àº ¸Ó´Ïǽ·¹ÀÌÅÍÀÇ °ø±¸ ÀåÂøÆÇ Á߽ɿ¡ À§Ä¡ÇÑ´Ù.

±×¸² 10 ÁÂÇ¥°èÀÇ ¿øÁ¡Àº ¸Ó´Ïǽ·¹ÀÌÅÍ¿¡ °ø±¸ÀÇ Ãß°¡·Î ÀÎÇÏ¿© º¯°æµÈ´Ù. ÀÌ·¯ÇÑ »õ·Î¿î ¿øÁ¡À» TCP ¶ó°í ºÎ¸¥´Ù.
¸»´ÜÀåÄ¡´Â Ưº°ÇÑ ÀÀ¿ëºÐ¾ßÀÇ ¿ä±¸»ç¾çÀ» ÃæÁ·½Ã۱â À§ÇÏ¿© ÀϹÝÀûÀ¸·Î °í°´ÀÇ ÁÖ¹®À¸·Î ¸¸µé¾îÁø´Ù. ±â°èÀû ±×¸®ÆÛ°¡ °¡Àå ÀϹÝÀûÀ¸·Î »ç¿ëµÇ¸ç, 2 °³ ¶Ç´Â ±× ÀÌ»óÀÇ ¼Õ°¡¶ô (finger) À» ÀåÂøÇϰí ÀÖ´Ù. ƯÁ¤ÇÑ ÀÀ¿ë¿¡ ÀûÇÕÇÑ ¸»´ÜÀåÄ¡ÀÇ ¼±ÅÃÀº ÀÛ¾÷ÇÏÁß, ȯ°æ, ½Å·Ú¼º°ú ºñ¿ë°ú °°Àº ¿äÀε鿡 ÀÇÇØ ÀÇÁ¸ÇÑ´Ù. (5 Àå¿¡¼´Â ¸»´ÜÀåÄ¡ÀÇ ºÐ·ù, ¼±ÅÃ, ÀÀ¿ë°ú ÇÔ²² ¿©·¯ °¡Áö Á¾·ùÀÇ ¸»´ÜÀåÄ¡¿¡ ´ëÇÏ¿© ¾Ë¾Æº»´Ù.)
µ¿·Â °ø±ÞÀåÄ¡ (power supply) ÀÇ ±â´ÉÀº ·Îº¿ÀÌ Á¶À۵Ǵ µ¥ ÇÊ¿äÇÑ ¿¡³ÊÁö¸¦ °ø±ÞÇϰí Á¶ÀýÇÏ´Â °ÍÀÌ´Ù. 3 °¡ÁöÀÇ ±âº»ÀûÀÎ µ¿·Â °ø±Þ¿øÀº Àü±â (electric) , À¯¾Ð (hydraulic) , °ø¾Ð (pneumatic) ÀÌ´Ù.
Àü±â´Â µ¿·ÂÀÇ °¡Àå ÀϹÝÀûÀÎ ±Ù¿øÀ̰í, »ê¾÷¿ë ·Îº¿¿¡ °¡Àå ³Î¸® »ç¿ëµÈ´Ù. ±× ´ÙÀ½À¸·Î´Â °ø¾Ð µ¿·ÂÀ̰í, ±× ´ÙÀ½Àº À¯¾Ð µ¿·ÂÀÌ´Ù. ¾î¶² ·Îº¿ ½Ã½ºÅÛµéÀº 3 °¡Áö µ¿·ÂÀÇ Á¶ÇÕÀ» ÇÊ¿ä·Î ÇÑ´Ù. ¿¹¸¦ µé¸é, ±×¸² 11 ÀÇ ·Îº¿Àº ù ¹øÂ° 3 Ãà¿¡´Â À¯¾ÐÀÌ, ¸¶Áö¸· 3 Ãà¿¡´Â Àü±â µ¿·ÂÀÌ, ¸»´ÜÀåÄ¡¿¡´Â °ø¾ÐÀÌ ÇÊ¿äÇÏ´Ù. ÀÌ·¯ÇÑ ·Îº¿Àº Binks »ç¿¡ ÀÇÇØ Á¦Á¶µÇ¾ú°í, ½ºÇÁ·¹ÀÌ µµÀå (spray painting) ÀÛ¾÷¿¡ Àû¿ëµÈ´Ù.

±×¸² 11 Binks Manufacturing Co. ÀÇ ·Îº¿ ¸ðµ¨ 88-800 : ù ¹øÂ° 3 Ãà¿¡´Â À¯¾Ð µ¿·Â, ¸¶Áö¸· 3 Ãà¿¡´Â Àü±â µ¿·Â, ¸»´ÜÀåÄ¡¿¡´Â °ø¾Ð µ¿·ÂÀÌ °ø±ÞµÊ. (ÀÚ·á : Binks Manufacturing Co.)
µ¿·Â°ø±ÞÀº ·Îº¿ÀÇ Á¤°Ý ÀûÀçÇÏÁß°ú Á÷Á¢ÀûÀ¸·Î °ü°è°¡ ÀÖ´Ù. ¿¡³ÊÁö¿ø, ¾×Ãß¿¡ÀÌÅÍ (actuator) ¿Í Á¦¾î±âµéÀº ±×µéÀÇ °íÀ¯ÇÑ Æ¯¼º, ÀåÁ¡°ú ÇѰèµéÀ» °¡Áö°í ÀÖ´Ù. (·Îº¿ÀÇ µ¿·ÂÀº 3 Àå¿¡¼ »ó¼¼ÇÏ°Ô ³íÀǵȴÙ.)
Á¦¾î±â (controller) ´Â ·Îº¿ÀÇ ¿îµ¿°ú ½ÃÄö½º¸¦ ÃѰýÇÏ´Â Åë½Å°ú Á¤º¸Ã³¸® ÀåÄ¡ÀÌ´Ù. Á¦¾î±â´Â ÇÊ¿äÇÑ ÀԷµéÀ» ¹Þ¾Æ, ·Îº¿ÀÇ ½ÇÁ¦ ¿òÁ÷ÀÓ°ú ¿øÇÏ´Â ¿òÁ÷ÀÓÀÌ ÀÏÄ¡Çϵµ·Ï Á¦¾î¸ðÅÍ ¶Ç´Â ¾×Ãß¿¡ÀÌÅÍ¿¡ Ãâ·Â ±¸µ¿½ÅÈ£µéÀ» ÁØ´Ù. Á¦¾î±â´Â º¹À⼺°ú µðÀÚÀο¡¼ ¸Å¿ì ¸¹Àº º¯È¸¦ Çß´Ù. Á¦¾î±â´Â ·Îº¿¿¡ ±âº»ÀûÀÎ ´É·ÂÀ» ºÎ¿©ÇØ¾ß ÇÏ°í ·Îº¿ÀÌ ¼öÇàÇØ¾ß ÇÒ º¹ÀâÇÑ ÀÛ¾÷µéµµ °¡´ÉÇÏ°Ô ÇØ¾ß ÇÑ´Ù.
±×¸² 12a ÀÇ ºí·Ï¼±µµ´Â ·Îº¿ Á¦¾î±âÀÇ ¸¹Àº ºÎºÐÀ» º¸¿©ÁØ´Ù. ±×¸² 12b ´Â Yamaha ÀûÀç (loading) ·Îº¿ ¸ðµ¨À» ½ÇÁ¦ÀûÀ¸·Î ¼³Ä¡ÇÑ ¹èÄ¡µµ¸¦ ³ªÅ¸³½´Ù.

±×¸² 12a ·Îº¿ Á¦¾î±â ºí·Ï¼±µµ

±×¸² 12b Yamaha ·Îº¿ ¸ðµ¨ YL650 Àº ÀûÀç¿Í ÇÏ¿ªÀ» À§ÇÏ¿© ·Îº¿, Á¦¾î±â, ÇÁ·Î±×·¥ ¹Ú½º (MPB-2) ¿Í ÀÎÅÍÆäÀ̽º ¼³ºñ·Î ±¸¼ºµÇ¾î ÀÖ´Ù. (Yamaha Robitics Corp. ÀÇ ½ÂÀÎÇÏ¿¡ °ÔÀç
Á¦¾î±âÀÇ Á߽ɺδ ÄÄÇ»ÅÍÀ̰í, ¹ÝµµÃ¼ ¸Þ¸ð¸® (solid-state memory) ÀÌ´Ù. ±×¸² 13 ¿¡¼¿Í °°ÀÌ ´ëºÎºÐÀÇ ·Îº¿ Á¦¾î±â¿¡´Â ÄÄÇ»ÅͰ¡ ¸¶ÀÌÅ©·ÎÇÁ·Î¼¼¼ÀÇ ³×Æ®¿öÅ©¸¦ Æ÷ÇÔÇϰí ÀÖ´Ù.

±×¸² 13 ¸¶ÀÌÅ©·ÎÇÁ·Î¼¼¼ Á¦¾î±â (ÀÚ·á : Cincinnati Milacron)
Á¦¾î ½Ã½ºÅÛÀÇ ÀÔ·ÂºÎ¿Í Ãâ·ÂºÎ´Â ·Îº¿ Á¦¾î±âÀÎ ÄÄÇ»ÅÍ¿Í ´ÙÀ½ÀÇ °Íµé°úÀÇ Åë½Å ÀÎÅÍÆäÀ̽º¸¦ Á¦°øÇØ¾ß ÇÑ´Ù.
ÄÄÇ»ÅÍ´Â µå¶óÀ̺ê ÀÎÅÍÆäÀ̽º¸¦ ÅëÇÏ¿© ÆÈ¿¡ ºÎÂøµÈ ¾×Ãß¿¡ÀÌÅÍ¿¡ Àü´ÞµÇ´Â µå¶óÀÌºê ±¸µ¿½ÅÈ£¿¡ ÀÇÇÏ¿© ·Îº¿ ÆÈÀÇ ¿îµ¿À» Á¦¾îÇÑ´Ù.
¹Ì±¹¿¡¼ÀÇ ·Îº¿Àº Á¾Á¾ »ç¿ëµÇ´Â Á¦¾î ½Ã½ºÅÛÀÇ ÇüÅ¿¡ µû¶ó¼ ¾Æ·¡ÀÇ 3 °¡Áö·Î ºÐ·ùµÈ´Ù.
1. ºñ¼º¸ (nonservo)
2. ¼º¸ (servo)
3. ¼º¸Á¦¾î (servo-controlled)
ºñ¼º¸´Â °³·çÇÁ (open loop) ½Ã½ºÅÛÀ̳ª, ¼º¸´Â Æó·çÇÁ (closed loop) ½Ã½ºÅÛÀÌ´Ù. °³·çÇÁ ½Ã½ºÅÛ¿¡¼ Ãâ·Â½ÅÈ£´Â ½Ã½ºÅÛÀÇ Ãâ·Â¿¡ ÀÇÁ¸ÇÏÁö ¾ÊÀ¸³ª, Æó·çÇÁ ½Ã½ºÅÛ¿¡¼´Â ¿øÇÏ´Â ¼º´ÉÀ» ¾ò±â À§ÇÏ¿© ÀԷ°ú Ãâ·Â½ÅÈ£¸¦ µ¿½Ã¿¡ »ç¿ëÇÒ ¼ö ÀÖµµ·Ï Çǵå¹é ±â±â¸¦ ÅëÇÏ¿© ¹ÞÀº ÀԷ°ú Á¦¾î Ãâ·ÂÀ» °è¼Ó ºñ±³ÇÑ´Ù. ¼º¸Á¦¾î ·Îº¿Àº ¿¬¼ÓÀûÀ¸·Î Á¦¾îµÇ´Â °æ·Î¸¦ °¡Áø Æó·çÇÁ ½Ã½ºÅÛÀÌ´Ù.
ºñ¼º¸ ·Îº¿Àº ±¸¼º°ú ÀÛµ¿¿¡¼ °¡Àå ´Ü¼øÇÑ ÇüÅÂÀÌ´Ù. ±×µéÀº Á¾Á¾ Á¦ÇÑ ½ÃÄö½º ·Îº¿ (limited-sequence robot) , ÇÈ-Ç÷¹À̽º ·Îº¿ (pick-and-place) , °íÁ¤ ¸ØÃãÀåÄ¡ (fixed-stops) , ¶Ç´Â ¹ð-¹ð ·Îº¿ (bang-bang robot) À¸·Î¼ ºÒ¸®¾îÁø´Ù. Æ®·£½ºµà¼ (transducer) ¿Í °°Àº Çǵå¹é ±â±â´Â Æó·çÇÁ Á¦¾î±âÀÇ Áß¿äÇÑ ºÎºÐÀÌ´Ù. ±×µéÀº ·Îº¿ÀÇ °üÀý°ú ¸µÅ©ÀÇ À§Ä¡ Á¤º¸¸¦ Æó·çÇÁ Á¦¾î±â¿¡ Àü¼ÛÇÑ´Ù. Æó·çÇÁ ¶Ç´Â °³·çÇÁ Á¦¾î±â¸¦ °¡Áø ·Îº¿Àº ÇÁ·Î±×·¡¸Óºí °æ·Î (programmable path) ¸¦ µû¶ó¼ ¿òÁ÷À̵µ·Ï ·Îº¿ ÆÈÀÇ ¿îµ¿À» Á¦¾îÇÑ´Ù.
3 °¡Áö Á¦¾î±âµé »çÀÌ¿¡ ÁÖ¿äÇÑ Â÷ÀÌ´Â °³·çÇÁ ½Ã½ºÅÛÀº ·Îº¿¿¡ Çǵå¹éÀ» Á¦°øÇϱâ À§ÇÑ ¾Æ¹«·± ¼¾¼°¡ ¾ø´Ù´Â °ÍÀÌ´Ù. Çǵå¹é ½ÅÈ£´Â Á¦¾î±â¿¡ ·Îº¿ ÆÈÀÇ ÇöÀç À§Ä¡¸¦ ¾Ë·ÁÁØ´Ù.
ºñ¼º¸ ·Îº¿ ½Ã½ºÅÛÀ» ±×¸² 14 ¿¡ ³ªÅ¸³»¾úÀ¸¸ç, 4 Ãà °ø¾Ð ·Îº¿À» ¼³¸íÇϰí ÀÖ´Ù. »çÀÌŬÀÇ Ãʱ⿡ Á¦¾î±â´Â ¿©·¯ °¡Áö ¼øÂ÷Àû ´Ü°è¸¦ ÅëÇÏ¿© ·Îº¿À» ¿òÁ÷À̱⠽ÃÀÛÇÑ´Ù. ù ´Ü°è¿¡¼ Á¦¾î±â´Â ¸Ó´Ïǽ·¹ÀÌÅÍÀÇ Á¦¾î¹ëºê¿¡ ½ÅÈ£¸¦ º¸³½´Ù. Á¦¾î¹ëºê°¡ ¿¸²¿¡ µû¶ó °ø±â´Â ¾×Ãß¿¡ÀÌÅͳª ½Ç¸°´õ¿¡ Àü´ÞµÇ¾î ½Ç¸°´õ ·Îµå (rod) °¡ ¿òÁ÷À̵µ·Ï ÇÑ´Ù.

±×¸² 14 ºñ¼º¸ ·Îº¿ ½Ã½ºÅÛ (°³·çÇÁ)
¹ëºê°¡ ¿·Á ÀÖ´Â ÇÑ, ¸Ó´Ïǽ·¹ÀÌÅÍ´Â ½Ç¸°´õ ·ÎµåÀÇ ³¡ÀÌ Á¦ÇÑµÉ ¶§±îÁö °è¼ÓÇÏ¿© ¿òÁ÷ÀδÙ. ½Ç¸°´õ ·Îµå°¡ ÁÖÇà±æÀ̸¦ µµ´ÞÇÑ ÈÄ¿¡ ¸®¹ÌÆ® ½ºÀ§Ä¡°¡ ÀÛµ¿ÇÑ´Ù. À̰ÍÀº Á¦¾î±â¿¡ Á¦¾î¹ëºê¸¦ ´ÝÀ¸¶ó´Â ¶æÀÌ´Ù.
±×¶§ Á¦¾î±â´Â Á¦¾î¹ëºê¸¦ ´Ý´Â ½ÅÈ£¸¦ º¸³»°í, ÇÁ·Î±×·¥Àº ´ÙÀ½ ´Ü°è·Î ³Ñ¾î°¡°í ÇÊ¿äÇÑ ½ÅÈ£µéÀ» ÃʱâÈÇÑ´Ù. ÀÌ·¯ÇÑ °úÁ¤Àº ÇÁ·Î±×·¥ÀÇ ¸ðµç ´Ü°èµéÀÌ ¿Ï·áµÉ ¶§±îÁö ¹Ýº¹µÈ´Ù.
À̰ÍÀº ´Ü¼øÇÑ Á¦¾î±â, Áï °³·çÇÁ ±â±âÀÌ´Ù. °¢ ÃàÀ» µû¶ó¼ ³¡´ÜÀÇ À§Ä¡¸¦ Á¦¾îÇϱâ À§ÇÏ¿© ¼øÂ÷ÀûÀÌ°í ±â°èÀûÀÎ ¸ØÃãÀåÄ¡¿¡ ÀÇÁ¸ÇÑ´Ù. ÀÌ·¯ÇÑ ·Îº¿Àº ³¡´Üµé°°ÀÇ °æ·Î Á¦¾î¿¡ ´ëÇÑ Áغñ°¡ ÇÊ¿ä¾ø´Ù.
ºñ¼º¸ ·Îº¿¿¡¼ °¢ µ¿ÀÛ¿¡ ´ëÇÏ¿© ¸Ó´Ïǽ·¹ÀÌÅÍ´Â Á¶Çà ÇѰ迡 µµ´ÞÇÒ ¶§±îÁö ¿òÁ÷ÀδÙ. ±× ·Îº¿ÀÇ ÆÈÀº ´ÙÀ½°ú °°Àº ¹æ¹ý¿¡ ÀÇÇØ ¿øÇÏ´Â À§Ä¡¿¡ µµ´ÞÇßÀ» ¶§ ¸ØÃá´Ù.
¾×Ãß¿¡ÀÌÅÍ´Â ¿¡³ÊÁö¸¦ ¿îµ¿À¸·Î º¯È¯ÇÏ´Â ·Îº¿ÀÇ ÀåÄ¡ÀÌ´Ù. ±×·¯ÇÑ ÀåÄ¡´Â À¯¾Ð°ú °ø¾Ð ½Ç¸°´õ¿Í ¼±Çü Àü±â ¼Ö·¹³ëÀÌµå ¶Ç´Â ¸ðÅÍÀ̸ç, À̰͵éÀº ÇѹøÀÇ ÇàÁ¤ (stroke) À¸·Î ·Îº¿ ÆÈÀ» ¿ÏÀüÈ÷ ¼öÃà (retraction) °ú ½ÅÀå (extension) ½ÃŲ´Ù. ¼±Çü ¾×Ãß¿¡ÀÌÅÍ´Â ±×¸² 15 ¿Í ±×¸² 16 ¿¡ ³ªÅ¸³ª ÀÖ´Ù.

±×¸² 15 ¿îµ¿ À§Ä¡¸¦ À§ÇÑ ¼±Çü ¾×Ãß¿¡ÀÌÅÍ
±×¸² 16 ÇÈ-Ç÷¹À̽º ·Îº¿ Yamaha ¸ðµ¨ YP304A Àº 4 Ãà À¯´ÖÀ¸·Î¼ EOAT ¸¦ À§Ä¡°áÁ¤Çϵµ·Ï ¾×Ãß¿¡ÀÌÅÍ ½ºÆ®·ÎÅ©¸¦ »ç¿ëÇÑ´Ù. (Yamaha Robotics Inc. ÀÇ ½ÂÀÎÇÏ¿¡ °ÔÀç)
°ø¾Ð°ú À¯¾Ð ¾×Ãß¿¡ÀÌÅÍ´Â È帣´Â À¯Ã¼¿¡ ÀÇÇØ µ¿·ÂÀ» ¾ò´Â´Ù. ù ¹øÂ° °æ¿ìÀÇ À¯Ã¼´Â ¾ÐÃà °ø±âÀ̰í, µÎ ¹øÂ° °æ¿ìÀÇ À¯Ã¼´Â º¸Åë ¾ÐÃà ±â¸§ÀÌ´Ù. ÀÌ·¯ÇÑ ¾×Ãß¿¡ÀÌÅÍÀÇ ÀÛµ¿Àº À¯Ã¼ÀÇ ¾Ð·ÂÀ» ÀúÀåÇÏ´Â ´É·ÂÀ» Á¦¿ÜÇϰí´Â ÀϹÝÀûÀ¸·Î À¯»çÇÏ´Ù. °ø¾Ð ½Ã½ºÅÛÀº ¾à 100 psi ¿¡¼ ÀÛµ¿µÇ¸ç, À¯¾Ð ½Ã½ºÅÛÀº ¾à 3,000 psi ¿¡¼ ÀÛµ¿µÈ´Ù.
¾×Ãß¿¡ÀÌÅ͵éÀ» ³íÀÇÇÒ ¶§ Ưº°ÇÑ °ü½ÉÀ» °¡Á®¾ß ÇÒ °ÍÀº ¾×Ãß¿¡ÀÌÅ͵éÀÇ ÇǽºÅæ ¼Óµµ¿Í ÀÔ·Â µ¿·Â¿¡ ´ëÇÑ ¾×Ãß¿¡ÀÌÅ͵éÀÇ Èû Ãâ·ÂÀÌ´Ù. º¹µ¿ ½Ç¸°´õÀÇ Èû Ãâ·Â°ú ÇǽºÅæ ¼Óµµ´Â È®Àå°ú ¼öÃà ÇàÁ¤¿¡ ´ëÇÏ¿© µ¿ÀÏÇÏÁö ¾Ê´Ù. ÀÌ·¯ÇÑ Çö»óÀº ·Îµå È¿°ú¿¡ ÀÇÇÑ °ÍÀ̰í, ½Ä 1 ¿¡¼ ½Ä 4 ¸¦ ÅëÇÏ¿© Á¤ÀǵȴÙ.
½ÅÀå ÇàÁ¤ :
Èû (lb) £½¾Ð·Â (psi) ×ÇǽºÅæ ´Ü¸éÀû (in.2) (½Ä 1)
(½Ä
2)
¼öÃà ÇàÁ¤ :
Èû (lb) £½¾Ð·Â (psi) × ÇǽºÅæ (in.2) - ·Îµå ´Ü¸éÀû (in.2) (½Ä 3)
(½Ä
4)
½Ç¸°´õ¿¡ ÀÇÇØ ¹ß»ýµÇ´Â ¸¶·ÂÀº ½Ä 5 ¶Ç´Â ½Ä 6 À» »ç¿ëÇÏ¿© ¾òÀ» ¼ö ÀÖ´Ù.
¸¶·Â£½
(½Ä
5)
¸¶·Â£½
(½Ä
6)
|
¿¹Á¦ 1 À¯¾Ð ½Ç¸°´õ´Â Áö¸§ 2in. ÀÇ ÇǽºÅæÀ» °¡Áö¸ç, 1200 lb/in.2 ÀÇ À¯Ã¼¾Ð·Â, 142in.3/min ÀÇ À¯·®, ±×¸®°í 10in. ÀÇ ÇàÁ¤À» °®´Â´Ù. ÇǽºÅæ¿¡¼ ¹ß»ýµÇ´Â Èû°ú ¼Óµµ¸¦ ±¸Ç϶ó. Ç®ÀÌ ½Ä 1 À» »ç¿ëÇÏ¿© : Èû £½ ¾Ð·Â × ÇǽºÅæ ´Ü¸éÀû £½ 1200 × (0.785 × 22) £½ 3770lb ½Ä 2 ¸¦ »ç¿ëÇÏ¿©: ¼Óµµ
£½ Âü°íÀûÀ¸·Î ÇàÁ¤ÀÇ ±æÀÌ´Â Á¶ÀÛÇÏ´Â Èû°ú ¼Óµµ¿¡ ¿µÇâÀ» ¸¶Ä¡Áö ¾Ê´Â´Ù. |
°íÁ¤ ¸ØÃãÀåÄ¡´Â ¾×Ãß¿¡ÀÌÅͰ¡ Àü ÇàÁ¤À» µµ´ÞÇϱâ Àü¿¡ ¾×Ãß¿¡ÀÌÅͰ¡ Àü ÇàÁ¤À» µµ´ÞÇϱâ Àü¿¡ ¾×Ãß¿¡ÀÌÅÍÀÇ ½ÅÀå ¶Ç´Â ¼öÃàÀ» Á¤Áö½ÃŰ´Â µ¥ ÀÚÁÖ »ç¿ëµÇ´Â ºí·ÏÀÌ´Ù. ±×¸² 17 Àº ±×·¯ÇÑ ¼³Ä¡¸¦ ³ªÅ¸³½´Ù. °¡º¯ ¸ØÃãÀåÄ¡´Â ¾×Ãß¿¡ÀÌÅÍÀÇ ÇàÁ¤À» º¯ÈÇÒ ¼ö ÀÖµµ·Ï Á¶ÀýµÉ ¼ö ÀÖ´Â ³ª»ç, Ä®·¯ (collar) ¿Í ½½¶óÀ̵ù ºí·ÏµéÀÌ´Ù. ±×¸² 18 Àº ·Îº¿ÀÇ ÀÌ·¯ÇÑ ¸ØÃãÀåÄ¡ÀÇ ¿¹¸¦ ³ªÅ¸³½´Ù.

±×¸² 17 ¿îµ¿ À§Ä¡¿¡ ´ëÇÑ °íÁ¤ ¸ØÃãÀåÄ¡ÀÇ ¹è¿

±×¸² 18 °¡º¯ ¸ØÃãÀåÄ¡¸¦ °¡Áø ·Îº¿ (Mack Corp. ÀÇ ½ÂÀÎÇÏ¿¡ °ÔÀç)
½ºÅ×ÇÎ ¸ðÅÍ (stepper motor) ´Â Àü±âÀû ÆÞ½º¿¡ ÀÇÇÏ¿© ȸÀüÇÏ´Â Á÷·ù¸ðÅÍÀÌ´Ù. ½ºÅ×ÇθðÅÍ´Â 90¢ªºÎÅÍ 0.72¢ª±îÁöÀÇ ½±°Ô ÀÌ¿ë °¡´ÉÇÑ ¹üÀ§¿¡¼ ÁõºÐ ¿îµ¿À» Ãâ·ÂÇÒ ¼ö ÀÖµµ·Ï ¼³°èµÈ´Ù. ½ºÅ×ÇÎ ¸ðÅÍÀÇ Á¤È®µµ´Â ½ºÅܰ¢ÀÇ 1~5%À̸ç, ÀϹÝÀûÀÎ Á¤È®µµ´Â ¾à 3%ÀÌ´Ù. ½ºÅ×ÇÎ ¸ðÅÍÀÇ ¼Óµµ´Â ºÐ´ç ȸÀü¼öÀÎ rpm¿¡ ºñÇÏ¿© ÃÊ´ç ½ºÅܼöÀÎ sps·Î¼ º¸Åë ÁöÁ¤µÈ´Ù. ½Ä 7 ¿¡¼ ½Ä 9 ´Â ȸÀü´ç ½ºÅܰ¢À» ½ºÅܼö·Î, ±×¸®°í sps¸¦ rpmÀ¸·ÎÀÇ º¯È¯À» ³ªÅ¸³½´Ù:
(½Ä
7)
(½Ä
8)
(½Ä
9)
½ºÅ×ÇÎ ¸ðÅÍ´Â 6.25in.-lbÀÇ ÅäÅ©Ãâ·ÂÀ¸·Î½á 5,000sps Á¤µµÀÇ ±¸µ¿ÀÌ °¡´ÉÇÏ´Ù. ½ºÅ×ÇÎ ¸ðÅÍ´Â ±×¸®ÆÛ À§Ä¡°áÁ¤À» À§ÇÑ ·Îº¿ÀÇ ÆÈÀ» »¸´Â µ¥ »ç¿ëµÈ´Ù. ÀÌ·¯ÇÑ °æ¿ì¿¡, ¸ðÅÍÀÇ È¸Àü¿îµ¿Àº ±â¾î ±¸µ¿ºÎŸ º§Æ®¿Í Æú¸® ½Ã½ºÅÛ¿¡ ÀÇÇÏ¿© Á÷¼±¿îµ¿À¸·Î º¯È¯µÈ´Ù. ½ºÅ×ÇÎ ¸ðÅÍ´Â ³·Àº ÅäÅ©Ãâ·ÂÀ» ¹ß»ýÇϱ⠶§¹®¿¡ ÆÈÀ̳ª °ø±¸¸¦ È¿À²ÀûÀ¸·Î À̵¿Çϱâ À§ÇÏ¿© »ó´çÇÑ ±â°èÀû ÀÌÁ¡ÀÌ ±â¾î ¶Ç´Â Ç®¸® ½Ã½ºÅÛÀ¸·ÎºÎÅÍ ¾ò¾îÁø´Ù. ±×¸² 19 ´Â º¯È¯Á¦¾î (translator control) °¡ ºÎÂøµÈ ½ºÅ×ÇÎ ¸ðÅ͸¦ º¸¿©ÁØ´Ù.

±×¸² 19 º¯È¯Á¦¾î¸¦ °®´Â ½ºÅ×ÇÎ ¸ðÅÍ
ºñ¼º¸ÀÇ ÀåÁ¡Àº ´ÙÀ½°ú °°´Ù.
±×¸®°í ºñ¼º¸ÀÇ ´ÜÁ¡Àº ´ÙÀ½°ú °°´Ù.
ÇöÀç »ç¿ëµÇ°í ÀÖ´Â ¹Ý ÀÌ»óÀÇ ·Îº¿µéÀº ºñ¼º¸ (°³·çÇÁ) ·Î ºÐ·ùµÈ´Ù. ÁÖ¿ä ÀÀ¿ëºÐ¾ß´Â Àç·á°¡°ø°ú ±â°èÀ¯Áö¸¦ Æ÷ÇÔÇÑ´Ù.
¼º¸ ·Îº¿Àº ´õ¿í´õ Á¤±³ÇÑ ½Ã½ºÅÛÀÌ´Ù. Á¦¾î±â·ÎºÎÅÍ ½ÅÈ£´Â ½Ã½ºÅÛÀÇ Ãâ·Â¿¡ ÀÇÁ¸ÇÑ´Ù. ¼º¸±â±¸ (servo mechanism) ´Â ¿ÀÂ÷¸¦ °ËÃâÇÏ°í ±³Á¤ÇÏ´Â µ¥ »ç¿ëÇÏ´Â Á¦¾î ½Ã½ºÅÛÀÌ´Ù. ±× ½Ã½ºÅÛÀº °¢ °üÀýÀÇ À§Ä¡¸¦ ÀÚµ¿ÀûÀ¸·Î ÃøÁ¤Çϰí, À̰Ͱú ·Îº¿ÀÌ °¡¾ß ÇÒ À§Ä¡¿Í ºñ±³ÇÑ´Ù. ±×¶§ ±× ½Ã½ºÅÛÀ» ÀûÀýÇÑ À§Ä¡¿¡ ±¸µ¿½Ã۱â À§ÇÏ¿© Çǵå¹éÀ» ÇÑ´Ù. ½Ã½ºÅÛÀÌ ÀÚ±â-±³Á¤ ´É·ÂÀ» °®°í Àֱ⠶§¹®¿¡, ¸»´ÜÀåÄ¡ÀÇ ¿øÇÏ´Â À§Ä¡°¡ Á¦¾î±â ¸Þ¸ð¸®¿¡ ÀúÀåµÈ´Ù. ÀÌ·¯ÇÑ Â÷ÀÌ´Â Æó·çÇÁ Á¦¾î ÁßÀÎ ·Îº¿ÀÌ ÀÛ¾÷°ø°£ ³»ÀÇ ÀÓÀÇÀÇ Á¡¿¡¼ Á¤ÁöÇϵµ·Ï ÇÁ·Î±×·¥À» ÇÒ ¼ö ÀÖ´Ù. ±×¸² 20 Àº ÀüÇüÀûÀÎ ¼º¸ ½Ã½ºÅÛ (servo system) À» º¸¿©ÁØ´Ù.

±×¸² 20 ÀüÇüÀûÀÎ ¼º¸ ½Ã½ºÅÛ ºí·Ï¼±µµ
±×¸² 21 Àº ¼º¸ ·Îº¿ (servo robot) ÀÇ Á¶ÀÛ¿ø¸®¸¦ ¼³¸íÇϰí ÀÖÀ¸¸ç À¯¾Ð µ¿·Â°ø±ÞÀåÄ¡¸¦ °¡Áø 6Ãà ·Îº¿ÀÇ °³³äµµÀÌ´Ù.

±×¸² 21 ½ÇÁ¦ÀûÀÎ ¼º¸ ·Îº¿ ½Ã½ºÅÛ (Æó·çÇÁ)
»çÀÌŬÀÌ ½ÃÀÛµÉ ¶§ Á¦¾î±âµéÀº ¿ä±¸µÇ´Â À§Ä¡¸¦ ¿ì¼± ÁöÁ¤Çϰí, °¢ ÃàÀÇ ½ÇÁ¦ À§Ä¡·Î ºÐÇØÇÑ´Ù. Á¦¾î±â¿¡¼ ¹ß»ýµÇ´Â ¿ä±¸ À§Ä¡½ÅÈ£´Â ¸®Á¹¹ö (resolver) ·ÎºÎÅÍ µé¾î¿À´Â Çǵå¹é ½ÅÈ£¿Í ºñ±³µÈ´Ù. ¿ÀÂ÷½ÅÈ£·Î ¾Ë·ÁÁø ½ÅÈ£µéÀÇ Â÷À̰ªÀº ÁõÆøµÇ¾î ¼º¸ ¹ëºê¿¡ Àΰ¡µÈ´Ù. ±× ¹ëºê´Â ÁõÆø±â¿¡ ÀÇÇÏ¿© ¹ß»ýµÈ ¸í·É½ÅÈ£ÀÇ ·¹º§¿¡ ºñ·ÊÇÑ ¾ç¸¸Å ¿¸°´Ù. ¿¸° ¹ëºê´Â À¯Ã¼°¡ ¸Ó´Ïǽ·¹ÀÌÅÍ»óÀÇ ¾×Ãß¿¡ÀÌÅÍ¿¡ È帣µµ·Ï Çϸç, ±×¶§ ¾×Ãß¿¡ÀÌÅÍ´Â ¸Ó´Ïǽ·¹ÀÌÅ͸¦ ¿òÁ÷ÀδÙ. »õ·Î¿î ½ÅÈ£µéÀº ¸Ó´Ïǽ·¹ÀÌÅͰ¡ ¿òÁ÷ÀÓ¿¡ µû¶ó¼ ¹ß»ýµÈ´Ù. ¿ÀÂ÷½ÅÈ£°¡ 0¿¡ µµ´ÞÇÏ¸é ¼º¸ Á¦¾î¹ëºê´Â ´ÝÈ÷°í, À¯Ã¼ÀÇ È帧À» ¸·´Â´Ù. À̶§ ¸Ó´Ïǽ·¹ÀÌÅÍ´Â ¿øÇÏ´Â ÁöÁ¡¿¡ µµ´ÞÇÏ°Ô µÈ´Ù. ±×¸®°í Á¦¾î±â´Â ¸Þ¸ð¸® ³»ÀÇ ´ÙÀ½ À§Ä¡¸¦ Àо´Ù. ÀÌ·¯ÇÑ °úÁ¤Àº ÇÁ·Î±×·¥ÀÇ ¸ðµç ´Ü°èµéÀÌ ¿Ï·áµÉ ¶§±îÁö ¹Ýº¹µÈ´Ù. ȸÀü¼Óµµ°è (tachometer) ´Â À̵¿ÀÇ °¡¼Óµµ¿Í °¨¼Óµµ¸¦ Á¦¾îÇϱâ À§ÇÏ¿© Á¦¾î±â¿Í Á¢¼ÓÇÏ¿© »ç¿ëµÈ´Ù.
¼º¸Á¦¾î ·Îº¿Àº ÆÈÀÇ ½ÃÄö½º¿Í ÇÁ·Î±×·¥µÈ °æ·Î ¶Ç´Â À±°û¸éÀ» µû¶ó À̵¿Çϵµ·Ï ¸»´ÜÀåÄ¡ÀÇ À§Ä¡µéÀ» ±â¾ïÇÏ´Â Á¦¾î±â¿¡ ÀÇÇÏ¿© ÅëÁ¦µÈ´Ù. ¼ö¹é ¶Ç´Â ¼öõÀÇ Á¡µéÀÌ ÄÄÇ»ÅÍ ¸Þ¸ð¸® ³»¿¡ ÀúÀåµÉ ¼ö ÀÖ°í, °æ·Î¿¡ µû¸¥ ¼Óµµ¿Í °¡¼Óµµ°¡ Á¦¾îµÉ ¼ö ÀÖ´Ù.
¿£ÄÚ´õ (encoder) ¶ó´Â Æ®·£½ºµà¼µéÀº À§Ä¡ µ¥ÀÌÅ͸¦ °¢ °üÀý¿¡ À§Ä¡ Çǵå¹éÀ» ÁÖ´Â Àü±âÀû ½ÅÈ£·Î ¹Ù²Ù±â À§ÇØ ·Îº¿ ÆÈ¿¡ ºÎÂøµÈ´Ù. Çǵå¹é ½ÅÈ£µéÀº ·Îº¿ ¿îµ¿À» Á¦¾îÇϱâ À§ÇØ ¿ä±¸µÇ´Â ¸ñÇ¥À§Ä¡¿Í ºñ±³µÈ´Ù. ¼Óµµ µ¥ÀÌÅÍ´Â ¿£ÄÚ´õ ½ÅÈ£µé·ÎºÎÅÍ °è»êµÉ ¼öµµ ÀÖ°í, ¼º¸ÀÇ ¾ÈÁ¤¼ºÀ» º¸ÀåÇϰí, ¿îµ¿À» ºÎµå·´°Ô Çϱâ À§ÇØ ºÎ°¡ÀûÀÎ Çǵå¹é ¼¾¼µé·ÎºÎÅÍ ¾òÀ» ¼öµµ ÀÖ´Ù.
Æó·çÇÁ Á¦¾îÀÇ ÀåÁ¡µéÀº ´ÙÀ½°ú °°´Ù:
Æó·çÇÁ Á¦¾îÀÇ ´ÜÁ¡µéÀº ´ÙÀ½°ú °°´Ù:
ºñ¼º¸ ·Îº¿Àº ºñÁö´ÉÀûÀÎ ·Îº¿À¸·Î¼ ºÐ·ùµÇ°í, ¼º¸ ·Îº¿Àº Áö´ÉÀûÀ̰ųª ¸Å¿ì °íÁö´ÉÀûÀÎ ·Îº¿À¸·Î ºÐ·ùµÈ´Ù. Áö´ÉÀû ·Îº¿°ú °í Áö´ÉÀû ·Îº¿ÀÇ Â÷À̴ ȯ°æÀ» ÀνÄÇÏ´Â ·¹º§ÀÌ´Ù. (Á¦¾î ½Ã½ºÅÛÀº 8Àå¿¡¼ »ó¼¼ÇÏ°Ô ³íÀǵȴÙ.)
·Îº¿ ÇØºÎÇÐ (robot anatomy) Àº ½ÅüÀÇ ±¸Á¶¿Í ·Îº¿ ¸Ó´Ïǽ·¹ÀÌÅÍÀÇ ±¸¼º¿ä¼ÒÀÎ ¸öü, ÆÈ°ú ¼Õ¸ñÀÇ Æ¯¼º¿¡ °üÇÑ °ÍÀÌ´Ù. ¿À´Ã³¯ ´ëºÎºÐÀÇ ·Îº¿Àº º£À̽º À§¿¡ ¼³Ä¡µÈ´Ù. ¸öü´Â º£À̽º¿¡ ºÎÂøµÇ¸ç, ÆÈÀº ¸öü¿¡ ºÎÂøµÈ´Ù. ¼Õ¸·Àº ÆÈÀÇ ³¡¿¡ ÀÖ°í, ±×°ÍÀº ¿©·¯ À§Ä¡·Î ÇâÇÒ ¼ö ÀÖµµ·Ï ¸¹Àº ±¸¼º¿ä¼Òµé·Î ÀÌ·ç¾îÁ® ÀÖ´Ù. ¸öü, ÆÈ°ú ¼Õ¸ñÀÇ ¿©·¯ °¡Áö ±¸¼º¿ä¼Òµé »çÀÌÀÇ ¿òÁ÷ÀÓÀº ÀÏ·ÃÀÇ °üÀý¿¡ ÀÇÇØ Á¦°øµÈ´Ù. ÀÌ·¯ÇÑ °üÀýÀº ÀϹÝÀûÀ¸·Î ȸÀü ¶Ç´Â ¹Ì²ô·³ ¿îµ¿À» ¼öÇàÇÑ´Ù (±×°ÍÀº 3Àå¿¡¼ »ó¼¼È÷ ¼¼úµÈ´Ù) .
ÀÛ¾÷À» ¼öÇàÇÏ´Â ¸»´ÜÀåÄ¡´Â ·Îº¿ÀÇ ¼Õ¸ñ¿¡ ºÎÂøµÈ´Ù. (¸»´ÜÀåÄ¡´Â 5Àå¿¡¼ ´õ¿í´õ ¼¼ºÎÀûÀ¸·Î ³íÀÇµÉ °ÍÀÌ´Ù.) ¸Ó´Ïǽ·¹ÀÌÅÍÀÇ ¸öü¿Í ÆÈ °üÀýÀº ¸»´ÜÀåÄ¡¸¦ °ø°£»óÀÇ ÇÑ Á¡¿¡ À§Ä¡½ÃŰ´Â µ¥ »ç¿ëµÇ°í, ¸Ó´Ïǽ·¹ÀÌÅÍÀÇ ¼Õ¸ñ °üÀýÀº ¸»´ÜÀåÄ¡ÀÇ °ø°£»ó¿¡¼ÀÇ ¹æÇâÀ» Á¤ÇÏ´Â µ¥ »ç¿ëµÈ´Ù.
»ê¾÷¿ë ·Îº¿µéÀº ÀÀ¿ëºÐ¾ß¿¡ µû¶ó¼ Çü»ó, Å©±â, ¼Óµµ, ºÎÇÏ ´É·Â¿¡ ÀÖ¾î¼ ´Ù¾çÇÏ´Ù. ±×¸®°í ·Îº¿ÀÇ ¿îµ¿Æ¯¼ºÀº ±×µéÀÇ ±â°èÀû ¼³°è¿¡ ÀÇÁ¸ÇÑ´Ù. ¿À´ÃÀÇ »ó¾÷ÀûÀ¸·Î ÀÌ¿ë °¡´ÉÇÑ ´ëºÎºÐÀÇ ·Îº¿µéÀº 5°³ÀÇ º°°³ÀÇ µðÀÚÀÎ Çü»óµéÀ» °¡Áö°í ÀÖ´Ù.

±×¸² 22 »ó¾÷¿ë ·Îº¿ÀÇ 5 °¡Áö Çü»ó : (a) Á÷±³Çü, (b) ¿øÅëÇü), (c) ±¸Çü, (d) °üÀýÇü, (e) SCARA.
5°¡ÁöÀÇ ·Îº¿ Çü»óµéÀÌ ±×¸² 22 ¿¡ ³ªÅ¸³ª ÀÖ´Ù.
(a) ¿¡ ³ªÅ¸³½ Á÷±³Çü Çü»óÀº ¼·Î ¼öÁ÷À¸·Î¼ x, y¿Í zÃàÀ¸·Î ±¸¼ºµÈ 3°³ÀÇ ½½¶óÀ̵å (slide) ¸¦ »ç¿ëÇÑ´Ù. 3°³ÀÇ ½½¶óÀ̵带 ¼·Î ¿òÁ÷ÀÓÀ¸·Î½á, ·Îº¿Àº Á÷±³ÇüÀÇ ÀÛ¾÷¿µ¿ª ³»¿¡¼ µ¿ÀÛÇÒ ¼ö ÀÖ´Ù.
(b) ¿¡ ³ªÅ¸³½ ¿øÅëÇü Çü»óÀº 1°³ÀÇ ¼öÁ÷ Ä®·³ (column) °ú ±× Ä®·³À» µû¶ó¼ ¾Æ·¡À§·Î ¿òÁ÷ÀÏ ¼ö ÀÖ´Â 1°³ÀÇ ½½¶óÀ̵带 »ç¿ëÇÑ´Ù. ·Îº¿ ÆÈÀº Ä®·³¿¡ ´ëÇÏ¿© ¹ÝÁö¸§ ¹æÇâÀ¸·Î ¿òÁ÷ÀÏ ¼ö ÀÖµµ·Ï ½½¶óÀ̵忡 ºÎÂøµÈ´Ù. Ä®·³À» ȸÀüÇÔÀ¸·Î½á ·Îº¿Àº ¿øÅëÇüÀÇ ÀÛ¾÷¿µ¿ª ³»¿¡¼ µ¿ÀÛÇÒ ¼ö ÀÖ´Ù.
(c) ¿¡ ³ªÅ¸³½ ±¸ÇüÀÇ Çü»óÀº ¼öÆò ÇǺ¿ Á¡¿¡ ´ëÇÏ¿© ¿Ã¶ó°¡°Å³ª ³»·Á°¥ ¼ö ÀÖ´Â ÅÚ·¹½ºÄÚÇÈ (telescopic) ÆÈÀÌ »ç¿ëµÈ´Ù. ÇǺ¿ Á¡Àº ȸÀü º£À̽º À§¿¡ ¼³Ä¡µÇ°í, ·Îº¿À» ¼öÁ÷À¸·Î ¿òÁ÷ÀÌ°Ô ÇÑ´Ù. ÀÌ·¯ÇÑ ¿©·¯ °¡Áö °üÀýµéÀº ±¸ÇüÀÇ °ø°£ ³»¿¡¼ ±× ÆÈÀ» ¿òÁ÷ÀÌ´Â ´É·ÂÀ» °¡Áø ·Îº¿À» Á¦°øÇÑ´Ù.
(d) ¿¡ ³ªÅ¸³½ °üÀýÇü Çü»óÀº Àΰ£ÀÇ ÆÈÀÇ Çü»ó°ú À¯»çÇÏ¸ç ¾î±ú¿Í ÆÈ²ÞÄ¡ °üÀýÀ» Áß½ÉÀ¸·Î ȸÀüÇÏ´Â 2°³ÀÇ Á÷¼±¸µÅ©·Î ÀÌ·ç¾îÁ® ÀÖ´Ù. ¼Õ¸ñÀº ºÎ°¡ÀûÀÎ °üÀýÀ» Á¦°øÇÏ¸ç ÆÈ¶ÒÀÇ ³¡¿¡ ºÎÂøµÈ´Ù. ÀÛ¾÷¿µ¿ªÀº ºÒ±ÔÄ¢ÇÑ ÇüÅÂÀÌ´Ù. À§¿¡¼ º¸¸é ÀÛ¾÷¿µ¿ªÀº ¿øÀ̸ç, Ãø¸é¿¡¼ º¸¸é °üÀýÀÇ ÇѰè·Î ÀÎÇÏ¿© ³»ºÎ´Â ¹°°á ¸ð¾çÀ» °¡Áø Ç¥¸éÀÇ ¿øÀÌ´Ù.
(e) ¿¡ ³ªÅ¸³½ SCARA Çü»óÀº ¾î±ú¿Í ÆÈ²ÞÄ¡ °üÀýµéÀÌ ¼öÆòÃà ´ë½Å¿¡ ¼öÁ÷Ãà¿¡ ´ëÇÏ¿© ȸÀüÇÏ´Â °üÀý ·Îº¿ÀÇ Æ¯º°ÇÑ ÇüÅÂÀÌ´Ù. ÀÛ¾÷¿µ¿ªÀº ¿øÅëÇüÀ̰í, ´ëºÎºÐÀÇ ´Ù¸¥ Çü»óµé¿¡ ºñÇØ ¸Å¿ì Å©´Ù.
·Îº¿Àº Á¦Á¶°øÀåÀÇ ¹Ù´Ú¿¡ ¿µ±¸È÷ ºÎÂøµÉ ¼öµµ ÀÖ°í, ¿À¹öÇìµå ¼±·ÎµéÀ» µû¶ó ¿òÁ÷ÀÏ ¼öµµ ÀÖ°í (±âÁ߱⠷κ¿) , °øÀå ¹Ù´ÚÀ» µû¶ó ¿òÁ÷À̱â À§ÇØ ¹ÙÄûµéÀ» °®Ãß°í ÀÖÀ» ¼öµµ ÀÖ´Ù (À̵¿ ·Îº¿) .
ÃÖ±Ù ¸î ³â µ¿¾È »ç¶÷µéÀº ·Îº¿¿¡ °üÇÑ ½ÃÀå ¼ºÀå·üÀÌ ÀüÀÚÄÄÇ»ÅÍ¿Í ºñ½ÁÇÒ °ÍÀ̶ó°í ¿¹°ßÇÏ¿´´Ù. ÃÖ±Ù °³¹ß ÁßÀÎ »õ·Î¿î ÄÄÇ»ÅÍ ¼¼´ë´Â ÀΰøÁö´É ÇÁ·Î±×·¥ÀÇ ´É·ÂÀ» ±²ÀåÈ÷ Áõ°¡½ÃÄ×´Ù. ÀÌ·¯ÇÑ ÇÁ·Î±×·¥ÀÌ ·Îº¿°øÇп¡ Àû¿ëµÇ¾úÀ» ¶§ ·Îº¿ÀÇ ´É·ÂÀº »ó´çÈ÷ Áõ°¡ÇÒ °ÍÀÌ´Ù.
¼¾¼´Â ³í¸®¼ÒÀÚ¿Í °áÇÕµÇ¾î »ç¿ëµÇ±â À§ÇÏ¿© ¼ÒÇüȵǴ °æÇâÀÌ ÀÖ´Ù. ¼¾¼ºÐ¾ß¿¡¼ »õ·Î¿î °³¹ß¿¡´Â ¸¶ÀÌÅ©·ÎÄÄÇ»ÅÍ ±â¹ÝÀÇ ±³Á¤, °è»ê°ú ÀÇ»ç°áÁ¤À» ÇÒ ¼ö ÀÖ´Â ¼¾¼ À¶ÇÕ (sensor fusion) ¹× °í¼º´É ¼¾¼ (smart sensor) °¡ Æ÷ÇԵǾî ÀÖ´Ù.
Àü¹®°¡ ½Ã½ºÅÛ (expert system) Àº ÄÄÇ»ÅÍ ÇÁ·Î±×·¥À¸·Î¼ ¹®Á¦¸¦ Ç®°í ÀÇ»ç °áÁ¤ÇÏ´Â °ÍÀ» ÇØ°áÇϱâ À§ÇÏ¿© Àü¹®°¡ µ¥ÀÌÅͷκÎÅÍ ¾ò¾îÁø ÀΰøÁö´É°ú Áö½Ä±â¹ÝÀ» Ȱ¿ëÇÑ´Ù. ±×µéÀº ¶ÇÇÑ ·Îº¿¿¡ °üÇÑ À¯Áöº¸¼ö¿Í Áø´ÜÀ» ´Ü¼øÈÇÏ´Â µ¥ »ç¿ëµÇ°í ÀÖ´Ù. ÀÌ·¯ÇÑ ½Ã½ºÅÛµéÀº ·Îº¿ ÀÛ¾÷¼¿ (workcell) À» ÇÁ·Î±×·¡¹ÖÇϰí, ÀÛ¾÷¼¿ °øÁ¤ ½Ã½ºÅÛµé »çÀÌ¿¡¼ µ¿ÀûÀ¸·Î Á¦Ç° °æ·Î¸¦ ¸¸µå´Â µ¥ »ç¿ëµÇ°í ÀÖ´Ù.
1984³â¿¡ Àü¼¼°èÀûÀ¸·Î ³ëµ¿·Â°ú Àα¸ÀÇ ¼ºÀå·üÀÌ ÁÙ¾îµé±â ½ÃÀÛÇÏ¿´´Ù. ¿ì¸®´Â Áö±Ý ³ëµ¿·ÂÀÌ ½ÇÁ¦ÀûÀ¸·Î ÁÙ¾îµå´Â ½Ã´ë¿¡ Á¢±ÙÇϰí ÀÖ´Ù. ÀÌ·¯ÇÑ »óȲ¿¡¼, ¿©·¯ °¡ÁöÀÇ ´ú ¸Å·ÂÀûÀÎ Á÷¾÷, Áï ·Îº¿µéÀÌ ´ë½ÅÇÒ ¼ö ÀÖ´Â Á÷¾÷¿¡ Á¾»çÇÒ ³ëµ¿·ÂÀ» ã´Â °ÍÀº ´õ¿í´õ ¾î·Á¿öÁú °ÍÀÌ´Ù. ¹Ì±¹ÀÇ ·Îº¿ »ê¾÷Àº ¸Å³â 25~35%ÀÇ ¼ºÀå·üÀ» º¸Àδٰí RIA¿¡ ÀÇÇØ Æò°¡µÇ¾ú´Ù.
À½¼º-ÀÛµ¿ ·Îº¿Àº ¹°¸®ÀûÀ¸·Î ºÒ°¡´ÉÇÑ °ÍÀ» µ½±â À§ÇØ Áö±Ý ½ÇÇèÀûÀ¸·Î »ç¿ëµÇ°í ÀÖ´Ù. ±×µéÀº °ð ¿©·¯ °¡Áö ¹æ¹ýÀ¸·Î ¹«´É·ÂÇÑ »ç¶÷µéÀ» µ½´Â µ¥ ÀϹÝÀûÀ¸·Î ÀÌ¿ëÇÒ ¼ö ÀÖÀ» °ÍÀÌ´Ù.
»õ·Î¿î Á¾·ùµéÀÇ ·Îº¿ ¾×Ãß¿¡ÀÌÅ͵鵵 ¿ª½Ã ³ªÅ¸³¯ °ÍÀÌ´Ù. À̰͵éÀº Çü»ó±â¾ï ÇÕ±ÝÀü¼± (shape-memory alloy wire) ¶Ç´Â Àΰø±ÙÀ° (artificial muscle) µéÀ» ÀÌ¿ëÇÒ °ÍÀÌ´Ù.
ÀϺ»¿¡¼ ¿ÏÀü ÀÚµ¿È °øÀåÀÌ °³¹ß Áß¿¡ ÀÖÀ¸¸ç, °¡±î¿î ¹Ì·¡¿¡ ¿Ï¼ºµÉ °ÍÀÌ´Ù. ±×¸®°í ÀÌ °øÀåµéÀº À¯¿¬¼ºÀ» ÇÊ¿ä·Î ÇÏ´Â ºÐ¾ß¿¡ ·Îº¿µéÀ» »ç¿ëÇÒ °ÍÀÌ´Ù.
ÀϺ» Á¤ºÎ´Â ¼öõ ´ëÀÇ ¸¶ÀÌÅ©·ÎÄÄÇ»ÅͰ¡ º´·Ä·Î ÀÛ¾÷À» ¼öÇàÇÏ´Â Á¦ 5 ¼¼´ë ÀüÀÚÄÄÇ»ÅÍ¿¡ °üÇÑ ¿¬±¸¸¦ Çϰí ÀÖ´Ù. ÀÌ·¯ÇÑ ¼³°è´Â ÀΰøÁö´É ÇÁ·Î±×·¥µéÀÇ Áö´ÉÀû ´É·ÂÀ» ±²ÀåÈ÷ Áõ°¡½Ãų °ÍÀÌ´Ù. ¹Ì±¹ÀÇ È¸»çµéµµ ¿ª½Ã Á¦ 5 ¼¼´ë ÄÄÇ»ÅÍ¿¡ °üÇØ ¿¬±¸Çϰí ÀÖ´Ù.
1960³â´ëÀÇ Ã·´Ü±â¼ú ¹ß´Ü ÀÌÈÄ¿¡ ·Îº¿ Á¦¾î±âÀÇ 5 ¼¼´ë´Â ´ÙÀ½°ú °°´Ù.
1. Á¦1¼¼´ë: ¹Ýº¹ ·Îº¿. ÀϹÝÀûÀ¸·Î °ø¾Ð µ¿·ÂÀ» °¡Áö°í Á¤ÁöÁ¡µé·Î¼ ±â°èÀû ½ÃÄö½º¸¦ ±¸¼ºÇÑ ÇÈ-Ç÷¹À̽º (pick and place) ·Îº¿À̾ú´Ù. Ä·-Æú·Î¾î (cam-and-follower) ¸¦ °¡Áø ȸÀüµå·³Àº ÇÁ·Î±×·¡¹ÖÀ» Á¦°øÇß´Ù. ·Îº¿À» Àç ÇÁ·Î±×·¥À» Çϱâ À§ÇÏ¿© »õ·Î¿î Á¤¹Ð Ä·ÀÌ ¼³Ä¡µÇ¾ú´Ù. ÃʱâÀÇ ·Îº¿ÀÇ 90% ÀÌ»óÀÌ ÀÌ ºÐ·ù¿¡ ¼ÓÇÑ´Ù°í ¿¹ÃøµÈ´Ù.
2. Á¦2¼¼´ë: Çϵå¿þ¾î Á¦¾î±â´Â ÃÖÃÊ·Î ÇÁ·Î±×·¥À» ÇÒ ¼ö ÀÖ´Â À¯´ÖÀ» Á¦°øÇß´Ù. ÇÈ-Ç÷¹À̽º ·Îº¿¿¡¼ ½ÅÈ£µéÀº ¸®¹ÌÆ® ½ºÀ§Ä¡, ±ÙÁ¢ ½ºÀ§Ä¡¿Í À¯»çÇÑ ÀåÄ¡¿¡¼ ¹ß»ýµÇ¾ú´Ù. ÀÌ·¯ÇÑ Á¦¾î±âµéÀº ¼º¸ Á¦¾î¿¡ Àû¿ëÇÒ ¼ö ÀÖ¾ú´Ù. Àü±â ½Ã½ºÅÛÀº ¸¹Àº ¸±·¹ÀÌ·Î ±¸¼ºµÇ¾ú°í Àç ¹è¼±À» ÇÏ·Á¸é Àç ÇÁ·Î±×·¥À» ÇØ¾ß¸¸ Çß´Ù. ÀÌ·¯ÇÑ Á¦¾î´Â °£´ÜÇÑ ÇÈ-Ç÷¹À̽º ·Îº¿¿¡ ¾ÆÁ÷µµ »ç¿ëµÇ°í ÀÖÀ¸¸ç, ´ÜÁö °£´ÜÇÑ ¿îµ¿ÀÌ ¿ä±¸µÇ´Â »óȲ¿¡¼ °¡Àå °æÁ¦ÀûÀÎ ÇØ°áÃ¥À¸·Î¼ ¿ªÇÒÀ» ÇÒ °ÍÀÌ´Ù.
3. Á¦3¼¼´ë: ÇÁ·Î±×·¡¸Óºí ³í¸® Á¦¾î±â (PLC: programmable logic controller) ´Â, 13³â Àü¿¡ »ê¾÷µµ µµÀԵǾú°í, Àç ÇÁ·Î±×·¥Çϱ⠽¬¿î ¸¶ÀÌÅ©·ÎÇÁ·Î¼¼¼ ±â¹ÝÀÇ ·Îº¿ Á¦¾î±â¸¦ Á¦°øÇÏ¿´´Ù. ÀÌ Á¦¾î±â´Â ÁÖ·Î ·Îº¿ ¿îµ¿ÀÇ ½ÃÄö½º, Á¤ÁöÁ¡, ±×¸®ÆÛ µ¿ÀÛ°ú ¼Óµµ¸¦ Á¦¾îÇÑ´Ù.
4. Á¦4¼¼´ë: PLC ÀÌ»óÀ¸·Î Á¦¾î°¡ ÇÊ¿äÇÒ ¶§, ¸¶ÀÌÅ©·ÎÄÄÇ»ÅÍ´Â ·Îº¿ ÀÛ¾÷¼¿¿¡¼ ÇÁ·Î±×·¥À» ÇÒ ¼ö ÀÖ´Â ±â°è·ù¸¦ Æ÷ÇÔÇÑ Àüü ½Ã½ºÅÛÀ» Á¦¾îÇÒ ¼ö ÀÖ´Ù. PLCµéÀº ÇÁ·Î±×·¡¹ÖÇÏ´Â µ¥ Á¦ÇÑÀÌ ÀÖ´Â ¹Ý¸é¿¡, ¹Ì´ÏÄÄÇ»ÅÍ (minicomputer) ´Â ´õ¿íµÈ ¿ÀÇÁ¶óÀÎ ÇÁ·Î±×·¡¹Ö (off-line programming) ¶Ç´Â CAD/CAM°ú CIM ÀÎÅÍÆäÀ̽º¿¡ ´ëÇØ¼ Ưº°ÇÑ ·Îº¿ ÇÁ·Î±×·¡¹Ö ¾ð¾î³ª BASIC, C ¶Ç´Â C++¿Í °°Àº ¾ð¾î¸¦ ÀÌ¿ëÇÒ ¼ö ÀÖ´Ù. ÀΰøÁö´ÉÀÇ ±â¹ÝÀ» µÐ ¹Ì´ÏÄÄÇ»ÅÍ ÇüÅÂÀÇ ·Îº¿µéÀº 1980³â´ë ¸»¿¡ »ó¾÷ÀûÀ¸·Î ÀÌ¿ëÇÒ ¼ö ÀÖ°Ô µÇ¾ú´Ù. ÀÌ·¯ÇÑ Á¦¾î±âµéÀº Áö±Ý ¿µ»ó ¶Ç´Â Ã˰¢¼¾¼¿Í ÅëÇÕÀÌ °¡´ÉÇÏ´Ù.
5. Á¦5¼¼´ë: ·Îº¿ Á¦¾î±â´Â ¿Ïº®ÇÑ ÀΰøÁö´É (AI) , ÃʼÒÇü ¼¾¼ ¹× ÀÇ»ç°áÁ¤ ´É·ÂÀ» °¡Áú °ÍÀÌ´Ù. ¾Õ¿¡¼ ¼³¸íÇÑ °Íó·³, ±×¸®ÆÛ À§Ä¡ÀÇ Å½»ö°æ·Î ¼±Á¤ °°Àº ¿¹¿¡¼ ¾Ë ¼ö ÀÖµíÀÌ AI¾Ë°í¸®ÁòÀÇ Ãʺ¸ÀûÀÎ ´Ü°èÀÇ ¿¬±¸´Â ÀÌ¹Ì ¿Ï¼ºµÇ°í ÀÖ´Ù. Àΰø »ý¹°ÇÐÀû ·Îº¿ (artificial biological robot) Àº Á¦6¼¼´ë¿Í ±× ÀÌÈÄ ¼¼´ëÀÇ ·Îº¿ÀÇ ¹ßÀü¿¡ ´ëÇÑ ¹æÇâÀ» Á¦°øÇÒ °ÍÀÌ´Ù. ±×¸² 23 Àº °¢ ·Îº¿ ¼¼´ëµéÀÌ ÁßøµÇ¸é¼ ¹ßÀüÇÏ´Â ¾ç»óÀ» º¸¿©ÁÖ°í ÀÖ´Ù.

±×¸² 23 ·Îº¿ ¼¼´ë
Àΰ£ÀÇ ³ëµ¿ÀÚµéó·³, ·Îº¿µéÀº °¢ÀÚÀÇ °³¼º, Ư¡°ú ´É·ÂÀ» °¡Áø´Ù. ±×·¯¹Ç·Î ·Îº¿Àº ÀÛ¾÷ ¿ä±¸»çÇ׿¡ ´ëÇØ¼ ÀûÀýÈ÷ ¼±ÅõǾî¾ß ÇÏ´Â °ÍÀº ÇʼöÀûÀÌ´Ù. ÀÌ·¯ÇÑ ·Îº¿ ¼±ÅÃÀÇ ¹®Á¦´Â ÃÖÀûÀÇ ½Ã½ºÅÛ ¼³°è¸¦ ´õ¿í ±î´Ù·Ó°í ¾î·Æ°Ô ÇÑ´Ù. µû¶ó¼ ÀÛ¾÷Àå ¾È¿¡¼ ·Îº¿ÀÌ ¿ä±¸µÇ´Â Ư¼ºµéÀÌ Á¤È®È÷ Á¤¸®µÉ Çʿ䰡 ÀÖ´Ù. ÀÌ»óÀûÀÎ ¹æ¹ýÀº ¸ÕÀú ·Îº¿À» ¼±ÅÃÇÏ´Â °ÍÀÌ ¾Æ´Ï¶ó, ·Îº¿ÀÇ ÃÖÁ¾ÀûÀÎ ¼±ÅÃÀÌ ÀÌ·ç¾îÁö±â Àü¿¡ ¸ðµç °¡´ÉÇÑ ÀÛ¾÷À» Á¤È®È÷ Á¤ÀÇÇÏ´Â °ÍÀÌ´Ù.
½Ã½ºÅÛÀ» µðÀÚÀÎÇÏ´Â µ¥ ÀÖ¾î¼, ¿ì¸®´Â ÀÚµ¿ÈÀÇ °³³ä¿¡ ´ëÇÑ ¾ÆÀ̵ð¾î¸¦ ¼öµ¿À¸·Î Çϰí ÀÖ´Â ÀÛ¾÷À» °üÂûÇÔÀ¸·Î½á ¾òÀ» ¼ö ÀÖ´Ù. ¿©±â¿¡¼ °Á¶ÇÒ Á¡Àº Àΰ£ ³ëµ¿ÀÚ°¡ ÇØ¾ß ÇÏ´Â ¸ðµç °ÍÀ» ÀÚµ¿È°¡ ¶È°°ÀÌ ÇÏ·Á´Â °ÍÀº ¹Ýµå½Ã ÇÊ¿äÇÑ °ÍÀÌ ¾Æ´Ï°í, ¿ÀÈ÷·Á Àΰ£ ´É·ÂÀÇ °ßÁö¿¡¼ ÀÛ¾÷ ¿ä¼Ò¸¦ ºÐ¼®ÇÏ°í ¾î¶»°Ô ±×µéÀÌ ·Îº¿¿¡ ´ëÇØ À籸¼ºµÉ ¼ö Àִ°¡¸¦ ºÐ¼®ÇÏ´Â °ÍÀÌ ÇÊ¿äÇÏ´Ù. ÀÌ·¯ÇÑ ÀÛ¾÷ À籸¼ºÀ» ÅëÇÏ¿©, ¿ì¸®µéÀº ·Îº¿ÀÇ »õ·Î¿î ´É·ÂµéÀ» °³Ã´ÇÒ ¼ö ÀÖ´Ù.
ÀÀ¿ë°³¹ß, ½Ã½ºÅÛ µðÀÚÀΰú ÀÛ¾÷ À籸¼º¿¡ °üÇÑ ÀûÇÕÇÑ °á·ÐÀ» ¾ò±â À§ÇÏ¿© ÇÁ·Î¼¼½º Áö½Ä (process knowledge) À» °üÂûÇÏ°í °ËÅäÇÏ´Â °ÍÀÌ ÇÊ¿äÇÏ´Ù. ´ë¾ÈÀ¸·Î¼, È¿À²ÀûÀÎ °³¼±Àº ÇÁ·Î¼¼½º¸¦ ÀüȯÇϰųª Á¶ÇÕÇϰí, À¯¿¬¼ºÀÖ´Â ¼¿ ´ÜÀ§ ÀÛ¾÷À¸·Î Á¦Á¶µÉ ºÎºÐÀ» ºÎǰ±ºº°·Î ±×·ìÈÇϰí, ±×¸®°í ´Ù¸¥ ±×·ìÀÇ ±â¼úÀû Á¢±ÙÀ» ÀÀ¿ëÇÔÀ¸·ÎºÎÅÍ ÀÌ·ç¾îÁú ¼ö ÀÖ´Ù.
½Ã½ºÅÛ ¿ä¼ÒµéÀÌ ÀÀ¿ë°³¹ß ´Ü°è¿¡¼ Àç¼³°èµÊ¿¡ µû¶ó¼ ¸»´ÜÀåÄ¡ÀÇ ¼³°è °³³ä¿¡ ÁÖÀÇÇÏ¿©¾ß ÇÑ´Ù. ¸»´ÜÀåÄ¡´Â Àüü ½Ã½ºÅÛÀÇ Á¤¹Ðµµ¸¦ Á¿ìÇÏ´Â ÃÖÁ¾ÀÇ °øÁ¤´Ü°è, Áï °¡°ø ¹× Á¶¸³µÇ´Â ºÎǰ¿¡ Á÷Á¢ÀûÀÎ ¿µÇâÀ» ÁÖ´Â ¿ä¼ÒÀÓÀ» ¸í½ÉÇÏ¿©¾ß ÇÑ´Ù.
Ç¥ 1 ·Îº¿ ¼±Åà ±âÁØ
|
±â¼úÀû °üÁ¡ |
ºñ±â¼úÀû °üÁ¡ |
|
1. ÇüÅ a. ºñ¼º¸ b. ¼º¸ c. ¼º¸Á¦¾î 2. ÀÛ¾÷°ø°£ a. Á÷±³Çü b. ¿øÅëÇü c. ±¸Çü d. °üÀýÇü e. SCARA 3. ÀûÀçÇÏÁß 4. »çÀÌŬ ŸÀÓ 5. ¹Ýº¹ Á¤¹Ðµµ 6. ±¸µ¿±â a. Àü±â b. °ø¾Ð c. À¯¾Ð d. À̵éÀÇ Á¶ÇÕ 7. µ¶Æ¯ÇÑ ´É·Â |
1. ºñ¿ë°ú ÀÌÀÍ °í·Á 2. ÀåºñÀÇ ¹ü¿ë¼º 3. ÈÆ·Ã°ú À¯Áöº¸¼ö ¿ä±¸»çÇ× 4. ½Å·Úµµ 5. ¼ºñ½º 6. "½Ã½ºÅÛ"ÀÇ µµ¿ò¸» 7. ¾ÈÀüµµ |
ÀÛ¾÷¿¡ ÀûÇÕÇÑ ·Îº¿ ÇüÅÂ¿Í ¼±Åûç¾çÀ» °áÁ¤ÇÏ´Â °ÍÀº ¾Õ¿¡¼ ¾ð±ÞÇÑ »çÇ×À» °í·ÁÇÔÀ¸·Î½á ÀÌ·ç¾îÁø´Ù. ÀÛ¾÷°ø°£, Á¦¾î ½Ã½ºÅÛ, Àü¿ø°ø±Þ, ÀûÀçÇÏÁß, ¼Óµµ, Á¤È®µµ¿Í ¹Ýº¹ Á¤¹Ðµµ¿Í °°Àº ±â¼úÀûÀÎ °üÁ¡°ú ºñ¿ë, ½Å·Úµµ, ¼ºñ½º¿Í °æÇè°ú °°Àº ºñ±â¼úÀûÀÎ °üÁ¡¿¡ ±â¹ÝÇÑ ÀÛ¾÷¿¡ °¡Àå ÀûÇÕÇÑ ·Îº¿À» »ý°¢ÇØ º½À¸·Î½á ·Îº¿ÀÇ ¼±ÅÃÀº Ç¥ 1 ¿¡¼ ³ªÅ¸³½ °Í°ú °°ÀÌ °£´ÜÇÏ°Ô Á¤¸®µÈ´Ù. (¼¼ºÎÀûÀÎ ·Îº¿ ¼±ÅÃÀÇ »çÇ×µéÀº 12ÀåÀ» ÂüÁ¶Ç϶ó.)
¾ÈÁ¤¼º (safety) Àº ¸Å¿ì Áß¿äÇÏ¿© ÀÛ¾÷ÀÚ¿Í ·Îº¿ ÀÎÅÍÆäÀ̽º °üÁ¡¿¡¼ ¸ðµç ¼³°è ¹× Á¦ÀÛ¿¡ ÀÖ¾î¼ ¸Å¿ì ½ÅÁßÈ÷ °í·ÁÇØ¾ß ÇÒ °³³äÀ̱⠶§¹®¿¡ À̰ÍÀº °øÁ¤Ã³¸®ÀÇ ´Ü°è·Î¼ ¾ð±ÞµÇÁö ¾Ê¾Ò´Ù. ÀûÀýÇÏ°Ô ¼³°èµÈ ½Ã½ºÅÛµéÀº ÀÛ¾÷ÀÚÀÇ À§Ä¡¸¦ °ËÃâÇÏ´Â ¼¾¼¸¦ ÅëÇØ ÀÛ¾÷ÀÚÀÇ ¾ÈÀüÀ» ÃÖ´ëÇÑÀ¸·Î º¸ÀåÇÒ ¼ö ÀÖ´Â »óȲ¿¡¼ ÀÛ¾÷ÀÚ¿Í ·Îº¿ÀÌ °°Àº ÀÛ¾÷°ø°£À» »ç¿ëÇϵµ·Ï ¼³°èµÇ¾î¾ß ÇÑ´Ù. ¹°¸®ÀûÀÎ ¹æ¾îº®µéÀº ¸ðµç °¡´ÉÇÑ ½Ãµµ Áß¿¡¼ °¡Àå ¾ÈÀüÇÑ °ÍÀÌ´Ù. (·Îº¿ÀÇ ¾ÈÁ¤¼ºÀº 11Àå¿¡¼ ±¤¹üÀ§ÇÏ°Ô ³íÀǵȴÙ.)
·Îº¿ ±â¼úÀº °øÀÛ±â°è ±âÃÊ¿Í ÄÄÇ»ÅÍ ÀÀ¿ëÀÇ Á¶ÇÕÀ¸·Î¼ °£ÁֵǴ ÀÀ¿ë°úÇÐÀÌ´Ù. ÀÌ·¯ÇÑ ±â¼úÀ» ¼³¸íÇϱâ À§Çؼ ·Îº¿ÀÌ ±¸¼ºµÇ´Â ¹æ¹ý°ú ÀÛ¾÷¿¡ °üÇÑ ±â¼úÀû Ư¡°ú ·Îº¿ÀÇ ¼±Åÿ¡ ¿µÇâÀ» ¹ÌÄ¡´Â ÀÎÀÚµéÀ» Á¤ÀÇÇÏ¿©¾ß ÇÑ´Ù.
»ê¾÷¿ë ·Îº¿ÀÇ ±âº» ±¸¼ººÎǰµéÀº ´ÙÀ½°ú °°´Ù.
1. Àΰ£ÀÇ ÆÈ, ¼Õ°ú À¯»çÇÑ ¿îµ¿À» ÇÏ°í ¹°¸®ÀûÀ¸·Î ÀÛ¾÷À» ¼öÇàÇÏ´Â ¸Ó´Ïǽ·¹ÀÌÅÍ
2. ½ÇÁ¦·Î ÀÛ¾÷À» ¼öÇàÇÏ´Â µ¥ ÇÊ¿äÇÑ Æ¯º°ÇÑ ¿ä±¸»çÇ×À» ÃæÁ·Çϱâ À§ÇÑ ´Ù¾çÇÑ ÇüÅÂÀÇ ºÎÂø¹°·Î½á ÀåÂøµÇ´Â ¸»´ÜÀåÄ¡
3. µ¶¸³ÀûÀÎ ¾×Ãß¿¡ÀÌÅ͸¦ ±¸µ¿Çϱâ À§ÇÑ µ¿·Â °ø±Þ¿øÀ̸ç Àü±â, °ø¾Ð°ú À¯¾ÐÀ» »ç¿ëÇÏ¿© ¾×Ãß¿¡ÀÌÅ͸¦ Á¦¾îÇÏ´Â µ¿·Â °ø±ÞÀåÄ¡
4. ·Îº¿ÀÇ µÎ³úÀ̸ç, ¸Ó´Ïǽ·¹ÀÌÅÍÀÇ ¿îµ¿ÀÇ ½ÃÀÛ°ú ³¡À» °üÀåÇÏ¸ç µ¥ÀÌÅ͸¦ ÀúÀåÇÏ´Â Á¦¾î ½Ã½ºÅÛ
¹Ì±¹¿¡¼ °ø±¸ÀÇ À§Ä¡¸¦ °áÁ¤ÇÏ´Â µ¥ »ç¿ëµÇ´Â Á¦¾î ½Ã½ºÅÛÀº ÁÖ·Î 3°¡Áö·Î ºÐ·ùÇÑ´Ù: ºñ¼º¸, ¼º¸ ¹× ¼º¸Á¦¾î.
·Îº¿ ÇØºÎÇÐÀº ¸Ó´Ïǽ·¹ÀÌÅÍÀÇ ¹°¸®ÀûÀÎ ±¸Á¶¿Í ÀÛµ¿¿¡ °üÇÏ¿© ¿¬±¸ÇÏ´Â °ÍÀ̸ç, ÀϹÝÀûÀÎ ·Îº¿ÀÇ °æ¿ì 5°¡ÁöÀÇ ±âº» Çü»óÀ» °®°í ÀÖ´Ù: Áï, Á÷±³Çü, ¿øÅëÇü, ±¸Çü, °üÀýÇü°ú SCARAÇüÀÌ ÀÖ´Ù.
Áö±ÝÀÇ ·Îº¿ Á¦¾î±â´Â 5 ¼¼´ë Á¦¾î±âÀÌ´Ù. ±×¸®°í ÇöÀç ¿ì¸®´Â 6¹øÂ°, 7¹øÂ° µîÀÇ Â÷¼¼´ë Á¦¾î±â¸¦ À§ÇÑ ¿¬±¸¸¦ ÁøÇàÇϰí ÀÖ´Ù. Çö´ëÀÇ »õ·Î¿î Á¦Á¶°øÁ¤¿¡´Â ´õ¿í´õ Áö´Éȵǰí, Á¤¹ÐÇÏ°Ô Á¦¾îµÇ¸ç ¼¾¼¸¦ ÀûÀýÈ÷ ±¸ºñÇÑ ·Îº¿ÀÌ ¸Å¿ì Áß¿äÇÑ ¿ä¼Ò°¡ µÇ°í ÀÖ´Ù.
Á¦Á¶°øÁ¤¿¡ ÀûÇÕÇÑ ·Îº¿À» ¼±ÅÃÇÏ´Â µ¥ ¿µÇâÀ» ¹ÌÄ¡´Â 3 °¡Áö ¿ä¼Ò´Â ´ÙÀ½°ú °°´Ù.
1. µ¿Àû Ư¼º°ú ¼öÇà ´É·Â
2. °æÁ¦¼º
3. ¾ÈÁ¤¼º