·Îº¿ ºÐ·ù
·Îº¿°øÇÐ : James G. Keramas Àú¼, À̸¸Çü. °í°æÃ¶. ³ëÅÂÁ¤. ¹ÚÈñÀç. ºÎ±¤¼®. ¾Èº´ÇÏ. À̹Îö. Á¤¿øÁö. Á¦¿ì¼º °ø¿ª, »çÀÌÅØ¹Ìµð¾î, 2000 (¿ø¼ : Robot Technology Fundamentals, Thomson Learning, 1999) , Page 51~80
2. ÆÈ ±âÇÏÇÐ : Á÷±³ ÁÂÇ¥Çü ¿øÅë ÁÂÇ¥Çü ±¸ ÁÂÇ¥Çü °üÀý ÁÂÇ¥Çü
4. µ¿·Â °ø±ÞÀåÄ¡ : Àü±â °ø±ÞÀåÄ¡ °ø¾Ð °ø±ÞÀåÄ¡ À¯¾Ð °ø±ÞÀåÄ¡ Àü±â±â°è µ¿·Â °ø±ÞÀåÄ¡
»ê¾÷¿ë ·Îº¿ (industrial robot) µéÀº ±× Ư¼º¿¡ µû¶ó 6 °¡Áö Á¾·ù·Î ºÐ·ùµÈ´Ù.
1. ÆÈ ±âÇÏÇÐ: Á÷±³Çü, ¿øÅëÇü, ±¸Çü, ¼öÁ÷ °üÀýÇü, ¼öÆò °üÀýÇü
2. ÀÚÀ¯µµ: ·Îº¿ ÆÈ, ·Îº¿ ¼Õ¸ñ
3. µ¿·Â¿ø: Àü±â, °ø¾Ð, À¯¾Ð, ±×µéÀÇ Á¶ÇÕ
4. ¿îµ¿ÇüÅÂ: ºñƲ¸² ȸÀü (slew) ¿îµ¿, °üÀý º¸°£, Á÷¼± º¸°£, ¿øÈ£ º¸°£
5. °æ·ÎÁ¦¾î: Á¦ÇÑ ½ÃÄö½º (limited-sequence) , ÁöÁ¡°£ (point to point) , ¿¬¼Ó°æ·Î, Á¦¾î°æ·Î
6. Áö´É ·¹º§: º¸Åë±â¼ú (ºñ¼º¸) , ÷´Ü±â¼ú (¼º¸)
·Îº¿ ¸Ó´Ïǽ·¹ÀÌÅÍ´Â ÀÛ¾÷À» ¿Ï·áÇÏ´Â µ¥ ÇÊ¿äÇÑ Ãà À̼ÛÀÇ ÇüÅ¿¡ µû¶ó¼ ºÐ·ùµÈ´Ù. ¿ì¸®´Â 3 Â÷¿øÀÇ ¼¼°è¿¡¼ »ì±â ¶§¹®¿¡, ÀϹÝÀûÀÎ ·Îº¿Àº ÀüÈÄ (forward and backward) , Á¿ì (left and right) , »óÇÏ (up and down) ·Î ¿òÁ÷¿©¼ 3 Ãà °ø°£¿¡¼ÀÇ ÀÓÀÇÀÇ ÁöÁ¡¿¡ µµ´ÞÇÒ ¼ö ÀÖ¾î¾ß¸¸ ÇÑ´Ù. À̰ÍÀº ¸î °¡Áö ¹æ¹ýÀ¸·Î ÀÌ·ç¾îÁú ¼ö ÀÖ´Ù. °¡Àå °£´ÜÇÑ ¹æ¹ýÀº ÀÌ·¯ÇÑ ¿îµ¿À» ·Îº¿ ÆÈÀÇ ±âÇÏÇÐÀ¸·Î½á ±Ô¸íÇÏ°í ´ÙÀ½°ú °°Àº ÁÂÇ¥°è¿¡¼ ±× ¿îµ¿µéÀ» ¼³¸íÇÏ´Â °ÍÀÌ´Ù.
Á÷±³ ÁÂÇ¥Çü (rectangular- or cartesian-coordinated) ÀÇ ·Îº¿ ¸Ó´Ïǽ·¹ÀÌÅÍ´Â 3 °³ÀÇ Á÷¼±¿îµ¿ Ãà, Áï ÁÂÇ¥ÇüÀ» °¡Áø´Ù. 1 ¹øÂ° Ãà x ´Â Á¿ì¿îµ¿À», 2 ¹øÂ° Ãà y ´Â ÀüÈĿÀ» 3 ¹øÂ° Ãà z ´Â ÀϹÝÀûÀ¸·Î »óÇϿÀ» ³ªÅ¸³»´Â µ¥ »ç¿ëµÈ´Ù. ÀÌ·¯ÇÑ µðÀÚÀÎÀÇ ´ÜÁ¡Àº °¢ ÃàÀÇ ¿îµ¿ÀÌ ¾î¶² ÇÑ ¹æÇâ¿¡ Á¦ÇÑÀ» ¹ÞÀ¸¸ç, ´Ù¸¥ 2 °³ÀÇ Ãà°ú´Â ¼·Î µ¶¸³ÀûÀÌ´Ù. ±×·¯³ª µ¿ÀÏÇÑ »ç¾çÀÇ ¾×Ãß¿¡ÀÌÅ͸¦ »ç¿ëÇÔÀ¸·Î½á ¸ðµç Ãà¿¡¼ µ¿ÀÏÇÑ ¿îµ¿ÀÇ ÁõºÐÀ» ÀÌ·ê ¼ö ÀÖ´Ù.
Á÷±³Çü ·Îº¿ÀÇ ÀÛ¾÷°ø°£Àº Á¤À°¸éüÀ̰ųª Á÷»ç°¢ÇüÀ̹ǷΠ·Îº¿ÀÌ ¼öÇàÇÏ´Â ¾î¶°ÇÑ ÀÛ¾÷µµ ÀÌ·¯ÇÑ ÀÛ¾÷°ø°£ ³»¿¡ Æ÷ÇԵǴ ¿îµ¿À̾î¾ß ÇÑ´Ù. ·Îº¿ÀÇ ÀÛ¾÷°ø°£Àº ÀÛ¾÷¿µ¿ªÀÇ À±°ûÀÌ´Ù. ·Îº¿ÀÌ ´Ù¸®¿Í °°Àº ÇÁ·¹ÀÓ À§¿¡ ÀåÂøµÇ¾úÀ» ¶§, À̰ÍÀ» °ÕÆ®¸® ·Îº¿ (gantry robot) ¶ó°í ÀÏÄÃÀ¸¸ç ´Ù¸¥ ¸»·Î´Â ÁÖÇàÇüÅ (traverse type) ·Îº¿À̶ó°íµµ ÇÑ´Ù. ±×¸² 1 ¿¡¼ (a) ÀüÇüÀûÀÎ Á÷±³ ÁÂÇ¥Çü ·Îº¿, (b) Á÷±³ ·Îº¿ÀÇ ÀÛ¾÷°ø°£, (c) °ÕÆ®¸® ·Îº¿À¸·Î ºÒ¸®´Â ¿À¹öÇìµå Å©·¹ÀÎ (overhead crane) °ú ÀÛ¾÷¿µ¿ªÀ» º¸¿©ÁØ´Ù. ½ÇÁ¦ÀûÀÎ Á÷±³ ÁÂÇ¥Çü ·Îº¿Àº ±×¸² 2 ¿¡¼ º¸¿©ÁØ´Ù.

±×¸² 1 Á÷±³ ÁÂÇ¥Çü ·Îº¿ : (a) Á÷±³ ÁÂÇ¥Çü ÆÈÀÌ 3 °³ÀÇ Á÷¼± ÃàÀ» µû¶ó À̵¿ÇÑ´Ù. (b) Á÷±³Çü ¸Ó´Ïǽ·¹ÀÌÅͰ¡ µ¿ÀÛÇÏ´Â ¹Ú½º ¸ð¾çÀÇ ÀÛ¾÷¿µ¿ª. (c) ¿À¹öÇìµå Å©·¹ÀÎ À̵¿Àº Á÷±³ ÁÂÇ¥Çü ·Îº¿ ÆÈÀÇ À̵¿°ú À¯»çÇÏ´Ù.

±×¸² 2 Cincinnati Milacron »ç°¡ Á¦ÀÛÇÑ ½ÇÁ¦ÀûÀÎ Á÷±³ ÁÂÇ¥Çü °ÕÆ®¸® ·Îº¿ ¸ðµ¨ T3 886. ÀÌ ÀåÄ¡´Â 198lb ÇÏÁßÀ» µé¾î¿Ã¸± ¼ö ÀÖÀ¸¸ç, 6 °³ÀÇ ¼º¸ Á¦¾îÃàÀÌ Àü±âÀûÀ¸·Î ÀÛµ¿µÈ´Ù. (ÀÚ·á : Cincinnati Milacron)
x, y, z ÃàÀÇ ¹æÇâÀ¸·Î ¿òÁ÷À̱â À§ÇÑ µ¿·ÂÀº ÀÛÀº ·Îº¿¿¡¼´Â ¼±Çü ¾×Ãß¿¡ÀÌÅÍ¿¡ ÀÇÇÏ¿© °ø±ÞµÇ¸ç, ´ëÇü ½Ã½ºÅÛ¿¡¼´Â º¼-½ºÅ©·ç ±¸µ¿ÀåÄ¡¸¦ ÅëÇØ¼ °ø±ÞµÈ´Ù. Á÷±³ ÁÂÇ¥Çü ·Îº¿Àº ´ÙÀ½ÀÇ ÀåÁ¡µéÀ» °¡Áö°í ÀÖ´Ù:
Á÷±³ ÁÂÇ¥Çü ·Îº¿Àº ´ÙÀ½ÀÇ ´ÜÁ¡µéÀ» °¡Áö°í ÀÖ´Ù.
Á÷±³ÁÂÇ¥Çü ·Îº¿ÀÇ ÀüÇüÀûÀÎ ÀÀ¿ëµéÀº ¾Æ·¡¿Í °°´Ù.
¿øÅë ¶Ç´Â ±âµÕ¸ð¾çÀÇ ÁÂÇ¥Çü ·Îº¿ (cylindrical- or post-type-coordinated robot) Àº 2 °³ÀÇ Á÷¼±¿îµ¿°ú 1 °³ÀÇ È¸Àü¿îµ¿À» °¡Áø´Ù. 1 °³ÀÇ È¸Àü´É·ÂÀÎ ÀÚÀ¯µµ¿Í 2 °³ÀÇ Á÷¼±¿îµ¿ (¼±Çü) ÀÚÀ¯µµ¸¦ °¡Áø ·Îº¿Àº °¡º¯¿îµ¿À» ¼öÇàÇÒ ¼ö ÀÖ´Ù. 1 ¹øÂ° ÁÂÇ¥´Â »óÇÏ ÁÂÇ¥Ãà¿¡ ´ëÇÑ º£À̽º ȸÀü°¢µµ ¥è ÀÌ´Ù. 2 ¹øÂ° ÁÂÇ¥´Â ·Îº¿ÀÌ À§Ä¡ÇÒ ¼ö ÀÖ´Â ¾î¶² °¢µµ¿¡¼µç ¹ÝÁö¸§ ¹æÇâÀÎ y ÃàÀÇ ÀÔÃâ¿îµ¿¿¡ ÇØ´çÇÑ´Ù. ¸¶Áö¸· ÁÂÇ¥´Â »óÇϹæÇâÀÎ z Ãà¿¡ ÇØ´çÇÑ´Ù.
ºñ·Ï ¿ÏÀüÇÑ È¸Àü¿¡ ÇѰ谡 ÀÖ´Ù°í ÇÏ´õ¶óµµ ±×¸² 3 ¿¡¼ ³ªÅ¸³½ ¿øÅë ÁÂÇ¥Çü (cylindrical coordinate) ·Îº¿Àº Á¤ÇØÁø ¿øÅë °ø°£¿¡ÀÇ ¾î¶°ÇÑ ÁöÁ¡¿¡µµ µµ´ÞÇÒ ¼ö ÀÖ´Ù.
ÀÌ·¯ÇÑ È¸Àü´É·ÂÀº z-ȸÀüÆò¸é»óÀÇ ÇÑ ÁöÁ¡¿¡ ºü¸£°Ô À̵¿ÇÒ ¼ö ÀÖ´Â ÀåÁ¡À» ÁØ´Ù. ½ÇÁ¦ÀûÀÎ ¿øÅë ÁÂÇ¥Çü ·Îº¿Àº ±×¸² 4 ¿¡¼ º¸¿©ÁÖ¸ç, ¿©±â¼ °¡´ÉÇÑ ºÐÇØ´É (resolution) Àº 3 °³ÀÇ ¿îµ¿ Ãà¿¡ ´ëÇÏ¿© Ç×»ó °°Áö´Â ¾Ê´Ù. º£À̽º ȸÀüÀÇ ºÐÇØ´ÉÀº ÃøÁ¤ °¢µµÀÇ Ç×À¸·Î Ç¥½ÃµÇ¸ç, ¼±Çü ÃàÀÇ ºÐÇØ´ÉÀº ¼±Çü ÁõºÐÀÇ Ç×À¸·Î Ç¥ÇöµÈ´Ù.

±×¸² 3 ¿øÅë ÁÂÇ¥Çü ·Îº¿ : (a) ¿øÅë ÁÂÇ¥Çü ÆÈÀÌ º£À̽º¿¡ ´ëÇÏ¿© ȸÀüÇϰí, µé¾î°¡°í ³ª¿À°í (ÀÔÃâ) »óÇÏ·Î À̵¿ÇÑ´Ù. (b) 2 °³ÀÇ ½Ç¸°´õ »çÀÌÀÇ °ø°£Àº ¿øÅë ÁÂÇ¥Çü ¸Ó´Ïǽ·¹ÀÌÅͰ¡ Â÷ÁöÇÏ´Â ÀÛ¾÷¿µ¿ªÀÌ´Ù. (c) °íÃþ ºôµùÀÇ ²À´ë±â¿¡ °Ç¼³ Å©·¹ÀÎÀÇ À̵¿Àº ¿øÅë ÁÂÇ¥Çü ¸Ó´Ïǽ·¹ÀÌÅÍÀÇ À̵¿°ú À¯»çÇÏ´Ù.

±×¸² 4 Seiko Instruments °¡ Á¦ÀÛÇÑ °í¼Ó ¿øÅë ÁÂÇ¥Çü ·Îº¿ ¸ðµ¨ RT3300. ÀÌ ·Îº¿Àº ±³·ù ¼º¸Á¦¾î ¸ðÅͷνá 4 Ãà µ¿½ÃÀÛ¾÷ÀÌ °¡´ÉÇϸç, 27 lb ±îÁö ÇÏÁßÀ» µé ¼ö ÀÖ´Ù.
¿øÅë ÁÂÇ¥Çü ·Îº¿Àº ÀϹÝÀûÀ¸·Î Á÷±³ ÁÂÇ¥Çü ·Îº¿ ¸Ó´Ïǽ·¹ÀÌÅͺ¸´Ù ´õ Å« ÀÛ¾÷¿µ¿ªÀ» °¡Áø´Ù. ÀÌ·¯ÇÑ ¿øÅë ÁÂÇ¥Çü ·Îº¿Àº ÇÈ-Ç÷¹À̽º ÀÛ¾÷¿¡ ÀûÇÕÇÏ´Ù. ¿øÅë ÁÂÇ¥Çü ·Îº¿ÀÇ ¸î °¡Áö ÀåÁ¡Àº ¾Æ·¡¿Í °°´Ù:
¿øÅë ÁÂÇ¥Çü ·Îº¿ÀÇ ¸î °¡Áö ´ÜÁ¡Àº ¾Æ·¡¿Í °°´Ù:
¿øÅë ÁÂÇ¥Çü ·Îº¿ÀÇ ÀüÇüÀûÀÎ ÀÀ¿ëµéÀº ¾Æ·¡¿Í °°´Ù:
±¸ ¶Ç´Â ±Ø ÁÂÇ¥Çü ·Îº¿ (spherical- or polar-coordinated robot) Àº 1 °³ÀÇ Á÷¼±¿îµ¿°ú 2 °³ÀÇ È¸Àü¿îµ¿ÀÌ °¡´ÉÇϵµ·Ï ¼³°èµÇ¾î ÀÖ´Ù. ÀÛ¾÷°ø°£Àº ·Îº¿ ÆÈÀÇ È¸Àü¿¡ ÀÇÇÏ¿© ¾Æ·¡ÀÇ ±ØÇÑÀ¸·Î ÁÖ¾îÁø ±¸¿Í °°Àº ¸ð¾çÀÌ´Ù. ÀÛ¾÷¿µ¿ªÀÇ Á߽ɺδ ·Îº¿ÀÇ º£À̽º°¡ Â÷ÁöÇϰí ÀÖ¾î¼ ÀÛ¾÷ÀÌ ºÒ°¡´ÉÇÑ ¿µ¿ªÀÌ´Ù. ÆÄÀÌ ÇüÅÂÀÇ ÀÛ¾÷¿µ¿ª ºÎºÐÀº ÆÈÀÇ ÈÄ¹æ ¿îµ¿À» À§ÇØ ³²°ÜµÎ°Å³ª, Á¶ÀÛÀÚ¿¡°Ô ¾ÈÀüÇÑ Á¶ÀÛÀ§Ä¡¸¦ Á¦°øÇÏ´Â µ¥ »ç¿ëµÉ ¼ö ÀÖ´Ù.
±×¸² 5 ¿¡¼ ³ªÅ¸³½ ±¸ ÁÂÇ¥Çü (spherical-coordinated) ·Îº¿Àº 1 °³ÀÇ Á÷¼±¿îµ¿°ú 2 °¡Áö ȸÀü¿îµ¿À¸·Î¼ °ø°£»óÀÇ ¾î¶°ÇÑ ÁöÁ¡¿¡µµ µµ´ÞÇÒ ¼ö ÀÖ´Ù. 1 ¹øÂ° ¿îµ¿Àº ¼öÁ÷ Ãà¿¡ ´ëÇÑ º£À̽ºÀÇ È¸Àü¿¡ ÇØ´çµÈ´Ù. 2 ¹øÂ°ÀÇ ¿îµ¿Àº ÆÈ²ÞÄ¡ (elbow) ÀÇ È¸Àü¿¡ ÇØ´çµÈ´Ù. 3 ¹øÂ° ¿îµ¿Àº ¹ÝÁö¸§ ¹æÇâ, Áï ÀÔÃâ¿îµ¿¿¡ ÇØ´çµÈ´Ù. ÀÌ·¯ÇÑ 2 °³ÀÇ È¸ÀüµéÀº ¾î¶² ¹æÇâÀÌ¶óµµ ·Îº¿À» À§Ä¡ÇÒ ¼ö ÀÖ°í, ¶ÇÇÑ 3 ¹øÂ° ¿îµ¿À» ÅëÇÏ¿© ·Îº¿ÀÇ ³¡Á¡ÀÌ ÁöÁ¤µÈ À§Ä¡¿¡ Á÷Á¢ÀûÀ¸·Î °¥ ¼ö ÀÖµµ·Ï ÇÑ´Ù. ±¸ ÁÂÇ¥Çü ·Îº¿¿¡ ÀÇÇÏ¿© µµ´ÞÇÒ ¼ö ÀÖ´Â ÁöÁ¡Àº ±¸Çü °ø°£ÀÌ´Ù. ½ÇÁ¦ÀûÀÎ ±¸ ÁÂÇ¥Çü ·Îº¿Àº ±×¸² 6 ¿¡ ³ªÅ¸³»¾ú´Ù. ±¸ ÁÂÇ¥Çü ·Îº¿Àº ÀϹÝÀûÀ¸·Î Á÷±³ÇüÀ̳ª ¿øÅëÇüÀÇ ·Îº¿º¸´Ù ´õ Å« ÀÛ¾÷¿µ¿ªÀ» °®´Â´Ù. ±× µðÀÚÀÎÀº ´Ü¼øÇϰí, ÁÁÀº ÀûÀçÇÏÁß ´É·ÂÀ» ÁØ´Ù. ÀÌ·¯ÇÑ Çü»óÀº ÆÝÄ¡ ÇÁ·¹½º¸¦ ÀåÂø, Å»ÂøÇÏ´Â °Í°ú °°Àº ÀûÀº ¾çÀÇ ¼öÁ÷À̵¿ÀÌ ÇÊ¿äÇÑ ÀÀ¿ëµé¿¡ »ç¿ëÇÏ´Â °ÍÀÌ ÀûÇÕÇÏ´Ù.

±×¸² 5 ±¸ ¶Ç´Â ±Ø ÁÂÇ¥Çü ·Îº¿ : (a) ±Ø ÁÂÇ¥Çü ¶Ç´Â ±¸ ÁÂÇ¥Çü ¸Ó´Ïǽ·¹ÀÌÅÍ´Â º£À̽º¿Í ¾î±ú¸¦ Áß½ÉÀ¸·Î ȸÀüÇϸç, ¾ÕµÚ·Î Á÷¼±¿îµ¿ÀÌ °¡´ÉÇÏ´Ù. (b) ±Ø ÁÂÇ¥Çü ·Îº¿ÀÇ ÀÛ¾÷°ø°£Àº 2 °³ÀÇ ¹Ý±¸ »çÀÌÀÇ °ø°£ÀÌ´Ù. (c) ÈÅ-·¡´õ (hook-and-ladder) Æ®·° À§ÀÇ »ç´Ù¸®´Â ±Ø ÁÂÇ¥Çü ¸Ó´Ïǽ·¹ÀÌÅÍÀÇ °æ¿ì¿Í °°Àº À̵¿À» ÇÑ´Ù.

±×¸² 6 Unimation Inc. °¡ Á¦ÀÛÇÑ ½ÇÁ¦Àû ±¸ ÁÂÇ¥Çü ·Îº¿ ½Ã¸®Áî 2000 Àº 6 °³ÀÇ ¼º¸ Ãà°ú 300 lb ÀÇ ÇÏÁß´É·ÂÀ» °®´Â´Ù. ÀÌ ·Îº¿Àº ´ÙÀÌ Ä³½ºÆÃ, »çÃâ, ´ÜÁ¶, °øÀÛ±â°è °ø±¸ ÀåÂø, ¿Ã³¸®, À¯¸®°øÁ¤ ó¸®, ÄÚÆÃ, ÇÁ·¹½º ÀåÂø°ú ¹°·ù À̼ۿ¡ »ç¿ëµÈ´Ù.
´ÙÀ½ÀÇ »çÇ×À» Á¦¿ÜÇϰí´Â ±¸ ÁÂÇ¥Çü ·Îº¿ÀÇ Àå´ÜÁ¡Àº ¿øÅë ÁÂÇ¥Çü ·Îº¿ÀÇ Àå´ÜÁ¡°ú °ÅÀÇ À¯»çÇÏ´Ù. ±¸ ÁÂÇ¥Çü ·Îº¿Àº ¼öÆòÀûÀ¸·Î ¸Ö¸® µµ´ÞÇϱâ À§ÇÏ¿© ³ôÀ̰¡ ³·°í ±æÀ̰¡ ±ä ±âÇÏÇÐÀû ±¸Á¶¸¦ Çϰí ÀÖ´Â ¹Ý¸é¿¡, ¿øÅë ÁÂÇ¥Çü ·Îº¿Àº ±¸Á¶»ó ¼öÁ÷¹æÇâÀÇ À̵¿Àº ¸Å¿ì Á¦ÇѵȴÙ. ±¸ ÁÂÇ¥Çü ·Îº¿ÀÇ ÀüÇüÀûÀÎ ÀÀ¿ëÀº ¾Æ·¡¿Í °°´Ù:
°üÀý ¶Ç´Â ȸÀü ÁÂÇ¥Çü ·Îº¿ (jointed-arm or revolute coordinated robot) Àº ºÒ±ÔÄ¢ÇÏ°Ô Çü¼ºµÈ ÀÛ¾÷¿µ¿ª¿¡¼ ÀÛ¾÷À» ¼öÇàÇϰí, 2 °³ÀÇ ±âº»Çü»ó, Áï ¼öÁ÷°ú ¼öÆòÇü»óÀ» °®´Â´Ù.
¼öÁ÷ (vertical) : ¼öÁ÷°üÀý ·Îº¿Àº °ø°£»óÀÇ ¾î¶² ÁöÁ¡¿¡µµ µµ´ÞÇÒ ¼ö ÀÖµµ·Ï 3 °³ÀÇ È¸Àü¿îµ¿À» ÇÑ´Ù. ÀÌ·¯ÇÑ µðÀÚÀÎÀº 2 °³ÀÇ ¸µÅ©¿Í ¾î±ú¿Í ÆÈ²ÞÄ¡·Î ±¸¼ºµÈ Àΰ£ÀÇ ÆÈ°ú À¯»çÇϸç, ±×¸®°í z Ãà¿¡ ´ëÇÏ¿© º£À̽º¸¦ ȸÀü½ÃÅ´À¸·Î½á °ø°£»óÀÇ ¿øÇÏ´Â ÁöÁ¡¿¡ ¼Õ¸ñÀ» À§Ä¡½Ãų ¼ö ÀÖ´Ù. ±×·¯¹Ç·Î, 1 ¹øÂ° ȸÀüÀº º£À̽º¿¡ ´ëÇÑ È¸ÀüÀ̸ç, 2 ¹øÂ° ȸÀüÀº ¼öÆòÃàÀÇ ¾î±ú¿¡ ´ëÇÑ È¸ÀüÀ̸ç, ¸¶Áö¸· ¿îµ¿Àº ÆÈ²ÞÄ¡¿¡ ´ëÇÑ È¸ÀüÀÌ´Ù. ±×°ÍÀº ¼öÆòÃà¿¡ ´ëÇØ ȸÀüÇÏÁö¸¸ ÀÌ ¼öÆòÃàÀº º£À̽º¿Í ¾î±úÀÇ È¸Àü¿¡ ÀÇÇÏ¿© °ø°£»óÀÇ ¾î¶°ÇÑ À§Ä¡¿¡µµ Á¸ÀçÇÒ ¼ö ÀÖ´Ù.
ÀÛ¾÷¿µ¿ªÀº ·Îº¿À» À§¿¡¼ º¸¾ÒÀ» ¶§ ¿øÇüÀ̰í, Ãø¸é¿¡¼ º¸¾ÒÀ» ¶§ °üÀýÀÇ ¿îµ¿ ÇѰè·Î ÀÎÇÏ¿© ³»ºÎÀÇ ºÎä²Ã ¸ð¾çÀ» °¡Áø ÇüŸ¦ ÇÑ´Ù. ´«¹°¹æ¿ïÀ̶ó°íµµ ºÒ¸®´Â ¼öÁ÷°üÀý ·Îº¿ÀÌ ±×¸² 7 ¿¡ ¼³¸íµÇ¾î ÀÖ´Ù.

±×¸² 7 °üÀý ÁÂÇ¥Çü ·Îº¿ : (a) °üÀý ÁÂÇ¥Çü ¸Ó´Ïǽ·¹ÀÌÅÍ´Â 3 °³ÀÇ È¸ÀüÃàÀ» °¡Áø´Ù. (b) ±¸¿Í º£À̽º ÁöÁöÀÎ Ä®·³ »çÀÌÀÇ ¿µ¿ªÀº °üÀý ÁÂÇ¥Çü ¸Ó´Ïǽ·¹ÀÌÅÍÀÇ ÀÛ¾÷¿µ¿ªÀÌ´Ù. °üÀý ÁÂÇ¥Çü ¸Ó´Ïǽ·¹ÀÌÅÍ´Â Àå¾Ö¹°À» À§, ¾Æ·¡·Î µµ´ÞÇÒ ¼ö ÀÖ´Ù. (c) ±¼»è±â (power shovel) ÀÇ À̵¿Àº °üÀý ÁÂÇ¥Çü ¸Ó´Ïǽ·¹ÀÌÅÍÀÇ °æ¿ì¿Í À¯»çÇÏ´Ù.
ÀÌ·¯ÇÑ ·Îº¿ÀÇ ÇüÅ´ ´Ù¾çÇÑ ¹æÇâÀ¸·Î ºü¸¥ ¼Óµµ·Î À̵¿ÇÒ ¼ö ÀÖÀ¸¸ç, ÁÖ¾îÁø À§Ä¡¿¡ ´Ù¾çÇÑ °¢µµ·Î Á¢±ÙÇÒ ¼ö ÀÖ´Ù; ±×·¯¹Ç·Î À̰ÍÀº µµÀå°ú ¿ëÁ¢¿¡ ¸Å¿ì À¯¿ëÇÏ°Ô ÀÀ¿ëµÈ´Ù. ½ÇÁ¦ÀûÀÎ °üÀýÇü ·Îº¿Àº ±×¸² 8 ¿¡¼ º¸¿©ÁØ´Ù.

±×¸² 8 Matsushita Industrial Equipment Co. Ltd. °¡ Á¦ÀÛÇÑ ¼öÁ÷°üÀý ·Îº¿ÀÎ ¸ðµ¨ VR-008A ´Â 6 °³ÀÇ È¸ÀüÃàÀ» °¡Áö¸ç, ¶ÇÇÑ À¯¿¬Çϰí, ½Å¼ÓÇϰí, ¸Å²ô·´°í, ´Ù¾çÇÑ ¿ëÁ¢ÀÛ¾÷¿ëÀÇ ³ÐÀº ÀÛ¾÷¿µ¿ªÀ» ¿¹¿ÜÀûÀ¸·Î °®´Â´Ù. (Panasonic Factory Automation, Division of Matsushita Corp. ÀÇ ½ÂÀÎÇÏ¿¡ °ÔÀç)
¼öÆò (horizontal) : ¼öÆò°üÀý ·Îº¿Àº ÀϹÝÀûÀ¸·Î 1 °³ÀÇ ¼±Çü (¼öÁ÷) ¿îµ¿°ú 2 °³ÀÇ È¸Àü¿îµ¿À¸·Î½á °ø°£»óÀÇ ¾î¶°ÇÑ ÁöÁ¡¿¡ µµ´ÞÇÒ ¼ö ÀÖ´Ù. SCARA (selective compliance assembly robot arm) ¶ó ºÒ¸®´Â ÀÌ ·Îº¿Àº ¼öÁ÷ ¿ä¼ÒÀÎ º£À̽º¿¡ °íÁ¤µÈ 2 °³ÀÇ ¼öÆò°üÀý ¼¼±×¸ÕÆ®¿Í 1 °³ÀÇ ¼±Çü ¼öÁ÷¿îµ¿ ÃàÀ» °®°í ÀÖ´Ù. 1 ¹øÂ° ȸÀü¿îµ¿Àº ¼öÁ÷Ãà¿¡ ´ëÇÑ ¾î±ú¿¡ ÇØ´çÇϸç, 2 ¹øÂ° ȸÀü¿îµ¿Àº ¼öÁ÷Ãà¿¡ ´ëÇØ ÆÈ²ÞÄ¡¿¡ ÇØ´çµÇ¸ç, 3 ¹øÂ° ¼±Çü¿îµ¿Àº ¼öÁ÷À¸·Î »óÇÏ·Î À̵¿ÇÏ´Â z Ãà¿¡ ÇØ´çµÈ´Ù.
¼öÆò°üÀý ·Îº¿ (SCARA) Àº ±×¸² 9 ¿¡¼ º¸¿©ÁØ´Ù. ÀÌ·¯ÇÑ ·Îº¿¿¡ ´ëÇÑ Æ¯º°È÷ ¸Å·ÂÀûÀÎ ÇÑ °¡Áö Ư¡Àº ±¸¸Û ¾È¿¡ ¹°Ã¼ÀÇ »ðÀÔÀÌ ¿ä±¸µÇ´Â Á¶¸³ÀÛ¾÷¿¡ ¸Å¿ì À¯¿ëÇÏ´Ù´Â °ÍÀÌ´Ù. ÀÌ·¯ÇÑ SCARA ·Îº¿Àº 1978 ³â ÀϺ»ÀÇ Yamanashi ´ëÇп¡¼ ºÎǰÁ¶¸³ ÀÛ¾÷À» À§ÇØ °³¹ßµÇ¾ú´Ù.

±×¸² 9 ¼öÆò ¶Ç´Â SCARA ·Îº¿ : (a) SCARA ·Îº¿ÀÌ ¼öÆòÀû Æò¸é»ó¿¡¼ 2 °³ÀÇ ÃàÀ» µû¶ó ȸÀüÇϰí, ¼±ÇüÀûÀ¸·Î ¾Æ·¡, À§·Î ¿òÁ÷ÀδÙ. (b) SCARA ¸Ó´Ïǽ·¹ÀÌÅÍÀÇ ÀÛ¾÷°ø°£Àº Àå¾Ö¹° ÁÖÀ§¿¡ µµ´ÞÇÒ ¼ö ÀÖ´Â 2 °³ÀÇ ½Ç¸°´õ »çÀÌÀÇ °ø°£ÀÌ´Ù. (c) Á¢À» ¼ö ÀÖ´Â ·¥ÇÁ´Â SCARA ¸Ó´Ïǽ·¹ÀÌÅÍÀÇ ¿òÁ÷ÀÓ°ú ºñ½ÁÇÏ´Ù.
°üÀý ·Îº¿Àº ¸î °¡ÁöÀÇ ÀåÁ¡À» °¡Áö°í ÀÖ´Ù. ÀÌ·¯ÇÑ ÇüÅÂÀÇ ·Îº¿Àº Áö±Ý±îÁö °³¹ßµÈ Çü»ó Áß¿¡¼´Â °¡Àå À¯¿¬ÇÑ Çü»óÀ̰í, Á÷±³Çü, ¿øÅëÇü, ±¸Çü ·Îº¿º¸´Ù ´õ¿í´õ Å« ÀÛ¾÷ ¿µ¿ªÀ» °®´Â´Ù. ÀÌ·¯ÇÑ ·Îº¿Àº ÃÖ¼ÒÀÇ ¼³Ä¡°ø°£À» Â÷ÁöÇϰí, ³ÐÀº ¼öÆòÀû µµ´Þ¹üÀ§¸¦ °®´Â´Ù. EOAT ¿¡¼ÀÇ ³ôÀº Á¤È®µµÀÇ À§Ä¡°áÁ¤ ´É·ÂÀº ·Îº¿ ÆÈÀÌ µÑ·¯½ÎÀÎ °÷ÀÇ ³»ºÎ³ª ÀåÇØ¹° ÁÖÀ§¿¡ Á¢±ÙÇÒ ¼ö ÀÖµµ·Ï ÇÑ´Ù. ½ÇÁ¦ÀûÀÎ SCARA ·Îº¿Àº ±×¸² 10 ¿¡ ³ªÅ¸³ª ÀÖ´Ù.

±×¸² 10 Adept Technology, Inc. °¡ Á¦ÀÛÇÑ ½ÇÁ¦ÀÇ SCARA ¸ðµ¨ AdeptOne ·Îº¿Àº 20 lb ÀÇ ÇÏÁß´É·Â, ÇØ»óµµ 0.0005 in., ±×¸®°í ¹Ýº¹ Á¤¹Ðµµ ± 0.001 in. ¸¦ °®´Â´Ù. À̰ÍÀº 30 ft/s ÀÇ ¸»´ÜÀåÄ¡ÀÇ ÃÖ´ë¼Óµµ¸¦ °¡Áö¸ç, Àü±âÀû µ¿·ÂÀ¸·Î ±¸µ¿µÇ´Â ¸Ó´Ïǽ·¹ÀÌÅÍ ·Îº¿ÀÌ´Ù. ±×°ÍÀº »ðÀÔ, ½Ç¸µ (sealing), ÇÇÆÃ (fitting) µîÀÇ Á¤¹ÐÁ¶¸³, ÀåÂø/Å»Âø, »çÃâ¹° »ðÀÔ, ¿î¹Ý, °Ë»ç, °ÔÀÌ¡°ú ¹Ì¼¼ºÎǰ ³³¶« µî¿¡ »ç¿ëµÈ´Ù. (ÀÚ·á : Adpt Technology Inc.)
ÀÌ·¯ÇÑ ·Îº¿ÀÇ °áÁ¡Àº ÇÁ·Î±×·¡¹ÖÀÌ ´õ º¹ÀâÇϱ⠶§¹®¿¡ ¸Å¿ì Á¤±³ÇÑ Á¦¾î±â°¡ ÇÊ¿äÇÏ´Ù´Â °ÍÀÌ´Ù. ¶ÇÇÑ, ÀÛ¾÷¿µ¿ª¿¡¼ÀÇ ´Ù¸¥ À§Ä¡µéÀº Á¤È®µµ, ÇÏÁß¿î¼Û ¿ë·®, µ¿Àû °Åµ¿°ú ¿òÁ÷ÀÓÀÇ ¹Ýº¹ Á¤¹Ðµµ¿¡ µû¸¥ ´Ù¸¥ °ªÀ» °¡Áú ¼ö ÀÖ´Ù. ÀÌ·¯ÇÑ Çü»óÀº ÆÈÀÌ ±× ÃÖ´ë¹üÀ§¿¡ Á¢±ÙÇÒ ¶§ ´ú ¾ÈÁ¤ÀûÀÌÁö¸¸, Çǵå¹é Á¦¾î¸¦ Ãß°¡ÇÏ¿© ÇØ°áÇÒ ¼ö ÀÖ´Ù. °üÀý ·Îº¿ÀÇ ÀüÇüÀûÀÎ ÀÀ¿ëÀº ´ÙÀ½°ú °°´Ù.
Ç¥ 1 Àº 5 °¡ÁöÀÇ ·Îº¿ ¸Ó´Ïǽ·¹ÀÌÅÍ Çü»óÀÇ Àå´ÜÁ¡À» ¿ä¾àÇÑ °ÍÀÌ´Ù.
Ç¥ 1 5 °¡Áö ·Îº¿ ¸Ó´Ïǽ·¹ÀÌÅÍ Çü»ó¿¡ ´ëÇÑ Àå´ÜÁ¡ÀÇ ¿ä¾à
|
Çü »ó |
Àå Á¡ |
´Ü Á¡ |
|
Á÷±³ ÁÂÇ¥Çü (x, y, z-±â¹Ý, ÁÖÇà, µµ´Þ, ³ôÀÌ) |
3°³ÀÇ Á÷¼± ½Ã°¢È ¿ëÀÌ °¼º ±¸Á¶ ¿ÀÇÁ¶óÀÎ ÇÁ·Î±×·¡¹Ö ¿ëÀÌ Á÷¼±ÃàÀÇ ±â°èÁ¤Áö ¿ëÀÌ |
·Îº¿ ÀÚüÀÇ ¾Õ¿¡¸¸ Á¢±Ù °¡´É Å« ¼³Ä¡°ø°£ ÇÊ¿ä ¹ÐºÀ (seal) ÀÌ ¾î·Á¿î Ãà |
|
¿øÅë ÁÂÇ¥Çü (¥è, y, z-±â¹Ý, ȸÀü, µµ´Þ, ³ôÀÌ) |
2°³ÀÇ Á÷¼±Ãà, 1°³ÀÇ È¸ÀüÃà ·Îº¿ ÁÖÀ§¿¡ Á¢±Ù °¡´É °¼º±¸Á¶ÀÇ µµ´ÞÃà°ú ³ôÀÌÃà ¹ÐºÀÀÌ ¿ëÀÌÇÑ È¸ÀüÃà |
·Îº¿ ÀÚü À§¿¡ Á¢±Ù ºÒ°¡´É Á÷¼±Ãຸ´Ù ´ú °ÇÑ º£À̽º ȸÀüÃà ¹ÐºÀÀÌ ¾î·Á¿î Á÷¼±Ãà Àå¾Ö¹° ÁÖÀ§¿¡ Á¢±Ù ºÒ°¡´É ¿øÇüÀÇ ¼öÆò¿îµ¿ |
|
±¸ ÁÂÇ¥Çü (¼öÁ÷) (¥è, y, ¥â-±â¹Ý, ȸÀü, »ó½Â°¢µµ, µµ´Þ°¢µµ) |
1°³ÀÇ Á÷¼±Ãà, 2°³ÀÇ È¸ÀüÃà ±ä ¼öÆò Á¢±Ù |
Àå¾Ö¹° ÁÖÀ§¿¡ Á¢±Ù ºÒ°¡´É ªÀº ¼öÁ÷ Á¢±Ù |
|
°üÀý ÁÂÇ¥Çü (¼öÁ÷) (¥è, ¥â, ¥á-±â¹Ý ȸÀü, »ó½Â°¢µµ, µµ´Þ°¢µµ) |
3°³ÀÇ È¸ÀüÃà Àå¾Ö¹° »óÇÏ¿¡ Á¢±Ù °¡´É ÃÖ¼Ò °ø°£¿¡ ÃÖ´ë ÀÛ¾÷¿µ¿ª |
ÁöÁ¡¿¡ µµ´ÞÇÏ´Â 2~4°¡Áö ¹æ¹ý º¹ÀâÇÑ ±¸Á¶ÀÇ ¸Ó´Ïǽ·¹ÀÌÅÍ |
|
SCARA ÁÂÇ¥Çü (¼öÆò) (¥è, ¥õ, z-±â¹Ý, ȸÀü, µµ´Þ°¢µµ, ³ôÀÌ) |
1°³ÀÇ Á÷¼±Ãà, 2°³ÀÇ È¸ÀüÃà °¼º±¸Á¶ÀÇ ³ôÀÌÃà Å« ÀÛ¾÷¿µ¿ª Àå¾Ö¹° ÁÖÀ§¿¡ Á¢±Ù °¡´É |
ÁöÁ¡¿¡ µµ´ÞÇÏ´Â 2°¡Áö ¹æ¹ý ¿ÀÇÁ¶óÀÎ ÇÁ·Î±×·¡¹Ö ¾î·Á¿ò ¾ÆÁÖ º¹ÀâÇÑ ±¸Á¶ÀÇ ÆÈ |
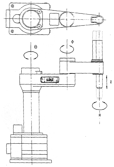
ÀÚÀ¯µµ ¶Ç´Â ·Îº¿ ½Ã½ºÅÛÀÇ ±×¸®ÆÛ´Â Àΰ£ÀÌ ¿òÁ÷ÀÌ´Â ¹æ¹ý°ú ºñ±³µÉ ¼ö ÀÖ´Ù. °¢ ÀÚÀ¯µµ¿¡ ´ëÇØ ÇϳªÀÇ °üÀýÀÌ ÇÊ¿äÇÏ´Ù. ÆÈÀÇ ÀÚÀ¯µµ´Â Çü»óÀ» Á¤ÀÇÇÑ´Ù. ¾ÕÀå¿¡¼ ³íÀÇµÈ 5 °¡Áö ±âº»¿îµ¿ Çü»óÀº ÆÈ ºÎºÐ¿¡¼ 3 °³ÀÇ ÀÚÀ¯µµ¸¦ »ç¿ëÇÑ´Ù. ´õ¿í´õ À¯¿¬¼ºÀÌ ÇÊ¿äÇÑ ÀÀ¿ë¿¡ ´ëÇÏ¿©´Â ºÎ°¡ÀûÀÎ ÀÚÀ¯µµ°¡ ·Îº¿ÀÇ ¼Õ¸ñ¿¡¼ »ç¿ëµÈ´Ù. ¼Õ¸Ô¿¡¼´Â 3 °³ÀÇ ÀÚÀ¯µµ´Â ¸»´ÜÀåÄ¡¿¡ ÃæºÐÇÑ À¯¿¬¼ºÀ» ÁØ´Ù. ÃÑ 6 °³ÀÇ ÀÚÀ¯µµ°¡ ·Îº¿ÀÇ ¼ÕÀÌ ÀÛ¾÷°ø°£ ³»ÀÇ ¾î¶°ÇÑ Á¡¿¡µµ À§Ä¡ÇÒ ¼ö ÀÖ´Â µ¥ ÇÊ¿äÇÏ´Ù. ºñ·Ï 6 °³ÀÇ ÀÚÀ¯µµ°¡ ÃÖ´ëÀÇ À¯¿¬¼ºÀ» ³»±â À§ÇØ ÇÊ¿äÇÔ¿¡µµ ºÒ±¸Çϰí, ´ëºÎºÐÀÇ ·Îº¿µéÀº ´ÜÁö 3 °³¿¡¼ 5 °³ÀÇ ÀÚÀ¯µµ¸¦ °¡Áø´Ù. ÀÚÀ¯µµ°¡ ³ôÀ¸¸é ³ôÀ»¼ö·Ï ¿îµ¿ÀÌ ´õ¿í´õ º¹ÀâÇØÁö±â ¶§¹®ÀÌ´Ù.
ºñ±³Çؼ ¸»ÇÏÀÚ¸é, Àΰ£ÀÇ ¼ÕÀÇ µ¿ÀÛÀº 35 °³ÀÇ ±ÙÀ°À¸·Î Á¦¾îµÈ´Ù. ÀÌ ±ÙÀ°µé Áß¿¡ 15 °³°¡ ÆÈÀÇ ¾ÕºÎºÐ¿¡ À§Ä¡ÇØ ÀÖ´Ù. ¼Õ¿¡¼ÀÇ ±ÙÀ°ÀÇ ¹è¿Àº ¼Õ°¡¶ôµéÀÌ ¹°°ÇÀ» ÀâÀ» ¼ö ÀÖµµ·Ï °ÇÑ °µµ¸¦ °¡Á®´Ù ÁØ´Ù. °¢ ¼Õ°¡¶ôµéÀº Ȧ·Î ¶Ç´Â ¾öÁö¼Õ°¡¶ô°ú °°ÀÌ ¿òÁ÷ÀδÙ. ÀÌ·¯ÇÑ ±¸Á¶´Â ¼ÕÀÌ º¹ÀâÇÏ°í ¼¼¹ÐÇÑ ÀÏÀ» ÇÒ ¼ö ÀÖµµ·Ï ÇÑ´Ù. ¹°°ÇÀ» ¿Å±â´Â µ¥ ÇÊ¿äÇÑ Àΰ£ ¼ÕÀÇ ¸î °¡Áö Áã´Â ¹æ¹ýÀº ·Îº¿ ½Ã½ºÅÛÀÌ ´à±â°¡ ¾î·Æ´Ù.
Àΰ£ÀÇ ¼ÕÀº 27 °³ÀÇ »À¸¦ °¡Áø´Ù: 2 ¿·Î 4 °³¾¿ ¹è¿µÈ ¼Õ¸ñÀÇ 8 °³ÀÇ »À, ¼Õ ¹Ù´ÚÀÇ 5 °³ÀÇ ¼Õ°¡¶ô »À, ±×¸®°í 14 °³ÀÇ ¼Õ°¡¶ô»À, Áï ¾öÁö¼Õ°¡¶ô¿¡ 2 °³, 4 °³ÀÇ °¢ ¼Õ°¡¶ô¿¡ 3°³ÀÇ »À·Î¼ ±¸¼ºµÇ¾î ÀÖ´Ù. ¼Õ¸ñ»À´Â ÆÈÀÇ ¾ÕºÎºÐÀÇ »À¿¡ ´ëÇØ ¾ãÀº ¼ÒÄÏÇü»óÀ¸·Î µÇ¾î ÀÖ´Ù. ¼Õ¿¡´Â ¼Õ¸ñ¿¡ 7 °³ÀÇ ÀÚÀ¯µµ¿Í ÇÔ²² 22 °³ÀÇ ÀÚÀ¯µµ¸¦ °¡Áø´Ù. ±×¸² 11 Àº ¼ÕÀÌ ¸Å¿ì º¹ÀâÇÏ°í ´ÙÁ߿뵵ÀÇ µµ±¸ÀÓÀ» ³ªÅ¸³½´Ù. ¼ÕÀº ´Ù¾çÇÑ ¹Ýº¹Àû ÀÛ¾÷À» ¼öÇàÇÏ´Â µ¥ »ç¿ëµÉ ¼ö ÀÖ´Ù.

±×¸² 11 Àΰ£ ¼ÕÀÇ ÀÚÀ¯µµ
»Àµé°ú °üÀý ¹è¿Àº ·Îº¿ ½Ã½ºÅÛ¿¡¼ ¹ß°ßµÉ ¼ö ¾ø´Â Àΰ£ ¼ÕÀÇ ±â¹Î¼ºÀ» ÁØ´Ù. ·Îº¿Àº ´ÜÁö 6 °³ÀÇ ÀÚÀ¯µµ·Î½á ÀÌ·¯ÇÑ ¿òÁ÷ÀÓÀ» ±¸ÇöÇÏ·Á°í Çϱ⠶§¹®¿¡, ·Îº¿ ½Ã½ºÅÛÀÇ ¿òÁ÷ÀÓÀº ¼Åõ¸£°í ¾î»öÇÏ°Ô º¸ÀδÙ.
·Îº¿ ½Ã½ºÅÛÀÇ ÆÈ¿¡ ÀÖ´Â 3 °³ÀÇ ÀÚÀ¯µµ´Â (1) ȸÀüÀ̵¿, (2) ¹æ»çÀ̵¿, (3) ¼öÁ÷À̵¿ÀÌ´Ù. ȸÀüÀ̵¿Àº º£À̽º¿¡ ´ëÇÏ¿© ȸÀüÇÏ´Â ·Îº¿ ÆÈÀÇ Á¿ì ÀÌÀ½¼è¿Í °°ÀÌ È¸ÀüÃà¿¡ ´ëÇÑ ÆÈÀÇ ¿òÁ÷ÀÓÀÌ´Ù. ¹æ»çÀ̵¿Àº º£À̽º¿¡ ´ëÇÏ¿© »ó´ëÀûÀ¸·Î ÆÈÀÇ ½ÅÀå°ú ¼öÃà, Áï ÀÔÃâ¿îµ¿ÀÌ´Ù. ¼öÁ÷À̵¿Àº ·Îº¿ ½Ã½ºÅÛÀÇ ÆÈÀÇ »óÇϿÀÌ´Ù.
¼Õ¸ñ¿¡ À§Ä¡ÇÑ 3 °³ÀÇ ÀÚÀ¯µµ´Â Ç×°ø¼úÀÇ ¿ë¾î¿¡ µû¶ó (4) ÇÇÄ¡ (pitch) , (5) ¿ä (yaw) , (6) ·Ñ (roll) ÀÌ´Ù. ÇÇÄ¡´Â ¼Õ¸ñÀÇ »óÇÏÀÇ ¿òÁ÷ÀÓÀÌ´Ù. ¿ä´Â ¼Õ¸ñÀÇ ÁÂ¿ì ¿òÁ÷ÀÓÀÌ´Ù. ·ÑÀº ¼ÕÀÇ È¸ÀüÀÌ´Ù. ±×¸² 12 ´Â ·Îº¿ ½Ã½ºÅÛÀÇ 6 °³ÀÇ ±âº»Àû ÀÚÀ¯µµ¸¦ µµ½ÃÇÑ´Ù.
±×¸² 12 ·Îº¿ ½Ã½ºÅÛÀÇ 6 °³ÀÇ ÁÖ¿ä ÀÚÀ¯µµ
¼Ò±Ô¸ðÀÇ Àü¹®ÀûÀÎ ·Îº¿ Á¦Á¶¾÷üµéÀ» Á¦¿ÜÇÑ °ÅÀÇ 200 °³ÀÇ °ø±Þ¾÷ü¿¡ ±â¹ÝÀ» µÎ°í, ¹Ì±¹, À¯·´°ú ÀϺ»ÀÇ ·Îº¿ Á¦Á¶¾÷üµéÀ» Á¶»çÇÑ 1990 ³âµµ Á¶»ç º¸°í¼¿¡ ÀÇÇϸé, ÀÌ¿ë °¡´ÉÇÑ ·Îº¿ ¸ðµ¨µéÀº ¾à 1 lb (0.5 kg) ºÎÅÍ ¾à 2,300 lb (1,043 kg) ±îÁöÀÇ ºÎÇϸ¦ ÀÛ¾÷ÇÒ ¼ö ÀÖµµ·Ï ¼³°èµÇ¾î ÀÖ´Ù.
Ç¥ 2 ·Îº¿ÀÇ ºÎÇÏ¿î¼Û ´É·Â
|
ºÎÇÏ´É·Â |
·Îº¿ % |
|
|
lb |
kg |
Á¦¾È ¸ðµ¨ |
|
300~2,300 100~299 50~99 20~49 10~19 10 ÀÌÇÏ |
136~1,043 45~136 23~45 9~22 5~9 5 ÀÌÇÏ |
11 16 15 21 17 20 |
ÀÌ Á¶»ç º¸°í¼¿¡ ÀÇÇÏ¸é ·Îº¿Àº ´Ù½Ã ij½ºÆÃ, ´ÜÁ¶, ÇÃ¶ó½ºÆ½ »çÃâ, °øÀÛ±â°è, ½ºÇÁ·¹ÀÌ µµÀå, ¿ëÁ¢°ú ±â°è°¡°ø µî¿¡ ÀÀ¿ëµÈ´Ù. ¶ÇÇÑ °æ°ø¾÷°ú ÀüÀÚ»ê¾÷¿¡¼ º¼ ¼ö ÀÖ´Â °Ë»çÀÛ¾÷¿¡ ·Îº¿ÀÇ »ç¿ëÀº Áö³ ¸î ÇØ µ¿¾È¿¡ ÇöÀúÇÏ°Ô Áõ°¡ÇÏ¿´´Ù. ÀÌ¿ë °¡´ÉÇÑ ¸ðµ¨ÀÇ ±â´É º¯È´Â ´ëüÀûÀ¸·Î Ç¥ 2 ¿¡ ³ªÅ¸³»¾ú´Ù.
ÃÖ±Ù Á¶»ç¿¡ ÀÇÇϸé, Àü±â ¾×Ãß¿¡ÀÌÅÍ´Â »ç¿ëµÈ ·Îº¿ ¾×Ãß¿¡ÀÌÅÍÀÇ ¾à ¹Ý Á¤µµÀ̸ç, °ø¾Ð ¾×Ãß¿¡ÀÌÅÍ´Â ÀüüÀÇ ¾à 1/3, ±×¸®°í À¯¾Ð ¾×Ãß¿¡ÀÌÅͰ¡ ÀüüÀÇ 1/6 À» Â÷ÁöÇÑ´Ù. ¸î ¸íÀÇ ±ÇÀ§ÀÚµéÀº ÀÌ·¯ÇÑ ºñÀ²ÀÌ ¿ÀÈ÷·Á ¾ÈÁ¤µÇ°Ô À¯ÁöÇÒ °ÍÀ¸·Î »ý°¢Çϸç; ´Ù¸¥ »ç¶÷µéÀº Àü±â ¾×Ãß¿¡ÀÌÅÍ Á·À¸·Î ´õ Ä¡¿ìÃÄÁ®¾ß ÇÑ´Ù°í ¸»ÇÑ´Ù. ÃÖ±Ù¿¡ ÀüÀÚ ¼º¸À¯´ÖÀº µ¿·Â°ú ³»±¸¼º¿¡¼ ¹ßÀüµÇ¾î ¿Ô´Ù.
¸ðµç ·Îº¿ ½Ã½ºÅÛµéÀº ÁÖ ¿¡³ÊÁö¿øÀ¸·Î¼ Àü±â¸¦ »ç¿ëÇÑ´Ù. Àü±â´Â À¯¾Ð°ú °ø¾ÐÀ» Á¦°øÇÏ´Â ÆßÇÁ¸¦ ȸÀü½ÃŲ´Ù. ¶ÇÇÑ ·Îº¿ Á¦¾î±â, ¸ðµç ÀüÀÚºÎǰ°ú ÁÖº¯ÀåÄ¡¿¡ µ¿·ÂÀ» °ø±ÞÇÑ´Ù.
¸ðµç Àü±â ·Îº¿¿¡¼´Â Á¦¾î±â»Ó¸¸ ¾Æ´Ï¶ó ¾×Ãß¿¡ÀÌÅÍ¿¡ Àü±â·á µ¿·ÂÀÌ °ø±ÞµÈ´Ù. ´ëºÎºÐÀÇ Àü±â ·Îº¿Àº ´ÙÃàÀ¸·Î ¿òÁ÷À̱â À§ÇØ ¼º¸¸ðÅÍ (servomotor) ¸¦ »ç¿ëÇÏÁö¸¸, ¸î °³ÀÇ °³·çÇÁ ·Îº¿ ½Ã½ºÅÛÀº ½ºÅ×ÇÎ ¸ðÅ͸¦ ÀÌ¿ëÇÑ´Ù. ´ë´Ù¼öÀÇ ·Îº¿µéÀÌ ÇöÀç Á÷·ù ¼º¸¸ðÅ͸¦ °®Ãß°í ÀÖÁö¸¸, ±³·ù ¼º¸¸ðÅÍÀÇ °í ½Å·Ú¼º, ¼ÒÇüÈ, °í¼º´ÉÀ¸·Î ÀÎÇÏ¿© °á±¹¿¡´Â ±³·ù ¼º¸¸ðÅÍ·Î ¹Ù²ãÁú °ÍÀÌ´Ù. ÃÖ±Ù ¸ðµ¨ÀÇ ·Îº¿Àº ¹è¼±À» °£´ÜÇÏ°Ô Çϰí, À¯Áöº¸¼ö¸¦ ÁÙÀ̰í, ±×¸®°í ¼º´ÉÀ» ³ô¿© ÁÖ´Â ±³·ù ¼º¸¸ðÅÍ¿Í ¿£ÄÚ´õ·Î ±¸¼ºµÇ¾î ÀÖ´Ù. ¸ðÅʹ ƯÈ÷ ³·°í º¸ÅëÀÇ ÇÏÁß¹üÀ§¿Í ³·Àº ¼Óµµ¿¡¼ °íÇÏÁßÀÇ ÀÛ¾÷¿¡¼ ¸Ó´Ïǽ·¹ÀÌÅÍ¿¡°Ô µ¿·ÂÀ» °ø±ÞÇÏ´Â µ¥ ÀÖ¾î¼ °¡Àå Å« ´Ù¾ç¼ºÀ» ºÎ¿©ÇÑ´Ù.
¸ðÅÍ´Â ¸Ó´Ïǽ·¹ÀÌÅÍ °üÀýÀÇ ÀϹÝÀûÀÎ ¼Óµµ¸¦ ÈξÀ ÃʰúÇÏ´Â ¼Óµµ·Î ÀϹÝÀûÀ¸·Î ÀÛµ¿µÇ¸ç, °¨¼ÓÀåÄ¡¸¦ ÀÌ¿ëÇÏ¿© ÀûÀýÇÑ ¼Óµµ¸¦ ¸¸µé¾î³½´Ù. ÀÛ¾÷ÇÏÁßÀ» »¡¸® °¡¼ÓÇÏ°í °¨¼ÓÇÏ´Â ´É·ÂÀº ¸Å¿ì ¹Ù¶÷Á÷ÇÑ ¼Ó¼ºÀÌ´Ù. °¡º¯¼Óµµ·Î ¿òÁ÷ÀÌ´Â ´É·Âµµ ÇÊ¿äÇÏ´Ù. Àü±â¸¦ µ¿·Â¿øÀ¸·Î ÇÏ´Â ·Îº¿ÀÇ ¿¹´Â ±×¸² 13 ¿¡¼ º¸¿©Áø´Ù.

|
Items |
S-420/iF |
S-420/iF |
S-420/iL |
S-420/iS |
|
|
Maximum reach Load capacity |
2.40 m 120 kg (265 lbs) |
2.85 m 120 kg (265 lbs) |
3.00 m 75 kg (165 lbs) |
2.25 m 80 kg (176 lbs) |
|
|
Axis 1
Axis 2
Axis 3
Axis 4
Axis 5
Axis 6
Moments
Load Inertia
|
Range Speed Range Speed Range Speed Range Speed Range Speed Range Speed Axis 4 Axis 5 Axis 6 Axis 4 Axis 5 Axis 6 |
360° 100°/sec 142° 110°/sec 135° 100°/sec 600° 210°/sec 260° 150°/sec 720° 210°/sec 60 kgf¤ým 60 kgf¤ým 30 kgf¤ým 306 kgf¤ýcm¤ýsec2 306 kgf¤ýcm¤ýsec2 77 kgf¤ýcm¤ýsec2 |
360° 90°/sec 142° 100°/sec 135° 90°/sec 600° 210°/sec 260° 150°/sec 720° 210°/sec 60 kgf¤ým 60 kgf¤ým 30 kgf¤ým 306 kgf¤ýcm¤ýsec2 306 kgf¤ýcm¤ýsec2 77 kgf¤ýcm¤ýsec2 |
360° 100°/sec 142° 110°/sec 135° 100°/sec 600° 210°/sec 260° 150°/sec 720° 210°/sec 53 kgf¤ým 53 kgf¤ým 27 kgf¤ým 387 kgf¤ýcm¤ýsec2 387 kgf¤ýcm¤ýsec2 104 kgf¤ýcm¤ýsec2 |
360° 70°/sec 142° 110°/sec 135° 100°/sec 480° 210°/sec 260° 150°/sec 720° 210°/sec 54 kgf¤ým 54 kgf¤ým 28 kgf¤ým 376 kgf¤ýcm¤ýsec2 376 kgf¤ýcm¤ýsec2 100 kgf¤ýcm¤ýsec2 |
|
Repeatability Mounting method Mechanical brakes Weight |
±0.4 mm(±0.016") Upright All axes 1500 kg (3300 lbs) |
±0.4 mm(±0.016") Upright All axes 1600 kg (3520 lbs) |
±0.4 mm(±0.016") Upright All axes 1600 kg (3520 lbs) |
±0.4 mm(±0.016") Upright All axes 1500 kg (3300 lbs) |
|
±×¸² 13 Á¡ ¿ëÁ¢, ¸öüÁ¶¸³°ú ÀϹÝÀûÀÎ ¹°·ù ÀÌ¼Û µîÀÇ ÀÚµ¿Â÷ »ê¾÷¿¡ »ç¿ëµÈ FANUC S-420i °üÀýÇü ·Îº¿¶óÀÎ. 6 Ãà ±³·ù ¼º¸¸ðÅÍ µå¶óÀ̺ê¿Í ´ÜÀÏ ±âÆÇÀÇ Á¦¾î±â´Â ´Ù¸¥ Àåºñ¸¦ ÅëÇÕÇÏ¿© ±â´ÉÀ» ±Ø´ëÈÇÏ¿´´Ù. ¿©·¯°¡Áö ¸ðµ¨µéÀÌ Ç¥¿¡ ³ªÅ¸³ª ÀÖ´Ù. (FANUC Robotics North America, Inc. ÀÇ ½ÂÀλ翡 °ÔÀç)
Àü±â ·Îº¿Àº À¯¾Ðµ¿·Â ÀåÄ¡¸¦ ÇÊ¿äÇÏÁö ¾Ê±â ¶§¹®¿¡, °øÀåÀÇ ÀåÄ¡ ¼³Ä¡¿µ¿ª°ú ¼ÒÀ½À» °¨¼Ò½ÃŲ´Ù. Á÷Á¢±¸µ¿ (direct drive) ¸ðµ¨Àº ¸Å¿ì ºü¸¥ ÀÀ´äÀ» Á¦°øÇÑ´Ù. Àü·ÂÀÌ ±¸µ¿ÃàÀÇ ¾×Ãß¿¡ÀÌÅÍ¿¡ Á÷Á¢ Àû¿ëµÇ±â ¶§¹®¿¡ °¨¼ÓÀåÄ¡¸¦ ÀÌ¿ëÇÏ´Â ¿¡³ÊÁö ÀüȯÀº ÇÊ¿äÇÏÁö ¾Ê´Ù. Àü±â ¸Ó´Ïǽ·¹ÀÌÅÍ¿¡¼ ¸ðÅÍ´Â ÀϹÝÀûÀ¸·Î ȸÀü¿îµ¿À» Á¦°øÇϹǷΠÁ÷¼±¿îµ¿À¸·Î ÇÏ´Â ¹Ù²Ù±â À§ÇØ ·¢-ÇǴϾð ±â¾î ¶Ç´Â º¼-½ºÅ©·ç¸¦ ÀÌ¿ëÇϸç, Á÷Á¢ ±¸µ¿ÀåÄ¡´Â ½ºÄí¸£ (lead screw) , Ç®¸®, Æò±â¾î, Çϸð´Ð ¾×Ãß¿¡ÀÌÅÍ¿Í °°Àº ¸î °¡Áö Á¾·ùÀÇ ±â°èÀû Ä¿Çøµ (mechanical coupling) À¸·Î °üÀý¿¡ ¿¬°áµÇ¾î ÀÖ´Ù.
¿µ±¸ÀÚ¼® Á÷·ù¸ðÅÍ (permanent magnet DC motor) ´Â °ú°Å¿¡ ¼ÒÇü ¹× ÁßÇü ¸Ó´Ïǽ·¹ÀÌÅÍ¿¡ »ç¿ëµÇ¾ú´Ù. Àü±âÀûÀ¸·Î Á¤·ùÇÏ´Â ºê·¯½Ã¸®½º (brushless) ¸ðÅÍ´Â ¸Å¿ì ±ä ¼ö¸íÀ» °¡Áø´Ù. Àμâȸ·Î ¸ðÅÍ (printed-circuit motor) ´Â ȸÀüÀÚ ¸ðÅÍ¿¡ ºñÇÏ¿© »ó´ëÀûÀ¸·Î Å« ÅäÅ©¸¦ ¹ß»ýÇÏ°í ¸Å¿ì ºü¸¥ ÀÀ´äƯ¼ºÀ» °¡Áø´Ù. ÀÌ·¯ÇÑ ¸ðÅ͵éÀº °¨¼ÓÀåÄ¡°¡ ¾øÀÌ ³·Àº ¼Óµµ¿¡¼ÀÇ ÀÛµ¿ÀÌ °¡´ÉÇÏ´Ù. Àü±â ¾×Ãß¿¡ÀÌÅÍÀÇ ´ÜÁ¡Àº ÀÛ¾÷ÇÏÁß ´É·ÂÀÌ 300 lb ÀÌÇÏ·Î ÇÑÁ¤µÇ¾î ÀÖ°í, Æø¹ß¼ºÀÌ ÀÖ´Â ÁÖÀ§ ȯ°æ¿¡¼ÀÇ ÀÛ¾÷ ¹®Á¦¸¦ ¾ß±â½ÃŲ´Ù.
°ø¾Ð ¾×Ãß¿¡ÀÌÅÍ (pneumatic drive) ´Â ÀûÀº ÇÏÁßÀ» ¿î¹ÝÇÒ ¼ö ÀÖ´Â ¿ë·®À¸·Î¼ »ó´ëÀûÀ¸·Î Àú°¡ÀÇ ¸Ó´Ïǽ·¹ÀÌÅÍÀÌ´Ù. ºñ¼º¸ Á¦¾î±â¸¦ »ç¿ëÇÒ ¶§ Á¤È®ÇÑ À§Ä¡°áÁ¤À» À§ÇÏ¿© º¸Åë ±â°èÀû ¸ØÃãÀåÄ¡°¡ ÇÊ¿äÇÏ´Ù. °ø¾Ð ¾×Ãß¿¡ÀÌÅÍ´Â ´Ü¼øÇÑ Á¤Áö-Á¤Áö ¿îµ¿ (stop-to-stop motion) ¿¡ ´ëÇÏ¿© ¿©·¯ ÇØ µ¿¾È »ç¿ëµÇ¾ú´Ù. °¡Àå ÈçÈ÷ »ç¿ëµÈ Çü»óÀº ¼±Çü ´Üµ¿ ¶Ç´Â º¹µ¿ ÇǽºÅæ ¾×Ãß¿¡ÀÌÅÍÀÌ´Ù. ȸÀüÇü ¾×Ãß¿¡ÀÌÅ͵µ ¿ª½Ã »ç¿ëµÇ¾ú´Ù. Á÷¼±¿îµ¿À» ȸÀü¿îµ¿À¸·Î ¹Ù²Ù´Â µ¥ ÀÖ¾î¼ ÄÉÀÌºí¿¡ ÀÇÇÏ¿© ¾×Ãß¿¡ÀÌÅÍ¿¡ ¿¬°áµÈ Ç®¸®°¡ »ç¿ëµÉ ¼öµµ ÀÖÀ¸¸ç, ±×·¡¼ Á÷¼±¿îµ¿À» ȸÀü¿îµ¿À¸·Î ¹Ù²Ù´Â ¸µÅ©º¯È¯ÀÇ °üÀý¿îµ¿ º»·¡ÀÇ ºñ¼±Çü¼ºÀ» ÇÇÇÑ´Ù.
°ø¾Ð ¾×Ãß¿¡ÀÌÅÍÀÇ ÀåÁ¡Àº ƯÈ÷ º¸ÅëÀÇ ¾Ð·ÂÀ¸·Î ÀÛµ¿ÇÒ ¶§ ÀÚÁßÀÌ °¡º±´Ù´Â Á¡ÀÌ´Ù. ÀÌ·¯ÇÑ ÀÌÁ¡Àº ¾ÐÃà°ø±âÀÇ °ø±ÞÀÌ ½±°í Å« Á¤¹Ðµµ¸¦ ÇÊ¿äÇÏÁö ¾Ê´Â ³·Àº ÇÏÁßÀÇ ÀÀ¿ëºÐ¾ß¿¡ ÀûÇÕÇÏ´Ù. °¡º¿î ¹«°Ô·Î ÀÎÇÏ¿© ´Ù¸¥ µ¿·Â¿øµéÀÌ °üÀý ÀÛµ¿¿¡ »ç¿ëµÇ´Â ·Îº¿ÀÇ °æ¿ì¿¡µµ °ø¾ÐÀº ¸»´ÜÀåÄ¡¿¡ µ¿·ÂÀ» °ø±ÞÇÏ´Â µ¥ ÈçÈ÷ »ç¿ëµÈ´Ù.
°ø¾Ð ¾×Ãß¿¡ÀÌÅÍÀÇ ÁÖ¿ä ´ÜÁ¡À¸·Î´Â ³·Àº È¿À²À» °®´Â °Í°ú ³·Àº °¼ºÀ» °¡Áø´Ù´Â °ÍÀ̸ç, ³ôÀº Á¤¹Ðµµ·Î Á¦¾îÇÏ´Â µ¥¿¡´Â ÇѰ谡 ÀÖ´Ù´Â °ÍÀÌ´Ù. °ø¾ÐÀ» µ¿·ÂÀ¸·Î ÇÏ´Â ·Îº¿ÀÇ ¿¹´Â ±×¸² 2.3.16 ¿¡¼ º¼ ¼ö ÀÖ´Ù. ¶ÇÇÑ °£´ÜÇÑ °ø¾Ðȸ·Î´Â ±×¸² 14 ¿¡ ³ªÅ¸³´Ù.

±×¸² 14 °£´ÜÇÑ °ø¾Ðȸ·Î
À¯¾Ð ¾×Ãß¿¡ÀÌÅÍ (hydraulic drive) ´Â Á÷¼±ÀÇ ÇǽºÅæ ¾×Ãß¿¡ÀÌÅÍ ¶Ç´Â ȸÀü º£ÀÎÇü ÁßÀÇ ÇϳªÀÌ´Ù. ¸¸ÀÏ º£ÀÎÇüÀÌ Á÷Á¢ ¾×Ãß¿¡ÀÌÅͷμ »ç¿ëµÇ¸é, °üÀýÀÇ È¸Àü¹üÀ§´Â º¹µ¿º£ÀÎ ¾×Ãß¿¡ÀÌÅÍÀÇ ³»ºÎ Á¤Áö¹°·Î ÀÎÇÏ¿© 360 µµ ÀÌÇÏ·Î Á¦ÇѵȴÙ. À¯¾Ð ¾×Ãß¿¡ÀÌÅÍ´Â ÁÖ¾îÁø ¾×Ãß¿¡ÀÌÅÍ¿¡ Å« µ¿·ÂÀ» Á¦°øÇÑ´Ù.
³ôÀº Áß·®¿¡ ´ëÇÑ µ¿·ÂÀÇ ºñ´Â À¯¾Ð ¾×Ãß¿¡ÀÌÅͰ¡ Àû´çÇÑ ¼Óµµ·Î Å« ºÎÇϸ¦ À̼ÛÇÒ ¼ö ÀÖµµ·Ï ÇÑ´Ù. À¯¾Ð ¹«ÅÍ´Â ÀϹÝÀûÀ¸·Î ´õ ÁÁÀº ¼º´ÉÀ» ÀÌ·ç±â À§ÇØ ¿¡³ÊÁö¸¦ »ç¿ëÇÏ´Â È¿°úÀûÀÎ ¹æ¹ýÀÌ ÀÖÁö¸¸, ´õ¿í´õ °í°¡À̰í ÀϹÝÀûÀ¸·Î Á¤È®µµ°¡ ³·´Ù.
À¯¾Ð ½Ã½ºÅÛÀÇ ÁÖ¿ä ´ÜÁ¡À¸·Î´Â ÆßÇÁ¿Í ¾îÅ¥¹Ä·¹ÀÌÅÍ (accumulator) ¸¦ Æ÷ÇÔÇÑ ¿¡³ÊÁö ÀúÀå ½Ã½ºÅÛÀÌ ÇÊ¿äÇÑ °ÍÀÌ´Ù. ¶ÇÇÑ À¯¾Ð ½Ã½ºÅÛÀº ´©¼³¿¡ ¹Î°¨Çϸç, ±×°ÍÀº È¿À²À» ³·Ãâ ¼ö ÀÖ°í, ÀÚÁÖ Ã»¼ÒÇϰí À¯Áö º¸¼öÇØ¾ß ÇÑ´Ù. ÀÛµ¿À¯Ã¼´Â Ç×»ó ±ú²ýÇØ¾ß Çϰí ÇÊÅÍ¿¡´Â ÀÔÀÚ°¡ ¾ø¾î¾ß ÇÑ´Ù. À¯Ã¼´Â ÀÏÁ¤ÇÑ ¿Âµµ (100¢µ~110¢µ) ¸¦ À¯ÁöÇØ¾ß ÇÑ´Ù. ¶ÇÇÑ °ø±â »ðÀÔ°ú °øµ¿ (cavitation) Çö»óÀº ¶§¶§·Î ¹®Á¦¸¦ ¾ß±âÇÑ´Ù. À¯¾Ð µ¿·ÂÀÇ ÁÖ¿äÇÑ °ü½É»çÇ× ÁßÀÇ Çϳª´Â ȯ°æÀûÀÎ °ÍÀÌ´Ù. ¿À¿°µÈ ±â¸§À» Ä¡¿ì´Â µ¥´Â ºñ¿ëÀÌ ¸¹ÀÌ µé°í, ¾î¶°ÇÑ ´©¼³µµ Áß´ëÇÑ È¯°æ¿À¿° ¹®Á¦°¡ µÈ´Ù. Detroit ¿¡¼ 1996 ³â National Robotics Safety Áýȸ µ¿¾È¿¡, ÀÌ·¯ÇÑ ¹®Á¦¿¡ ´ëÇÑ ¸î °¡Áö »çÇ×µéÀÌ 3´ë ÀÚµ¿Â÷ ȸ»ç¿¡ ÀÇÇØ Á¦±âµÇ¾ú´Ù. Àü±â ¼º¸¸ðÅÍ µ¿·Â¿øÀÌ ±â¸§ ¿À¿°ÀÇ À§ÇèÀ¸·ÎºÎÅÍ ÇÇÇÏ´Â ÇØ°áÃ¥À̶ó°í ´À³¤´Ù.
ȯ°æÀÇ Æø¹ß À§Çè¿¡ Á÷¸éÇÒÁöµµ ¸ð¸£´Â ÆäÀÎÆ® ºÐ¹«³ª ´Ù¸¥ ÀÀ¿ë¿¡¼ À¯¾Ð ±¸µ¿ ·Îº¿Àº Àü±â±¸µ¿ ·Îº¿¿¡ ºñÇÏ¿© ¸í¹éÇÑ ÀåÁ¡À» °¡Áø´Ù.
¿¡³ÊÁö°¡ ¾îÅ¥¹Ä·¹ÀÌÅÍ¿¡ ½±°Ô º¸°üµÉ ¼ö ÀÖ°í, ±ä±ÞÇÑ ·Îº¿ ÀÛµ¿ÀÌ ¿ä±¸µÉ ¶§ ±× ¿¡³ÊÁö¸¦ ½±°Ô ¹æÃâÇÒ ¼ö Àֱ⠶§¹®¿¡ À¯¾Ð µ¿·ÂÀº ¸î °¡ÁöÀÇ ·Îº¿ ÀÀ¿ëµé¿¡ À¯¿ëÇÏ°Ô ¾²¿©Áø´Ù. ¼±Çü À¯¾Ð ¾×Ãß¿¡ÀÌÅÍ (½Ç¸°´õ) ¸¦ °¡Áø ÀüÇüÀûÀÎ À¯¾Ðµ¿·Â ½Ã½ºÅÛÀº ±×¸² 15 ¿¡ ³ªÅ¸³ª ÀÖÀ¸¸ç, 2´ëÀÇ ½ÇÁ¦·Î ´Ù¸¥ Å©±âÀÇ µ¿·Â À¯´ÖÀº ±×¸² 16 ¿¡¼ º¸¿©ÁØ´Ù. °£´ÜÇÑ À¯¾Ðȸ·Î°¡ ±×¸² 17 ¿¡¼ º¸¿©ÁØ´Ù. ±Ã±ØÀûÀ¸·Î ¸ðµç À¯¾Ðȸ·ÎµéÀº ÀÀ¿ë¿¡ °ü°è¾øÀÌ º»ÁúÀûÀ¸·Î µ¿ÀÏÇÑ °ÍÀÌ´Ù. À¯¾Ðȸ·Î¿¡ ÇÊ¿äÇÑ ¾Æ·¡ 6°¡ÁöÀÇ ±âº» ±¸¼º ¿ä¼Ò°¡ ÀÖ´Ù (±×¸² 15) :
1. º¸Åë À¯¾Ð ±â¸§ÀÎ ¾×ü¸¦ ´ã´Â ÅÊÅ© (ÀúÀåÁ¶) .
2. ½Ã½ºÅÛÀ» ÅëÇÏ¿© ¾×ü¿¡ ÈûÀ» °ø±ÞÇÏ´Â ÆßÇÁ.
3. ÆßÇÁ¸¦ ±¸µ¿ÇÏ´Â Àüµ¿±â ¶Ç´Â ´Ù¸¥ µ¿·Â¿ø.
4. ¾×üÀÇ ¹æÇâ, ¾Ð·Â°ú À¯·®À» Á¦¾îÇÏ´Â ¹ëºê.
5. À¯¿ëÇÑ ÀÏÀ» ÇÒ ¼ö ÀÖµµ·Ï ¾×üÀÇ ¿¡³ÊÁö¸¦ ±â°èÀûÀÎ Èû ¶Ç´Â ÅäÅ©·Î º¯È¯ÇÏ´Â ¾×Ãß¿¡ÀÌÅÍ. ¾×Ãß¿¡ÀÌÅÍ´Â ±×¸² 15 ¿Í °°Àº ¼±Çü ¿îµ¿À» Á¦°øÇÏ´Â ½Ç¸°´õ ¶Ç´Â ȸÀü¿îµ¿À» Á¦°øÇϴ ȸÀü º£ÀÎÇü ÁßÀÇ ÇϳªÀÌ´Ù.
6. ¾î¶² À§Ä¡¿¡¼ ´Ù¸¥ À§Ä¡·Î ¾×ü¸¦ À̵¿½ÃŰ´Â ¹è°ü (piping) .

±×¸² 15 ¼±Çü ¾×Ãß¿¡ÀÌÅÍ (½Ç¸°´õ) ¸¦ °¡Áø À¯¾Ð µ¿·Â°ø±Þ ½Ã½ºÅÛ (Vickers, Inc. ÀÇ ½ÂÀÎÇÏ¿¡ °ÔÀç)

±×¸² 16 ½ÇÁ¦·Î ´Ù¸¥ Å©±âÀÇ 2 ´ëÀÇ À¯¾Ðµ¿·Â À¯´Ö (Continental Hydraulics ÀÇ ½ÂÀÎÇÏ¿¡ °ÔÀç)

±×¸² 17 ´Ü¼øÇÑ À¯¾Ðȸ·Î
Àü±â±â°è (electromechanical) µ¿·Â °ø±ÞÀåÄ¡´Â ¿À´Ã³¯ ÀÌ¿ë °¡´ÉÇÑ ·Îº¿µé¿¡ ¾à 20 % °¡ »ç¿ëµÈ´Ù. ÀüÇüÀûÀÎ ÇüÅ´ ¼º¸¸ðÅÍ, ½ºÅ×ÇÎ ¸ðÅÍ, ÆÞ½º ¸ðÅÍ, ¼±Çü ¼Ö·¹³ëÀ̵å¿Í ȸÀüÇü ¼Ö·¹³ëÀ̵åÀ̸ç, ¿©·¯ °¡Áö µ¿±â ¸ðÅÍ¿Í Å¸ÀÌ¹Ö º§Æ® ±¸µ¿ÀåÄ¡ÀÌ´Ù.
·Îº¿ °üÀý¿¡ ±³·ù ¼º¸¸ðÅ͵éÀ» »ç¿ëÇÏ´Â ÁÖ¿ä ÀÌÀ¯´Â ½Å¼ÓÇÔ, Á¤È®ÇÑ À§Ä¡°áÁ¤, ³ôÀº Á¤Áö ÅäÅ©, ÀÛÀº ÇÁ·¹ÀÓ Å©±â¿Í °æ·®È ¶§¹®ÀÌ´Ù. °ø±âÀÇ ¾ÐÃ༺ ¶§¹®¿¡ °ø¾Ð ±¸µ¿ ·Îº¿Àº º¸Åë °æ·® ¼ºñ½º, Á¦ÇÑµÈ ½ÃÄö½º¿Í ÇÈ-Ç÷¹À̽ºÀÇ ÀÀ¿ëµé¿¡¼ ÁÖ·Î »ç¿ëµÈ´Ù. À¯¾Ð ·Îº¿Àº Á¦¾î¿Í Çǵå¹éÀ» À§ÇØ º¸Åë À¯¾Ð ¼º¸¹ëºê¿Í ¾Æ³¯·Î±× ¸®Á¹¹ö (analog resolver) ¸¦ »ç¿ëÇÑ´Ù. µðÁöÅÐ ¿£ÄÚ´õ¿Í Àß ¼³°èµÈ Çǵå¹é Á¦¾î ½Ã½ºÅÛÀº À¯¾Ð±¸µ¿ ·Îº¿¿¡°Ô ÀϹÝÀûÀ¸·Î Àü±â±¸µ¿ ·Îº¿ Á¤µµÀÇ Á¤È®µµ¿Í ¹Ýº¹ Á¤¹Ðµµ¸¦ Á¦°øÇÒ ¼ö ÀÖ´Ù.
·Îº¿ ¸Ó´Ïǽ·¹ÀÌÅÍ´Â ÀÛ¾÷ÀåÀÇ ¾î¶² ÁöÁ¡¿¡¼ ´Ù¸¥ ÁöÁ¡À¸·Î À̵¿ÇÏ´Â µ¥ ÀÖ¾î¼ 4 °¡Áö Á¾·ùÀÇ ¿îµ¿À» ÇÒ ¼ö ÀÖ´Ù:
1. ºñƲ¸² ȸÀü¿îµ¿ (slew motion)
2. °üÀý º¸°£¿îµ¿ (joint-interpolated motion)
3. Á÷¼± º¸°£¿îµ¿ (straight-line interpolation motion)
4. ¿øÈ£ º¸°£¿îµ¿ (circular interpolation motion)
ºñƲ¸² ȸÀü¿îµ¿Àº °¡Àå ´Ü¼øÇÑ ¿îµ¿ À¯ÇüÀ» ³ªÅ¸³½´Ù. ·Îº¿Àº ¾î¶² ÁöÁ¡¿¡¼ ´Ù¸¥ ÁöÁ¡À¸·Î À̵¿Çϵµ·Ï ¸í·ÉÀ» ¹ÞÀ¸¸ç, ¿©±â¿¡¼ ¸Ó´Ïǽ·¹ÀÌÅÍÀÇ °¢ ÃàÀº ¼³Á¤µÈ ¼Óµµ·Î ÃÖÃÊÀÇ ÁöÁ¡¿¡¼ ¿ä±¸µÇ´Â ÃÖÁ¾ ¸ñÀûÁö±îÁö À̵¿ÇÑ´Ù.
°üÀý º¸°£¿îµ¿Àº ·Îº¿ Á¦¾î±â°¡ °¢ °üÀýÀÌ ¸í·ÉµÈ ¼Óµµ·Î ¸ñÀûÁö¿¡ µµÂøÇÏ´Â µ¥ °É¸®´Â ½Ã°£À» °è»êÇϵµ·Ï ¿ä±¸ÇÑ´Ù. ±×¶§ ÀÌµé °ª Áß¿¡¼ ÃÖ´ë½Ã°£À» ¼±ÅÃÇϰí, ±×°ÍÀ» ´Ù¸¥ Ãàµé¿¡ ´ëÇÑ ¼Ò¿ä½Ã°£À¸·Î¼ »ç¿ëÇÑ´Ù. ºñƲ¸² ȸÀü¿îµ¿¿¡ ºñÇÏ¿© °üÀý º¸°£¿îµ¿ÀÇ ÀÌÁ¡Àº °üÀýÀÌ ³·Àº ¼Óµµ·Î ±¸µ¿µÇ¸ç ·Îº¿ÀÇ À¯Áöº¸¼ö°¡ ÈξÀ ¿ëÀÌÇÏ´Ù´Â °ÍÀÌ´Ù.
Á÷¼± º¸°£¿îµ¿Àº ¸»´ÜÀåÄ¡ÀÇ ³¡´ÜÀÌ Á÷±³ ÁÂÇ¥°è¿¡¼ Á¤ÀÇµÈ Á÷¼±°æ·Î¸¦ µû¶ó À̵¿ÇÑ´Ù. ÀÌ·¯ÇÑ ¿îµ¿ À¯ÇüÀº Á÷±³ ÁÂÇ¥Çü ·Îº¿À» Á¦¿ÜÇϰí Á¦¾î±â°¡ ¼öÇàÇØ¾ß ÇÒ °è»ê·®ÀÌ ¸¹°í Á¦¾î±âÀÇ ºü¸¥ ¼º´ÉÀÌ ¿ä±¸µÈ´Ù. Á÷¼± º¸°£¿îµ¿Àº ¾ÆÅ© ¿ëÁ¢, ±¸¸Û¿¡ ÇÉÀÇ »ðÀÔ, Á÷¼±°æ·Î¿¡ µû¶ó ¹°·ù ¹èÄ¡¿Í °°Àº ÀÀ¿ë¿¡ ¸Å¿ì À¯¿ëÇÏ´Ù.
¿øÈ£ º¸°£¿îµ¿Àº ·Îº¿ Á¦¾î±â°¡ 3 °³ÀÇ ÁöÁ¤µÈ À§Ä¡µéÀÇ ÃÖ¼Ò°ª¿¡ ±â¹ÝÀ» µÐ ÀÛ¾÷ÀåÀÇ ¿øÈ£»óÀÇ Á¡µéÀ» Á¤ÀÇÇÏ´Â °ÍÀÌ ÇÊ¿äÇÏ´Ù. ·Îº¿¿¡ ÀÇÇÑ À̵¿Àº ½ÇÁ¦·Î ªÀº Á÷¼± ¼¼±×¸ÕÆ®µé·Î ÀÌ·ç¾îÁ® ÀÖ´Ù. ±×·¯¹Ç·Î ¿øÈ£ º¸°£Àº ¿øÀÇ ¼±Çü ±Ù»ç°ªÀ» ¸¸µé¾î ³»°í, ¼öµ¿À¸·Î ¶Ç´Â ±³½Ã Ææ´øÆ® (teach pendant) ±â¹ýº¸´Ù ¿ÀÈ÷·Á ÇÁ·Î±×·¡¹Ö ¾ð¾î¸¦ ´õ¿í´õ ¿ëÀÌÇÏ°Ô »ç¿ëÇϰí ÀÖ´Ù.
»ó¾÷ÀûÀ¸·Î ÀÌ¿ë °¡´ÉÇÑ »ê¾÷¿ë ·Îº¿µéÀº °æ·ÎÁ¦¾î ½Ã½ºÅÛ¿¡ µû¶ó¼ 4 °¡Áö Á¾·ù·Î ºÐ·ùµÉ ¼ö ÀÖ´Ù:
1. Á¦ÇÑ ½ÃÄö½º (limited-sequence)
2. ÁöÁ¡°£ (point-to-point)
3. Á¦¾î°æ·Î (controlled-path)
4. ¿¬¼Ó°æ·Î (continuous-path)
Á¦ÇÑ ½ÃÄö½º ·Îº¿Àº °üÀýÀÇ »ó´ëÀûÀÎ À§Ä¡µéÀ» °¡¸®Å°±â À§ÇØ ¼º¸ Á¦¾î¸¦ »ç¿ëÇÏÁö ¾Ê´Â´Ù. ±× ´ë½Å¿¡, ½ÃÄö½º ÀåÄ¡¿Í ÇÔ²² ¸®¹ÌÆ® ½ºÀ§Ä¡ ¶Ç´Â ±â°èÀû ¸ØÃãÀåÄ¡°¡ °üÀýÀÇ ±¸µ¿À» Á¶Á¤ÇÒ ¼ö ÀÖµµ·Ï ¼³Á¤ÇÔÀ¸·Î½á Á¦¾îµÈ´Ù. ÀÌ·¯ÇÑ Á¦¾î¹æ¹ýÀ¸·Î¼ °³º°ÀûÀÎ °üÀýÀº À̵¿ÀÇ ±ØÇѱîÁö ¿òÁ÷ÀÏ ¼ö ÀÖ´Ù. À̰ÍÀº ÀÌ·¯ÇÑ ·Îº¿µéÀ» À§ÇØ ÇÁ·Î±×·¥¿¡¼ ¸í·ÉÇÒ ¼ö ÀÖ´Â ÁöÁ¡µéÀÇ ¼ö¸¦ Á¦ÇÑÇÏ´Â È¿°ú¸¦ °¡Áø´Ù. ±×·¯¹Ç·Î, Á¦¾î ½Ã½ºÅÛÀº °¢ ÃàÀÌ º¸Åë 2 °³ ³¡Á¡À¸·Î Á¦ÇѵǴ ÇÈ-Ç÷¹À̽º ÀÀ¿ë°ú °°Àº °£´ÜÇÑ ¿îµ¿ »çÀÌŬ¿¡ »ç¿ëµÈ´Ù. ±×·¯³ª, ¾à°£ÀÇ ÇÈ-Ç÷¹À̽º ·Îº¿µéµµ ÀϹÝÀûÀÎ 1 °³ ¶Ç´Â 2 °³ÀÇ Áß°£ Á¤ÁöÁöÁ¡À» Æ÷ÇÔÇÑ´Ù; ±×·¯¹Ç·Î ±×µéÀº Á¤Áö-Á¤Áö (stop-to-stop) ¶Ç´Â ¶§‹š·Î ¹ð-¹ð (bang-bang) À̶ó°í ºÒ¸± ¼ö ÀÖ´Ù.
ÇÈ-Ç÷¹À̽º ·Îº¿µéÀº »ê¾÷¿¡¼ Åë»ó ½ÇÇàÇÏ´Â ÀÛ¾÷¿¡ ÀÇÇØ À̸§ Áö¿öÁ³´Ù. ·Îº¿µéÀº ¾î¶² ÁöÁ¡À¸·ÎºÎÅÍ ºÎǰ ¶Ç´Â ¹°°ÇµéÀ» Áý¾îµé°í, ´Ù¸¥ ÁöÁ¡¿¡ ±×µéÀ» ³õ´Â´Ù. ÇÈ-Ç÷¹À̽º ·Îº¿Àº ÄÁº£ÀÌ¾î ¶Ç´Â À̼۶óÀο¡ ºÎǰ ÇÏ¿ªÀ» Çϱâ À§ÇØ »ç¿ëµÉ ¼ö ÀÖ´Ù. ±×°ÍÀº °£´ÜÇÑ ÇÁ·¹½º ÀåÂø°ú Å»ÂøÀÇ ÀÀ¿ë¿¡ »ç¿ëµÉ ¼ö ÀÖ´Ù. Á¦ÇÑ ½ÃÄö½º ·Îº¿Àº ÇÈ-Ç÷¹À̽º ¿îµ¿À» ÀÌ¿ëÇÑ´Ù. ÇÈ-Ç÷¹À̽º ·Îº¿Àº ±×¸² 18 ¿¡¼ º¸¿©ÁØ´Ù.

±×¸² 18 ÇÈ-Ç÷¹À̽º ¿îµ¿
ÇÈ-Ç÷¹À̽º ·Îº¿µéÀº ¸ðµç ·Îº¿µé Áß¿¡¼ °¡Àå ´Ü¼øÇÑ °ÍÀÌ´Ù. À̰ÍÀº ´Ü¼øÇϱ⠶§¹®¿¡ °¡Ä¡°¡ Àû´Ù´Â °ÍÀº ¾Æ´Ï´Ù. ÇÈ-Ç÷¹À̽º ·Îº¿Àº ´Ü¼øÇÑ ÀÛ¾÷¿¡ ´ëÇØ¼´Â Ź¿ùÇÑ ¼±ÅÃÀÌ´Ù. ±×°ÍµéÀº °¡Àå ³·Àº Á¦¾îÀÇ ¼öÁØÀÌÁö¸¸, 4 °¡Áö ÇüÅ Áß¿¡ °¡Àå Àú°¡ÀÌ´Ù. ÀÛ¾÷À» ÇÏ´Â µ¥ ÇÊ¿äÇÑ °Íº¸´Ù ¸¹Àº ¼³ºñ¸¦ ±¸ÀÔÇØ¾ß ÇÒ ÀÌÀ¯°¡ ¾ø´Ù.
ÇÈ-Ç÷¹À̽º ·Îº¿µéÀº À¯Áöº¸¼ö°¡ °¡Àå ½¬¿î ÀÌÁ¡À» °¡Áø´Ù. ±×µéÀº °øÀåÀÇ Àü±â³ª ±â°è ¼ö¸® Àοø¿¡ ÀÇÇÏ¿© À¯Áöº¸¼öµÉ ¼ö ÀÖ´Ù. ÀÌ·¯ÇÑ ÇüÅÂÀÇ ·Îº¿Àº ÀϹÝÀûÀ¸·Î °ø¾ÐÀ¸·Î ÀÛµ¿µÈ´Ù.
ÁöÁ¡°£ Á¦¾î ·Îº¿Àº °¡Àå ÀϹÝÀûÀ¸·Î 4 °¡Áö·Î ºÐ·ùµÇ¸ç, ¾î¶² ÁöÁ¤µÈ ÁöÁ¡¿¡¼ ´Ù¸¥ ÁöÁ¡À¸·Î ¿òÁ÷ÀÏ ¼ö ÀÖÁö¸¸, ÀÌÀü¿¡ ÁöÁ¤µÇÁö ¾Ê´Â ÀÓÀÇÀÇ ÁöÁ¡µé¿¡¼ ¸ØÃâ ¼ö ¾ø´Ù. ¼º¸±â±¸¿¡ ÀÇÇØ ±¸µ¿µÇ´Â ÁöÁ¡°£ Á¦¾î ·Îº¿Àº ÁöÁ¤µÈ ÁöÁ¡¿¡ ·Îº¿ÀÇ ÆÈÀ» ¸ØÃß±â À§ÇØ ¼³Á¤µÈ ÀüÀ§Â÷°è (potentiometers) ¿¡ ÀÇÇØ ÀÚÁÖ Á¦¾îµÈ´Ù. ÁöÁ¡°£ Á¦¾î ·Îº¿Àº ÀÛ¾÷°ø°£ ³»ÀÇ ¾î¶² ÁöÁ¡¿¡¼ ´Ù¸¥ ÁöÁ¡À¸·Î ¿òÁ÷À̱â À§ÇØ ÇÁ·Î±×·¥ (ÇнÀ) µÉ ¼ö ÀÖ´Ù. ÀÌ·¯ÇÑ ±â´ÉÀº ÀáÀçÀû ÀÀ¿ëºÐ¾ßµéÀ» ³ÐÈù´Ù. ±×·¯¹Ç·Î ÀÌ·¯ÇÑ ·Îº¿µéÀº Á¡ ¿ëÁ¢ (ÀúÇ׿ëÁ¢) , Á¶¸³, ¿¬»è, °Ë»ç, ¿î¹Ý°ú ÇÏ¿ª µîÀÇ º¹ÀâÇÑ ÀÀ¿ë»Ó¸¸ ¾Æ´Ï¶ó °£´ÜÇÑ ±â°èÀÇ ÀåÂø/Å»ÂøÀÇ ÀÀ¿ë¿¡ »ç¿ëµÉ ¼öµµ ÀÖ´Ù.
ÁöÁ¡°£ ¿îµ¿Àº ±×¸² 19 ¿Í °°ÀÌ ·Îº¿ÀÌ ¸¹Àº ÀÌ»ê ÁöÁ¡À» Åë°úÇϵµ·Ï ÇÑ´Ù. ÇÁ·Î±×·¡¸Ó´Â ¸»´ÜÀåÄ¡¸¦ ¿øÇÏ´Â ÁöÁ¡¿¡ À§Ä¡½Ã۱â À§ÇØ ·Îº¿ ÃàÀ» Á¶ÇÕÇÏ¿© Á¦¾îÇÑ´Ù. ÀÌ·¯ÇÑ À§Ä¡³ª ÁöÁ¡µéÀº ¸Þ¸ð¸®¿¡ ±â·ÏµÇ°í ÀúÀåµÈ´Ù. Àç»ý (playback) ¸ðµå¿¡¼ ·Îº¿Àº ¸Þ¸ð¸®¿¡ ±â·ÏµÈ ÁöÁ¡µéÀ» Åë°úÇÑ´Ù.

±×¸² 19 ÁöÁ¡°£ ¿îµ¿
ÁöÁ¡°£ Á¦¾î ·Îº¿Àº µ¿½Ã¿¡ ¸¹Àº ÃàµéÀÌ ¿òÁ÷ÀÏ ¼ö ÀÖ´Ù. ¿¹¸¦ µé¸é, ±¸ ÁÂÇ¥Çü ·Îº¿Àº º£À̽º¸¦ Áß½ÉÀ¸·Î ȸÀüÇÔ°ú µ¿½Ã¿¡ ´Ù¸¥ ÃàÀÌ À̵¿ÇÒ ¼ö ÀÖ´Ù. ´õ¿í´õ º¹ÀâÇÑ ÀÀ¿ë¿¡¼´Â ·Îº¿ÀÌ ¸ðµç ÁÖ¿ä Ãà°ú º¸Á¶ ÃàÀ» µ¿½Ã¿¡ ¿òÁ÷ÀÌ´Â °ÍÀÌ °¡´ÉÇÏ´Ù.
ºñ·Ï ÁöÁ¡°£ Á¦¾î ·Îº¿Àº ±× ÀÛ¾÷°ø°£ ³»¿¡¼ ¾î¶°ÇÑ ÁöÁ¡À¸·Î À̵¿ÇÒ ¼ö ÀÖÁö¸¸, 2 °³ÀÇ ÁöÁ¡ »çÀ̸¦ ¹Ýµå½Ã Á÷¼±À¸·Î ¿òÁ÷ÀÌÁö´Â ¾Ê´Â´Ù. ±×¸² 20 Àº ÁöÁ¡°£ Á¦¾î ·Îº¿ÀÌ ÁöÁ¡ A¿Í B »çÀÌ¿¡¼ ÃëÇÏ´Â °æ·Î¸¦ º¸¿©ÁØ´Ù. ¼öÁ÷À̵¿Àº ÁöÁ¡ A ¿¡¼ ÁöÁ¡ B ·Î ¿òÁ÷ÀÌ´Â µ¥ ÇÊ¿äÇÑ ¼öÆòÀ̵¿º¸´Ù ¾ÆÁÖ Âª´Ù. Á¦¾î¿¡ ÀÇÇØ Á¦½ÃµÉ ¶§, ·Îº¿ ¸Ó´Ïǽ·¹ÀÌÅÍ´Â ÁöÁ¡ A ¿¡¼ ÁöÁ¡ B ¸¦ ÇâÇØ ¿òÁ÷À̱⠽ÃÀÛÇÒ °ÍÀÌ´Ù. ¸Ó´Ïǽ·¹ÀÌÅÍ´Â ¼öÁ÷ÀÇ Ãà¿¡¼´Â ¿Ã¶ó°¡±â ½ÃÀÛÇÏ¿©, ±×ÈÄ ¼öÆòÀÇ Ãà¿¡ µµ´ÞÇÒ °ÍÀÌ´Ù. ¸Ó´Ïǽ·¹ÀÌÅÍ´Â ¼öÁ÷ÃàÀ» µû¶ó À̵¿ÇØ¾ß ÇÒ °Å¸®°¡ ¼öÆòÃàÀ» µû¶ó À̵¿ÇØ¾ß ÇÒ °Å¸®º¸´Ù ¸Å¿ì ª±â ¶§¹®¿¡, ¸Ó´Ïǽ·¹ÀÌÅÍ´Â ¼öÆòÀÇ À̵¿À» ¿Ï·áÇϱ⠿À·¡ Àü¿¡ ¿ä±¸µÈ ¼öÁ÷ÀÇ À̵¿À» ¿Ï·áÇÒ °ÍÀÌ´Ù. °á°úÀûÀÎ °æ·Î´Â ¾î¶² È£ÀÇ ÇüŰ¡ µÉ °ÍÀÌÁö¸¸, È£ÀÇ Á¤È®ÇÑ Çü»óÀº ·Îº¿ÀÇ ÇÁ·Î±×·¡¹Ö µ¿¾È¿¡´Â ¿¹ÃøÇÒ ¼ö ¾ø´Ù.

±×¸² 20 ¾î¶² ÁöÁ¡¿¡¼ ´Ù¸¥ ÁöÁ¡À¸·Î À̵¿ÇÏ´Â (¼öÁ÷°ú ¼öÆòÀ̵¿ÀÇ °áÇÕ) ÁöÁ¡°£ Á¦¾î ·Îº¿ÀÇ ¸Ó´Ïǽ·¹ÀÌÅÍÀÇ °æ·Î ¿¹½Ã

±×¸² 21 ÁöÁ¡°£ Á¦¾î ·Îº¿ÀÇ ÇÁ·Î±×·¡¹Ö¿¡ »ç¿ëµÇ´Â ±³½Ã Ææ´øÆ®
±×¸² 21 ¿¡ ³ªÅ¸³ª´Â °Í°ú °°ÀÌ ÁöÁ¡°£ Á¦¾î ·Îº¿À» ÇÁ·Î±×·¥Çϱâ À§ÇÏ¿© ÇÁ·Î±×·¡¸Ó´Â ±³½Ã Ææ´øÆ® (teach pendant) ¹öưÀ» ´·¯¾ß ÇÑ´Ù. ±³½Ã Ææ´øÆ®´Â °øÀå¿¡¼ ¿À¹öÇìµå Å©·¹ÀÎÀ» ¿òÁ÷À̱â À§ÇØ »ç¿ëµÇ´Â Á¦¾î¿Í ¸Å¿ì À¯»çÇÏ´Ù. ·Îº¿ÀÌ º£À̽º¸¦ Áß½ÉÀ¸·Î ȸÀüÇϱâ À§ÇÏ¿©, ¹öưÀ» ´©¸£°í ¶ÇÇÑ ±×¶§ ·Îº¿Àº ȸÀüÇÑ´Ù. ¸Ó´Ïǽ·¹ÀÌÅ͸¦ ½ÅÀå½Ã۱â À§ÇÏ¿©, ¶Ç ´Ù¸¥ ¹öưÀ» ´©¸£°Ô µÈ´Ù. ·Îº¿ÀÌ ¿ä±¸ ÁöÁ¡¿¡ ´Ù´Ù¶úÀ» ¶§, ÇÁ·Î±×·¡¸Ó´Â ·Îº¿ÀÇ ¸Þ¸ð¸®¿¡ ±× ÁöÁ¡À» ±â·ÏÇϱâ À§ÇØ ¹öưÀ» ´©¸¥´Ù. ±×¶§ ÇÁ·Î±×·¡¸Ó´Â Àû´çÇÑ ¹öưµéÀ» ´©¸§À¸·Î½á ¸Ó´Ïǽ·¹ÀÌÅͰ¡ ´ÙÀ½ ÁöÁ¡À¸·Î ¿òÁ÷ÀδÙ. ÇÁ·Î±×·¡¸Ó°¡ ´ÙÀ½ ÁöÁ¡À¸·Î À̵¿Çϵµ·Ï ÇÑ °æ·Î´Â ·Îº¿¿¡ ÀÇÇÏ¿© ±â¾ïµÇÁö ¾Ê´Â´Ù. ¸Ó´Ïǽ·¹ÀÌÅͰ¡ ¸¶Ä§³» ¿ä±¸ ÁöÁ¡¿¡ µµ´ÞÇßÀ» ¶§, ±× ÁöÁ¡À» ±â·ÏÇϱâ À§ÇÑ ¹öưÀº ´Ù½Ã ´·ÁÁö°í, µÎ ¹ø¤Š ÁöÁ¡ÀÌ ·Îº¿ÀÇ ¸Þ¸ð¸®¿¡ ±â¾ïµÈ´Ù. ÇÁ·Î±×·¥ÀÌ Àç»ýµÉ ¶§, ·Îº¿Àº ¸Þ¸ð¸®¿¡ Àִ ù ¹øÂ° ÁöÁ¡¿¡¼ µÎ ¹øÂ° ÁöÁ¡À¸·Î À̵¿ÇÒ °ÍÀ̸ç, ±×ÈÄ ¼¼ ¹øÂ° ÁöÁ¡À¸·Î À̵¿ÇÒ °ÍÀ̸ç, ÇнÀµÈ ¸ðµç ÁöÁ¡À¸·Î ¿òÁ÷ÀÏ ¶§±îÁö °è¼ÓÇÒ °ÍÀÌ´Ù. ·Îº¿ÀÌ ÃÖÈÄÀÇ ÁöÁ¡¿¡ µµ´ÞÇÑ ÈÄ¿¡ Á¦¾î±â´Â ¸Ó´Ïǽ·¹ÀÌÅͰ¡ ¸Þ¸ð¸® ¼ÓÀÇ Ã¹ ¹øÂ° ÁöÁ¡À¸·Î µÇµ¹¾Æ°¡µµ·Ï Çϸç, ÀüüÀûÀÎ ÇÁ·Î±×·¥ÀÌ ¹Ýº¹µÈ´Ù. ¸î¸îÀÇ ·Îº¿¿¡¼´Â ÆÈÀ» ¼öµ¿À¸·Î ¿øÇÏ´Â ¸¶Áö¸· ÁöÁ¡À¸·Î ´ëÃæ ²øÁö¸¸, ±³½Ã Ææ´øÆ®¸¦ »ç¿ëÇÏ¿© ¹Ì¼¼ÇÏ°Ô Á¶Á¤µÈ´Ù. ÁöÁ¡°£ ·Îº¿ÀÇ ´Ü¼øÇÑ Á¦¾î¹æ¹ýÀº ºÒ°¡´ÉÇÏÁö ¾Ê´õ¶óµµ 2°³ÀÇ ÇнÀÁöÁ¡µé »çÀÌ¿¡¼ ¸Ó´Ïǽ·¹ÀÌÅÍÀÇ Á¤È®ÇÑ °æ·Î¸¦ ¿¹ÃøÇÏ´Â °ÍÀ» ¾î·Æ°Ô ÇÑ´Ù.
Á¦¾î°æ·Î (controlled path) ´Â ÁöÁ¡°£ Á¦¾î°¡ ´õ¿í´õ Á¤¹ÐÇÏ°Ô Á¦¾îµÇ´Â Àü¹®ÀûÀÎ Á¦¾î ¹æ¹ýÀÌ´Ù. Á¦¾î°æ·Î ·Îº¿Àº ·Îº¿ÀÌ 2 °³ÀÇ ÇнÀµÈ ÁöÁ¡µÉ »çÀÌ¿¡¼ ÀûÇÕÇÑ ¼¼±×¸ÕÆ®¸¦ ±â¼úÇÑ´Ù. ±×¸² 22 ¿¡¼´Â Á¦¾î°æ·Î Á¦¾î±â°¡ ÀÛµ¿ÇÏ´Â ·Îº¿ÀÇ ¿¬¼Ó ³ëÃâ »çÁøÀ» ³ªÅ¸³½´Ù. ÀÌ »çÁø¿¡¼¿Í °°ÀÌ ·Îº¿Àº 2 °³ÀÇ ÇнÀµÈ ÁöÁ¡µé°£À» Á÷¼±À» µû¶ó ¿òÁ÷ÀδÙ.

±×¸² 22 Cincinnati Milacron T3 566 ·Îº¿. (Á¡¼±Àº ·Îº¿ ¸Ó´Ïǽ·¹ÀÌÅÍÀÇ °æ·Î)
Á¦¾î°æ·Î´Â °è»ê¹æ¹ýÀ̸ç, ¸Ó´Ïǽ·¹ÀÌÅͰ¡ ¿ÏÀüÇÑ °æ·Î·Î À̵¿Çؾ߸¸ ÇÒ ¶§ ¹Ù¶÷Á÷ÇÏ´Ù. Á¦¾î°æ·Î ·Îº¿µéÀº Á÷¼±, ¿ø, º¸°£°î¼±°ú ´Ù¸¥ °æ·Î¸¦ ¸Å¿ì Á¤¹ÐÇÏ°Ô »ý¼ºÇÒ ¼ö ÀÖ´Ù. °æ·Î¸¦ µû¶ó¼ ¾î¶² ÁöÁ¡µéÀ» Á¤È®ÇÏ°Ô ¾òÀ» ¼ö ÀÖ´Ù. ´ÜÁö ½ÃÀÛ°ú ³¡ÀÇ ÁÂÇ¥°ª°ú °æ·ÎÀÇ Á¤Àǰ¡ Á¦¾îÇϱâ À§ÇØ ÇÊ¿äÇÏ´Ù. ºñ·Ï Á¶¸³ÀÛ¾÷µéÀÌ ÁöÁ¡°£ Á¦¾î¿¡ ÀÇÇØ ½±°Ô ÀÌ·ç¾îÁú ¼ö ÀÖÁö¸¸, Á¦¾î°æ·Î ·Îº¿ÀÇ ÇÁ·Î±×·¡¹ÖÀº ±×·¯ÇÑ ÀÛ¾÷À» ´õ¿í ½±°Ô ¼öÇàÇÒ ¼ö ÀÖ´Ù. ¿¹¸¦ µé¸é, ¸¸¾à ·Îº¿ÀÌ ÃàÀ» º£¾î¸µ¿¡ ³Ö´Â °ÍÀ̶ó¸é, Á÷¼±À¸·ÎºÎÅÍ ÆíÂ÷´Â ÃàÀÌ º£¾î¸µÀ» ¹þ¾î³ª°Å³ª ÃàÀ» ±¸ºÎ¸®µµ·Ï ÇÒ °ÍÀÌ´Ù. Á¦¾î°æ·ÎÀÇ ·Îº¿À» »ç¿ëÇÏ´Â °ÍÀº ·Îº¿ÀÌ º£¾î¸µ ¾È¿¡ ÃàÀ» Á÷¼±ÀûÀ¸·Î ¹Ì²ô·¯Áöµµ·Ï ÇÏ´Â °ÍÀ» È®½ÇÇÏ°Ô ÇÒ °ÍÀÌ´Ù. ÇÑÆíÀ¸·Î´Â, ¸¸ÀÏ Á÷¼± ÀÛ¾÷¿¡¼ ÁöÁ¡°£ Á¦¾î ·Îº¿À» »ç¿ëÇÏ°í ½Í´Ù¸é, ·Îº¿ÀÌ °æ·Î¸¦ µû¶ó ¸¹Àº ÁöÁ¡À» Áö³ªµµ·Ï ÇÁ·Î±×·¥ÇÏ´Â °ÍÀÌ ÇÊ¿äÇÏ´Ù. ÇÁ·Î±×·¥µÇ´Â ÁöÁ¡ÀÌ ¸¹À¸¸é ¸¹À»¼ö·Ï ÁöÁ¡°£ Á¦¾î ·Îº¿Àº ´õ¿í´õ Á÷¼±ÀûÀ¸·Î °ðÀº °æ·Î°¡ µÉ °ÍÀÌ´Ù.
Á¦¾î°æ·Î ·Îº¿ÀÇ »ç¿ëÀ¸·Î ´Ü¼øÈµÈ ´Ù¸¥ ÀÀ¿ëµéÀº ¿ëÁ¢, µå¸±¸µ, ¿¬¸¶¿Í Á¶¸³ÀÛ¾÷µîÀÌ´Ù.
Á¦¾î°æ·ÎÀÇ ·Îº¿À» ÇÁ·Î±×·¡¹ÖÇÏ´Â ¹æ¹ýÀº ÁöÁ¡µéÀ» °è»êÇÏ´Â °Í Àܴ̿ ÁöÁ¡°£ Á¦¾î ·Îº¿ÀÇ ÇÁ·Î±×·¡¹Ö°ú À¯»çÇÏ´Ù.
ÁöÁ¡°£ Á¦¾î°æ·Î¿Í ºñÁ¦¾î °æ·ÎÀÇ ÇÁ·Î±×·¥ÀÇ Â÷ÀÌ´Â ±×¸² 23 ¿¡¼ ³ªÅ¸³ª ÀÖ´Ù. ±×¸²Àº 2 °³ÀÇ Ãà (x ¿Í y) ¿¡ ´ëÇÑ 2 °³ÀÇ ÇÁ·Î±×·¥ ÁöÁ¡ÀÌ´Ù.

±×¸² 23 Á¦¾î°æ·Î¿Í ºñÁ¦¾î °æ·Î ÀÛ¾÷ÀÇ ºñ±³
Á¦¾î°æ·Î ·Îº¿ÀÇ °üÀý ¾×Ãß¿¡ÀÌÅÍ´Â Á¦¾î°æ·Î Á¦¾î±â¿¡ ÀÇÇÏ¿© »ý¼ºµÈ °¢ °üÀýÀÇ ÇØ´ç ¼Óµµ·Î ¿òÁ÷ÀÌ´Â ¹Ý¸é¿¡, ÁöÁ¡°£ ºñÁ¦¾î ·Îº¿ÀÇ ¸ðµç °üÀý ¾×Ãß¿¡ÀÌÅÍ´Â µ¿½Ã¿¡ º°µµ·Î ¿òÁ÷ÀδÙ.
Á¦¾î°æ·Î¿¡ ´ëÇÏ¿© x Ãà ¸ðÅͰ¡ y Ãà ¸ðÅÍÀÇ 2 ¹è ¼Óµµ·Î ±¸µ¿µÇ¸é µÎ ÃàÀÌ ÁöÁ¡ B ¿¡ µ¿½Ã¿¡ µµ´ÞÇϸç À̰ÍÀº ¿ÏÀüÇÑ Á÷¼±¿îµ¿ÀÌ´Ù.
¿¬¼Ó°æ·Î ¿îµ¿Àº ÁöÁ¡°£ ¿îµ¿ÀÇ È®ÀåÀÌ´Ù. ±× Â÷ÀÌ´Â ¿¬¼Ó°æ·Î´Â ´õ ¸¹Àº ÁöÁ¡µéÀÌ ÇÊ¿äÇϰí, ±× °æ·Î´Â È£, ¿ø ¶Ç´Â Á÷¼±ÀÏ ¼ö ÀÖ´Ù. ¿¬¼Ó°æ·ÎÀÇ ÇÁ·Î±×·¥Àº ¼öõ ÁöÁ¡À» °¡Áú ¼ö ÀÖ´Ù. ±×¸² 24 ¿¡¼ ³ªÅ¸³ª´Â °Í°ú °°ÀÌ ´õ ¸¹Àº ÁöÁ¡µéÀÌ »ç¿ëµÇ±â ¶§¹®¿¡ °¢ ÁöÁ¡µé »çÀÌÀÇ °Å¸®´Â »ó´çÈ÷ °¡±õ´Ù.

±×¸² 24 ¿¬¼Ó°æ·Î ¿îµ¿
¸¹Àº ÁöÁ¡µé·Î ÀÎÇÏ¿© ·Îº¿Àº ¿¬¼ÓÀûÀ̰ųª À±°ûÀûÀÎ ¿òÁ÷ÀÓÀ» ÁÖ´Â ¸Å²ô·¯¿î °æ·Î¸¦ ¸¸µé¾î ³¾ ¼ö ÀÖ´Ù. ¿¬¼Ó°æ·Î ¿îµ¿Àº ³¡Á¡ÀÇ À§Ä¡ °áÁ¤º¸´Ù´Â °æ·Î À̵¿Á¦¾î¿¡ °ü½ÉÀÌ ÀÖ´Ù. ¿îµ¿°æ·ÎÀÇ ÇÁ·Î±×·¡¹ÖÀº Á¶ÀÛÀÚ°¡ ·Îº¿ÀÇ ¸»´ÜÀåÄ¡¸¦ ¿îµ¿°æ·Î¸¦ µû¶ó¼ ¹°¸®ÀûÀ¸·Î ¿òÁ÷À¸·Î½á ¿Ï·áµÈ´Ù. Á¶ÀÛÀÚ°¡ ±× ¿îµ¿À¸·Î½á ·Îº¿À» ¿òÁ÷ÀÌ´Â µ¿¾È, °¢ ÃàµéÀÇ À§Ä¡°¡ ÀÏÁ¤½Ã°£¸¶´Ù ±â·ÏµÈ´Ù. ÇÁ·Î±×·¥µéÀº ÀÚ±â Å×ÀÌÇÁ ¶Ç´Â Àڱ⠵ð½ºÅ©¿¡ ÀϹÝÀûÀ¸·Î ±â·ÏµÈ´Ù.
¿¬¼Ó°æ·Î Á¦¾î ·Îº¿Àº ÁöÁ¡°£ Á¦¾î ·Îº¿°ú Á¦¾î°æ·Î ·Îº¿°ú´Â ´Ù¸£°Ô ÇÁ·Î±×·¥µÈ´Ù. ±³½Ã Ææ´øÆ®ÀÇ ¹öưÀ» ´·¯¼ ·Îº¿À» ¿ä±¸ÁöÁ¡¿¡ ²ø±âº¸´Ù´Â, ¿¬¼Ó°æ·Î Á¦¾î ·Îº¿Àº ·Îº¿ ÆÈÀÇ ±×¸®ÆÛ¿¡ ÀÇÇÏ¿© ÇÁ·Î±×·¥µÇ¸ç, ¶ÇÇÑ ½ÇÁ¦ÀûÀ¸·Î ·Îº¿ÀÌ ±â¾ïÇØ¾ß ÇÏ´Â °æ·Î¸¦ µû¶ó¼ ÆÈÀ» ½ÇÁ¦ÀûÀ¸·Î À̲ø¾î °£´Ù. ·Îº¿Àº ÇÁ·Î±×·¡¸Ó°¡ ¸Ó´Ïǽ·¹ÀÌÅ͸¦ ¿òÁ÷ÀÌ´Â Á¤È®ÇÑ °æ·Î»Ó¸¸ ¾Æ´Ï¶ó ¼Óµµ±îÁöµµ ±â¾ïÇÑ´Ù.
¸¸¾à ÇÁ·Î±×·¡¸Ó°¡ ÆÈÀ» ¾ÆÁÖ ÃµÃµÈ÷ ¿òÁ÷ÀÌ·Á¸é, ¼Óµµ´Â Á¦¾î Äֿܼ¡¼ Á¶ÀýµÉ ¼ö ÀÖ´Ù. ¼Óµµ¸¦ ¹Ù²Ù´Â °ÍÀº ·Îº¿ ÆÈÀÇ °æ·Î¿¡ ¿µÇâÀ» ³¢Ä¡Áö ¾Ê´Â´Ù.
¿¬¼Ó°æ·Î Á¦¾î ·Îº¿Àº ½ÇÁ¦·Î ÁöÁ¡°£ Á¦¾î ·Îº¿ÀÇ ÇÑ ÇüÅÂÀÌ´Ù. ·Îº¿ÀÌ ÇÁ·Î±×·¥¿¡¼ ¹è¿ü´ø °Í¿¡ µû¶ó, Á¦¾î±â´Â ¸Ó´Ïǽ·¹ÀÌÅÍÀÇ À§Ä¡¸¦ ÃÊ´ç ¼ö¹é ¹ø Á¤µµ·Î Á¶»çÇϰí, ³ªÁß¿¡ Àç»ý¿¡ ´ëÇÑ °¢ ÁöÁ¡À» ¸Þ¸ð¸®¿¡ º¸°üÇÑ´Ù. ±×°ÍÀº Ç¥ÁØÁöÁ¡°£ Á¦¾î ·Îº¿ÀÇ ¸Þ¸ð¸®¿¡ ¼öõ °³ÀÇ ÁöÁ¡µéÀ» ÇÁ·Î±×·¥ÇÏ´Â °Í°ú À¯»çÇÏ´Ù. ¿¬¼Ó°æ·Î Á¦¾îÀÇ ·Îº¿Àº ½ºÇÁ·¹ÀÌ µµÀå, ¾ÆÅ© ¿ëÁ¢, ¶Ç´Â ·Îº¿ °æ·Î¸¦ ÀÏÁ¤ÇÏ°Ô Á¦¾îÇÒ Çʿ䰡 ÀÖ´Â ´Ù¸¥ ÀÛ¾÷¿¡µµ ÈçÈ÷ »ç¿ëµÈ´Ù.
¿¬¼Ó°æ·Î Á¦¾î¿Í Ç¥ÁØÁöÁ¡°£ Á¦¾îÀÇ ÁÖ¿ä Â÷ÀÌÁ¡Àº, ÁöÁ¡°£ Á¦¾î°¡ ¼ö¹é ÁöÁ¡µéÀÇ ¸Þ¸ð¸®·Î Á¦ÇѵǴ ¹Ý¸é¿¡, ¿¬¼Ó°æ·Î Á¦¾î´Â ¼öõÀÇ ÇÁ·Î±×·¥ ÁöÁ¡À» ±â¾ïÇÏ´Â Á¦¾î´É·ÂÀÌ´Ù. ±×¸² 25 Àº µÎ ¹æ¹ý°£ÀÇ Â÷ÀÌÁ¡À» ¼³¸íÇϰí ÀÖ´Ù.

±×¸² 25 (a) ¿¬¼Ó°æ·Î Á¦¾î¿¡¼ ½Ç½Ã°£ ÇÁ·Î±×·¡¹Ö ÁöÁ¡µéÀÌ ÀÚµ¿ÀûÀ¸·Î ÇÁ·Î±×·¥µÈ´Ù. (b) ÁöÁ¡°£ Á¦¾î¿¡¼ »ý¼ºµÈ °æ·Î´Â ½±°Ô ¿¹ÃøµÇÁö ¾Ê´Â´Ù.
¿ÀÇÁ¶óÀÎ ÇÁ·Î±×·¡¹Ö (off-line programming) Àº ¿À´Ã³¯ ¸Å¿ì ³Î¸® ¾Ë·ÁÁø ´Ù¸¥ ¹æ¹ýÀÌ´Ù. ±×°ÍÀº ÄÄÇ»ÅÍ ¶Ç´Â ÇÁ·Î±×·¡¸Óºí Á¦¾î±â¸¦ »ç¿ëÇÏ¿© ±¸µ¿µÇ´Â ´Ü¼øÇÑ ¼ÒÇÁÆ®¿þ¾î ÇÁ·Î±×·¥ÀÌ´Ù. (¿ÀÇÁ¶óÀÎ ÇÁ·Î±×·¡¹Ö¿¡ ´ëÇÑ »ó¼¼ÇÑ ³»¿ëÀº 9 Àå¿¡¼ ³íÀÇµÉ °ÍÀÌ´Ù.)
·Îº¿ ½Ã½ºÅÛÀº º¸Åë±â¼ú ±×·ì°ú ÷´Ü±â¼ú ±×·ìÀ¸·Î ³ª´ ¼ö ÀÖ´Ù. ºñ·Ï ÀÌµé µÎ ±×·ìÀÇ Â÷À̰¡ ÀÚÁÖ ¸íÈ®ÇÏÁö ¾ÊÁö¸¸, ºÐ·ù´Â ´ÙÀ½ µÎ °¡Áö ¸ñÀûÀ» À§ÇÑ °ÍÀÌ´Ù. ù ¹øÂ°·Î Æø ³ÐÀº ¹üÀ§ÀÇ ½Ã½ºÅÛ°ú ÀÌ¿ë °¡´ÉÇÑ Æ¯Â¡µéÀ» ÁöÀûÇÑ´Ù. µÎ ¹øÂ°·Î ±×°ÍÀº ±¸ÀÔÀÚ¿¡°Ô »õ·Î¿î ¿ÀÆÛ·¹ÀÌÅÍ¿Í À¯Áöº¸¼ö Àü¹®°¡µéÀ» À§ÇØ ÇÊ¿äÇÑ ÈÆ·ÃÀÇ °µµ¸¦ Áö½ÃÇÑ´Ù.
º¸Åë±â¼úÀÇ ·Îº¿Àº °üÀýÀÇ »ó´ëÀûÀÎ À§Ä¡µéÀ» °¡¸®Å°±â À§ÇØ ¼º¸Á¦¾î¸¦ »ç¿ëÇÏÁö ¾Ê´Â´Ù. ±× ´ë½Å¿¡, ±×µéÀº °üÀýµéÀÇ ±¸µ¿ºÎÀÇ ÁÂÇ¥¸¦ ¾Ë°í ½Ã°£¿¡ µû¸¥ ½ÃÄö½º ÀåÄ¡¿Í ÇÔ²² ¸®¹ÌÆ® ½ºÀ§Ä¡³ª ±â°èÀû ¸ØÃãÀåÄ¡µéÀ» ¼³Á¤ÇÔÀ¸·Î½á Á¦¾îµÈ´Ù. ±×µéÀÇ Á¦¾î ½Ã½ºÅÛÀº °¢ ÃàÀÌ Åë»ó 2 °³ÀÇ Á¾Á¡µé±îÁö Á¦ÇѵǴ ÇÈ-Ç÷¹À̽º ÀÀ¿ë°ú °°Àº °£´ÜÇÑ ÀÀ¿ëºÐ¾ß¸¦ À§ÇÑ °ÍÀÌ´Ù. ±×¸² 3.6.1Àº ±×·¯ÇÑ ÀÀ¿ëÀ» ¼³¸íÇϰí ÀÖ´Ù; ±×·¯³ª ¸î¸îÀÇ ÇÈ-Ç÷¹À̽º ·Îº¿Àº 1 °³ ¶Ç´Â 2 °³ÀÇ Áß°£ Á¤Áö¹°À» °®°í ÀÖ´Ù; ±×·¯¹Ç·Î ±×°ÍµéÀº Á¤Áö-Á¤Áö (stop-to-stop) ¶Ç´Â °¡²û ¹ð-¹ð (bang-bang) À̶ó°í ºÒ¸®¾îÁö°ï ÇÑ´Ù.
÷´Ü±â¼úÀÇ ·Îº¿Àº ¼º¸Á¦¾î ½Ã½ºÅÛÀÌ´Ù; ±×°ÍµéÀº ´õ¿í´õ Á¤±³ÇÑ ¼¾¼¿Í º¹ÀâÇÑ ÇÁ·Î±×·¡¹Ö ¾ð¾îµéÀ» »ç¿ëÇÑ´Ù. ±×¸² 26 Àº ±×·¯ÇÑ ½Ã½ºÅÛÀ» ¼³¸íÇÑ´Ù. ¼öÄ¡Á¦¾î¿Í Áö´ÉÁ¦¾îÀÇ ¹üÁÖ¿¡¼ ÀÌ¿ëÇÒ ¼ö ÀÖ´Â µÎ°¡Áö ÇüŰ¡ ÀÖ´Ù.

±×¸² 26 ÷´Ü±â¼ú ·Îº¿À» »ç¿ëÇÑ ÀÚµ¿ Á¶¸³ÀÛ¾÷
¼öÄ¡Á¦¾î ·Îº¿Àº ±â°èºÎ°¡ Á¦¾îµÇ°í ¿µ¹®¼ýÀÚ µ¥ÀÌÅÍÀÇ Äڵ忡 ÀÇÇØ ÇÁ·Î±×·¥µÇ´Â ¼öÄ¡Á¦¾î (NC: numerical control) ±â°è (8Àå ÂüÁ¶) ¿Í °°ÀÌ ÇÁ·Î±×·¥µÇ°í µ¿À۵ȴÙ. ±× ·Îº¿Àº µðÁöÅÐ µ¥ÀÌÅÍ¿¡ ÀÇÇÑ ¼º¸Á¦¾îÀÌ´Ù. µÎ °¡ÁöÀÇ ±âº»Àû Á¦¾îÇüÅ´ ÁöÁ¡°£ Á¦¾î¿Í ¿¬¼Ó°æ·Î Á¦¾îÀÌ´Ù.
ÁöÁ¡°£ Á¦¾î ·Îº¿Àº ÇÁ·Î±×·¥Çϱ⠽±°í, ´õ Å« ºÎÇÏ¿î¼Û ´É·Â°ú ÀÛ¾÷°ø°£À» °¡Áø´Ù. ¿¬¼Ó°æ·Î Á¦¾î ·Îº¿µéÀº ÁöÁ¡°£ Á¦¾î ·Îº¿º¸´Ù ¹Ýº¹ Á¤¹Ðµµ´Â ÁÁÀ¸³ª ºÎÇÏ¿î¼Û ´É·ÂÀº ³·´Ù. ¸î¸î °íµî ·Îº¿Àº °æ·ÎÁ¦¾îÀÇ º¹ÀâÇÑ ½Ã½ºÅÛÀ» °¡Áö¸ç, ±×°ÍÀº Å« Á¤È®µµ·Î °í¼Ó À̵¿À» °¡´ÉÇÏ°Ô ÇÑ´Ù.
Áö´ÉÁ¦¾î ·Îº¿Àº Àΰ£ÀÌ ¼öÇàÇÏ´Â ¸î °¡ÁöÀÇ ±â´É°ú ÀÛ¾÷À» ¼öÇàÇÒ ¼ö ÀÖ´Ù. ±×°ÍÀº ¼¾¼ÀÇ °¨°¢¿¡ ÀÇÇØ ÀÛ¾÷°ø°£¿¡¼ÀÇ º¯ÈµéÀ» °¨ÁöÇÒ ¼ö ÀÖ´Ù. ¶ÇÇÑ, Áö´É ·Îº¿ (intelligent robot) Àº º¯ÈÇÏ´Â »óȲ¿¡ Áï½Ã·Î ´ëÀÀÇÒ ¼ö ÀÖ´Â ½Ã°¢ (ÄÄÇ»ÅÍ ½Ã°¢) °ú Ã˰¢ (touching) ´É·ÂµéÀ» Á¦°øÇÏ´Â °¢Á¾ ¼¾¼ ¹× ±× ¼¾¼ÀåÄ¡ ±â±¸¸¦ °®Ãß°í ÀÖ´Ù.
Àΰ£µé°ú ¸¶Âù°¡Áö·Î, ·Îº¿Àº Áö°¢°ú ÆÐÅÏÀνĿ¡ ÀÇÇØ ȯ°æÀ» °üÂûÇϰí, Æò°¡ÇÑ´Ù. ±×°ÍÀº ±×¶§ ´ÙÀ½ ¿òÁ÷ÀÓ¿¡ ´ëÇÑ ÀûÀýÇÑ °áÁ¤À» Çϰí, °è¼Ó ÁøÇàÇÑ´Ù. ±× ¿îÀüÀÌ ¸Å¿ì º¹ÀâÇϱ⠶§¹®¿¡ ±× ¿òÁ÷ÀÓÀ» Á¦¾îÇÏ´Â µ¥´Â ¼º´ÉÀÌ ÁÁÀº ÄÄÇ»ÅͰ¡ ÇÊ¿äÇϰí, ±× Çൿµé¿¡ ÀÀ´äÇϱâ À§ÇØ ´õ¿í´õ Á¤±³ÇÑ ¼¾¼ÀåÄ¡°¡ ÇÊ¿äÇÏ´Ù.
Æø ³ÐÀº ¿¬±¸´Â º¸´Â "´«"°ú Ã˰¢ÀÇ "¼Õ°¡¶ô"À» ·Îº¿¿¡ ¾î¶»°Ô ÀåÂøÇÏ´À³Ä¿¡ ¿¹ÀüºÎÅÍ ¾ÆÁ÷µµ °ü½ÉÀ» °®°í ÀÖ´Ù. ·Îº¿µéÀÌ ÀÀ´äÇϰí, ÀûÀÀÇϰí Ã߸®Çϰí, º¯È¿¡ ÀûÀýÈ÷ ´ëÀÀÇÒ ¼ö ÀÖµµ·Ï ÇÏ´Â ÀΰøÁö´É (AI: artificial intelligence) Àº Áö´É ·Îº¿ÀÇ Áö³à¾ß ÇÒ ±âº»ÀûÀÎ ´É·ÂÀÌ´Ù.
ºñ¾àÀûÀÎ ¹ßÀüÀ¸·Î ÀÎÇÏ¿© ·Îº¿Àº ´õ¿í´õ Àΰ£Ã³·³ ÇൿÇÒ °ÍÀ̶ó´Â °¡Á¤À» ÇÒ °ÍÀ̸ç, ¶ÇÇÑ ¹Ù´Ú À§ÀÇ ¿©·¯ °¡Áö ±â°èµé°ú Àåºñµé »çÀ̸¦ Ãæµ¹À» ÇÇÇÏ¿© ¿òÁ÷ÀÌÇÏ´Â °Í; Á¤È®ÇÑ ¿ø·á¿Í °øÀÛ¹°À» ÀνÄÇÏ°í ¼±ÅÃÇÏ´Â °Í; °¡°ø ¶Ç´Â °Ë»ç¸¦ À§ÇÏ¿© °øÀÛ¹°À» ±â°è¿¡ ¿î¹ÝÇÏ´Â °Í; ºÎǰµéÀ» ÃÖÁ¾ Á¦Ç°À¸·Î Á¶¸³ÇÏ´Â °Í°ú °°Àº ÀÛ¾÷À» ¼öÇàÇÒ °ÍÀÌ´Ù. ±×·¯ÇÑ ÀÛ¾÷¿¡¼ ·Îº¿ À̵¿ÀÇ Á¤È®µµ¿Í ¹Ýº¹ Á¤¹Ðµµ´Â Áß¿äÇÑ °í·Á»çÇ×ÀÌ´Ù. Áö´É ·Îº¿µéÀÇ ÀÀ¿ë °¡´É¼ºÀº Àΰ£ÀÇ »ó»ó·Â°ú µ¶Ã¢¼º¸¸ ÀÖ´Ù¸é ¹«ÇÑÇÒ °ÍÀÌ´Ù. (10Àå¿¡¼ °íµî ·Îº¿¿¡ ´ëÇÏ¿© ¼¼ºÎÀûÀ¸·Î ³íÀÇÇÑ´Ù.)
ÀÌ ÀåÀº ·Îº¿ ºÐ·ùÀÇ ÀϹÝÀûÀÎ °³³äµéÀ» ¼Ò°³Çß´Ù. ÀÌ ÀåÀº ÀÚÀ¯µµ, µ¿·Â °ø±ÞÀåÄ¡, Á¦¾î½Ã½ºÅÛ°ú °æ·ÎÁ¦¾î¸¦ °í·ÁÇÏ¿© ¸ðµç À¯ÇüÀÇ ·Îº¿ ÆÈÀÇ ±âÇÏÇаú ÇüÅ¿¡ ´ëÇÑ °³¿ä¸¦ Á¦°øÇß´Ù. ¾ÕÀå¿¡¼ ±â¼úÇÑ ÆÈ ±âÇÏÇÐÀº ÇöÀç 5 °³ÀÇ ±âº»Àû Çü»ó, Áï Á÷±³ ÁÂÇ¥Çü, ¿øÅë ÁÂÇ¥Çü, ±¸ ÁÂÇ¥Çü, °üÀýÇü°ú SCARA ·Î ºÐ·ùÇÒ ¼ö ÀÖ´Ù. °¢ Çü»ó¿¡ ´ëÇÏ¿© ÀÛ¾÷°ø°£ÀÇ ±âÇÏÇÐ, Àå´ÜÁ¡°ú ÀüÇüÀûÀÎ ÀÀ¿ëµéÀ» ±â¼úÇÏ¿´´Ù. Ç¥ 1 Àº 5 °³ÀÇ ±âº»Àû Çü»óµéÀ» ¿ä¾àÇÑ´Ù.
·Îº¿½Ã½ºÅÛÀÇ ÆÈ¿¡ À§Ä¡ÇÏ´Â 3 °³ÀÇ ÀÚÀ¯µµ´Â ȸÀüÀ̵¿, ¹æ»çÀ̵¿°ú ¼öÁ÷À̵¿ÀÌ´Ù. ¼Õ¸ñ¿¡ À§Ä¡ÇÏ´Â 3 °³ÀÇ ±âº»¿îµ¿Àº ÇÇÄ¡, ¿ä¿Í ·ÑÀÌ´Ù.
ÇöÀçÀÇ ·Îº¿¿¡ »ç¿ëµÇ´Â 4 °¡ÁöÀÇ µ¿·Â °ø±Þ ÀåÄ¡´Â Àü±â, À¯¾Ð°ú °ø¾Ð ¹× Àü±â±â°èÀÌ´Ù.
·Îº¿ ¸Ó´Ïǽ·¹ÀÌÅͰ¡ ÀÛ¾÷°ø°£ÀÇ ¾î¶² ÁöÁ¡¿¡¼ ´Ù¸¥ ÁöÁ¡À¸·Î À̵¿Çϵµ·Ï ÇÏ´Â 4 °¡ÁöÀÇ ¿îµ¿, Áï ºñƲ¸² ȸÀü¿îµ¿, °üÀý º¸°£¿îµ¿, Á÷¼± º¸°£¿îµ¿°ú ¿øÈ£ º¸°£¿îµ¿ÀÌ ÀÖ´Ù.
·Îº¿¿¡´Â Á¦ÇÑ ½ÃÄö½º, ÁöÁ¡°£, Á¦¾î°æ·Î¿Í ¿¬¼Ó °æ·ÎÀÇ 4 Á¾·ùÀÇ Á¦¾î°¡ ÀÖ´Ù. ·Îº¿ ½Ã½ºÅÛÀº º¸Åë±â¼ú°ú ÷´Ü±â¼ú ±×·ìÀ¸·Î¼ º¸Åë ºÐ·ùµÈ´Ù.